STRATEGII IN DOMENIUL GOSPODARIRII APELOR
STRATEGII IN DOMENIUL GOSPODARIRII APELOR 1 Principii si concepte adoptate in cazul strategiei in domeniul Gospodaririi Apelor Scopul strategiei in domeniul apei consta in sugerarea de masuri si actiuni care sa asigure: Ø&nCiteste tot ... 3452 cuvinte
Dimensiune medie - fara imagini |
 |
 |
CALITATEA FACTORILOR DE MEDIU DIN TARA NOASTRA
Calitatea factorilor de mediu din tara noastra 1. Fondul funciar dupa modul de folosinta la sfarsitul anului 2003 Suprafata totala a fondului funciar Suprafata agricola Arabil PasuniCiteste tot ... 2084 cuvinte
Dimensiune medie + cu poze |
 |
 |
Programe Uniunii Europene pentru agricultura
Programe Uniunii Europene pentru agricultura 1. Aspecte generale Romania a inregistrat progrese semnificative in alinierea legislatiei in vigoare cu acquis-ul comunitar, in special in domeniul veterinar si fiCiteste tot ... 7592 cuvinte
Dimensiune mare - fara imagini |
 |
 |
PROBLEMELE ACTUALE ALE OMENIRII
PROBLEMELE ACTUALE ALE OMENIRII (Cursul cuprinde practic o buna parte din problemele ce se vor aborda in cursul semestrului) PROBLEME GLOBALE PROBLEME DE MEDIU • SUPRAPOPULARECiteste tot ... 764 cuvinte
Dimensiune mica - fara poza |
 |
 |
Conceptul de dezvoltare durabila si strategia de protectie a mediului
Conceptul de dezvoltare durabila si strategia de protectie a mediului Pentru depasirea efectelor crizelor ambientale, omenirea de astazi propune modelul de dezvoltare durabila Dezvoltarea durabila = dezvoltare fara epuizarea resurseloCiteste tot ... 423 cuvinte
Dimensiune mica - fara poza |
 |
 |
Marcarea ecologica a produselor agroalimentare
Marcarea ecologica a produselor agroalimentare Pentru a favoriza realizarea de produse si servicii cu impact ambiental minim, intr-o serie de tari au fost introduse sisteme de marcare ecologica recunoscandu-se, in acelasi timp, necesitCiteste tot ... 6375 cuvinte
Dimensiune mare + cu imagini |
 |
 |
INSTRUMENTE ADMINISTRATIVE PENTRU PROTECTIA MEDIULUI
Instrumente administrative pentru protectia mediului 1. Tipuri de instrumente In politica de protectie a mediului este necesar sa fie stabilite prioritatile asupra carora se vor indrepta planurile de actiune. Pentru ca politica de mediu saCiteste tot ... 1866 cuvinte
Dimensiune medie - fara imagini |
 |
 |
Programe ale Uniunii Europene pentru Romania in domeniul protectiei mediului
Programe ale Uniunii Europene pentru Romania in domeniul protectiei mediului (Delegation of the European Commission in Romania – June 2002) 1. Cadrul actual Tratatul de la Maastricht evidentiaza protectia mediului caCiteste tot ... 4336 cuvinte
Dimensiune medie - fara imagini |
 |
 |
PLANURILE DE ACTIUNE PENTRU PROTECTIA MEDIULUI (P.A.P.M.) SI ANALIZA COST - BENEFICIU (A.C.B.) A IMPLEMENTARII LOR
Planurile de Actiune pentru Protectia Mediului (P.A.P.M.) si Analiza Cost - Beneficiu (A.C.B.) a implementarii lor Pentru a fi eficiente, P.A.P.M. trebuie sa indeplineasca urmatoarele criterii: • sa fixeze tinte operationaleCiteste tot ... 278 cuvinte
Dimensiune mica - fara poza |
 |
 |
Principii, concepte si instrumente in strategia de productie a mediului
Principii, concepte si instrumente in strategia de productie a mediului 1. Principii Principii ale strategiei de protectie a mediului I. Interne a)Protectia mediului este un element esential al politicii economice si socCiteste tot ... 261 cuvinte
Dimensiune mica - fara poza |
 |
 |
Crize ambientale
Crize ambientale Cu toata diversitatea lor, problematicile de mediu depind in principal de 3 factori care se interactioneaza: • Suprapopulatie • Epuizarea resurselor • Poluarea. Rata de cresCiteste tot ... 304 cuvinte
Dimensiune mica - fara poza |
 |
 |
LEGISLATIA INTERNATIONALA SI ROMANEASCA IN DOMENIUL PROTECTIEI MEDIULUI
LEGISLATIA INTERNATIONALA SI ROMANEASCA IN DOMENIUL PROTECTIEI MEDIULUI 1. Principalele reglementari internationale ale mediului Pe masura ce oamenii au devenit constienti de impactul degradarii mediului, au aparut o serie de reglemenCiteste tot ... 1175 cuvinte
Dimensiune mica - fara poza |
 |
 |
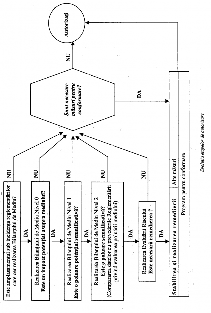
EVALUAREA IMPACTULUI DE MEDIU SI INTOCMIREA BILANTURILOR DE MEDIU
Evaluarea impactului de mediu si intocmirea bilanturilor de mediu 1. Tipurile de bilant de mediu Cunoasterea detaliata a tuturor modificarilor pe care activitatea economico – sociala le provoaca in mediul inconjurator este foarte utila pentCiteste tot ... 1257 cuvinte
Dimensiune mica + cu imagini |
 |
 |
MONITORINGUL MEDIULUI
Monitoringul mediului 1. Conceptul de monitoring al mediului Monitoringul mediului reprezinta un ansamblu de operatiuni privind supravegherea, evaluarea, prognozarea si avertizarea in legatura cu evolutia sistemelor naturale, cu scopul inteCiteste tot ... 4781 cuvinte
Dimensiune medie - fara imagini |
 |
 |
Politica de calitate a produselor alimentare in procesul de aderare a Romaniei la Uniunea Europeana
Politica de calitate a produselor alimentare in procesul de aderare a Romaniei la Uniunea Europeana In prezent Romania se afla in procesul de tranzitie spre economia de piata si depune eforturi sustinute pentru elaborarea uCiteste tot ... 2659 cuvinte
Dimensiune medie - fara imagini |
 |
 |
Poluarea
Poluarea Problema raportului dintre om si mediul ambiant nu este noua. Ea a aparut o data cu cele dintai colectivitati omenesti, deoarece omul cu inteligenta si spiritul creator care il definesc, nu s-a multumit cu natura asa cum era ea, ci a pCiteste tot ... 5946 cuvinte
Dimensiune mare + cu imagini |
 |
 |
Politica comunitara referitoare la mediul ambiant
Politica comunitara referitoare la mediul ambiant 1.1. Politica comunitara referitoare la calitatea aerului ambiant Politica Comunitatii Europene vizand ameliorarea sau mentinerea calitatii aerului ambiant existaCiteste tot ... 1011 cuvinte
Dimensiune mica - fara poza |
 |
 |
PROBLEME ACTUALE ALE OMENIRII
Probleme actuale ale omenirii EPOCA ACTUALA – EPOCA A CONTRASTELOR Fig. 1. Balanta problemelor actuale ale omenirii Marile probleme aleCiteste tot ... 1764 cuvinte
Dimensiune medie + cu poze |
 |
 |
POLITICI DE MEDIU
Politici de mediu 1. Domeniile politicii de mediu Cauza principala a degradarii ecosferei tine de formele de productie si de consum ale societatii de tip industrial. Solutia trebuie cautata tot de pe pozitii economice, fara aCiteste tot ... 522 cuvinte
Dimensiune mica - fara poza |
 |
 |
GESTIONAREA DESEURILOR RADIOACTIVE GENERATE DIN OPERAREA REACTORILOR NUCLEARI
UNIVERSITATEA POLITEHNICa BUCUREsTI FACULTATEA DE ENERGETICa TEMA PROIECTULUI DE DIPLOMa STUDIU PRIVIND CERINTELE TEHNICE SPECIFICE GESTIONARII DESEURILOR RADIOACTIVE GENCiteste tot ... 15379 cuvinte
Dimensiune mare + cu imagini |
 |
 |
Alte pagini