| CATEGORII DOCUMENTE |
| Demografie | Ecologie mediu | Geologie | Hidrologie | Meteorologie |
1. Tipurile de bilant de mediu
Cunoasterea detaliata a tuturor modificarilor pe care activitatea economico - sociala le provoaca in mediul inconjurator este foarte utila pentru propunerea unor masuri adecvate de protectie. Studiile privind impactul unor activitati asupra mediului se fac inainte de inceperea activitatii (respectiv in faza de proiect) fie in perioada de activitate cand se pot face bilanturi de mediu sau activitati de audit ecologic.
Identificarea, estimarea si aprecierea fenomenelor ecologice cuprinde mai multe tipuri de activitati care se pot grupa in conceptul "Evaluarea impactului ecologic" - (E/E).
Exista mai multe definitii ale principalelor actiuni care intra in aceasta sfera, dintre care le vom prezenta pe cele mai importante.
Studiul de impact reprezinta investigarea stiintifica a efectelor complexe ce rezulta sau ar rezulta din relatia unei activitati ce se intentioneaza sa fie promovata cu mediul inconjurator, in vederea recomandarilor masurilor de minimalizare a efectelor negative a acestei relatii in cadrul obtinerii acordului de mediu. Rezulta ca studiile de impact se realizeaza inaintea intrarii in functiune a unui obiectiv.
Bilantul de impact reprezinta procedura de a obtine informatii asupra cauzelor si consecintelor efectelor negative, cumulate, prezente, anterioare si anticipate, care fac parte din actiunea de autorizare a unei activitati existente.
Pentru intocmirea bilantului de mediu exista mai multe etape sau proceduri in functie de volumul de informatii necesar autorizarii, stabilirii volumului noxelor etc. Putem astfel identifica urmatoarele proceduri:
Bilantul de mediu de nivel 0 (BM 0). Este alcatuit dintr-o fisa de verificare care contine elemente caracteristice activitatii si care permite autoritatii de mediu competente sa identifice si sa stabileasca necesitatea efectuarii unui bilant de mediu sau de privatizare a unei societati comerciale.
Bilantul de mediu de nivel 1 (BM I). Studiul de mediu consta din culegerea de date si documentare (fara prelevare de probe si fara analize de laborator), care include toate elementele analizei tehnice a aspectelor de mediu pentru luarea unei decizii privind dimensionare impactului de mediu potential sau efectiv de pe un amplasament.
Bilantul de mediu de nivel 2 (BM II). Se obtine din investigatii asupra unui amplasament, efectuate in cadrul unui bilant de mediu, pentru a cuantifica dimensiunea poluarii prin prelevari de probe si analize fizice, chimice sau biologice ale factorilor de mediu[1].
2. Componentele si etapele evaluarii impactului ecologic
Impactul ecologic poate fi evaluat printr-o multitudine de activitati care se pot desfasura in diferite etape. In general, acestea sunt urmatoarele:
a) Analiza preliminara. In aceasta etapa se identifica, se selecteaza obiectivele si se delimiteaza aria impactului ecologic.
b) Etapa identificarii efectelor in care se analizeaza sistemul integral si pe componentele care genereaza impactul de mediu, ariile de impact si se descriu efectele potentiale sau reale.
c) Etapa estimarii efectelor, in special a marimii si importantei acestora.
d) Etapa proiectarii actiunilor si strategiilor in care sunt identificate actiunile menite sa contracareze efectele negative sau care stimuleaza efectele pozitive si sunt proiectate strategiile de actiune (etape, fonduri).
e) Evaluarea complexa si propunerea planului de actiune, comunicarea si mediatizarea rezultatelor, transmiterea acestora la factorii de decizie.
3. Structura unui raport de evaluare a impactului ecologic
Un raport de evaluare care sa dea dimensiunea si impactul de mediu al unei activitati trebuie sa urmareasca in general un mod de intocmire care sa-l poata face util si usor accesibil. De aceea, pentru acest gen de rapoarte s-a standardizat urmatorul mod de intocmire:
Titlul si informatii generale
Rezumatul raportului
Cuprinsul raportului
Acesta va cuprinde urmatoarele capitole: scopul si necesitatea actiunii, alternativele incluzand actiunile propuse, consecintele ecologice ale alternativelor, comentarii, lista colaboratorilor.
4. Continutul cadru al studiilor de impact
a) Date generale: profilul de activitate si denumirea firmei, amplasamentul, titularul activitatii sau al proiectului;
b) Descrierea activitatii propuse
c) Amplasarea in mediu.
d) Asezarile umane si alte obiective de interes public:
e) Sursele de poluanti si protectia factorilor de mediu:
f) Impactul produs asupra mediului inconjurator
Pentru fiecare factor de mediu (respectiv pentru ape, aer, vegetatie si fauna terestra, pentru sol si subsol, pentru asezarile umane si alte obiective de interes) se stabilesc urmatoarele:
- dispersia poluantilor si tipul acestora;
- aria de extindere si modificarile calitative ale poluantilor;
- modul specific de actiune al poluantilor si posibilele efecte, negative sau pozitive;
- modul de reducere a impactului produs de poluare asupra fiecarui factor de mediu (prin tehnologie, lucrari, dotari si masuri speciale sau suplimentare pentru retinerea poluantilor).
g) Evaluarea impactului si concluzii
Se vor formula concluzii privind gradul de afectare al factorilor de mediu si al sanatatii populatiei, precum si asupra efectelor benefice ale proiectului sau activitatii.
Studiul se incheie cu recomandari fundamentale legate de imbunatatirea proiectului, eventual de schimbarea amplasamentului, introducerea de tehnologii alternative, dotari si amenajari speciale sau chiar, in cazuri justificate, de renuntare la activitatea propusa.
5. Intocmirea bilanturilor de mediu
Bilanturile de mediu reprezinta procedura de a stabili pentru un agent economic sau o activitate in general cauzele si consecintele efectelor negative, anterioare si prezente asupra mediului, ca urmare a activitatii sale.
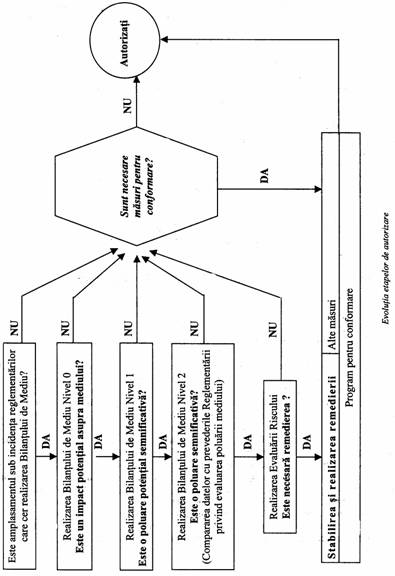
Se intocmesc trei tipuri de bilant de mediu (BM 0, BM I si BM II), in ordine, respectiv in cascada, in functie de impactul potential sau real al fiecarei activitati. In situatia in care nu exista un impact negativ asupra mediului se poate elibera autorizatia de functionare doar dupa completarea formularelor cerute de BM 0. In situatia in care exista un impact potential de mediu, se solicita BM de nivel 1 sau 2. Acestea constau in identificarea informatiilor privind poluarea, culegerea, analizarea si interpretarea datelor si elaborarea unor rapoarte specifice.

Continutul bilantului de mediu 0 (BM 0)
BM 0 se caracterizeaza prin urmatoarele:
cerinte minime cand este putin probabila existenta unui impact;
se executa de catre titularul activitatii care va completa o fisa tip (relativ simpla ca volum de informatii);
informatiile prezentate vor fi sustinute cu acte, eventual cu dovezi fotografice.
In absenta impactului de mediu se poate elibera autorizatia iar la un impact potential de mediu se solicita BM I sau II.
Continutul bilantului de mediu I
In termeni generali, sectiunile bilantului de mediu de nivel I trebuie sa identifice domeniile in care impactul asupra mediului produse de amplasamentele si instalatiile analizate, poate fi semnificativ. Lucrarile se vor concentra asupra modului de conformare cu prevederile legislatiei existente sau in curs de adoptare.
Domeniile de analiza ale BM I sunt urmatoarele:
utilizarea terenului in zona amplasamentului obiectivului in vecinatatea acestuia;
istoricul zonei;
posibilitatea poluarii solului;
depozitarea deseurilor;
condensatori / transformatori electrici;
securitatea zonei;
masuri de paza impotriva incendiilor;
protectia muncii si igiena locului de munca;
evacuarea apelor uzate;
emisii atmosferice;
impactul zgomotului;
proximitatea retelelor de inalta tensiune.
Finalizarea bilantului de mediu de nivel I se face prin raportul la bilant care reprezinta o sinteza si analiza tehnica de esenta care sa permita autoritatii de mediu sa aprecieze in ce masura activitatea analizata prezinta sau nu dovada unei poluari potentiale semnificative. Raportul nu trebuie sa reia informatiile primare prezentate in raport ci sa faca un rezumat succint al acestora, sa interpreteze datele si sa formuleze concluzii si recomandari.
Continutul bilantului de mediu II
Asa cum am aratat in bilantul de mediu I studiile sunt legate de aspecte care reies in urma analizei fara a se proceda la prelevari de probe si analiza de laborator a acestora.
Bilantul de mediu de nivel II reprezinta o etapa superioara de analizare a unei activitati in raport cu cerintele de mediu. In aceasta etapa se adancesc si se clarifica natura si intensitatea poluarii prin prelevari de probe si analize corespunzatoare.
Conditiile de prelevare stabilesc sectiunile (respectiv amplasamentele punctelor de prelevare), frecventa de prelevare pentru fiecare zona sau factor, numarul de probe in total etc. Toate aceste elemente vor tine cont de efortul financiar necesar pentru toate analizele relevante, durata tuturor activitatilor impuse de realizarea acestor cerinte, dotarea materiala si aparatura necesara pentru realizarea unor astfel de investigatii.
Finalizarea evaluarii de nivel BM II se face prin raportul la bilantul de mediu. Acesta este organizat in doua mari parti:
- Descrierea investigatiilor si rezultatelor acestora;
- Concluzii si recomandari privind solutiile de reducere a poluarii.
In prima parte se prezinta sectorial (sol, apa subterana, apa de suprafata, materiale de constructie, probe de aer) descrierea precisa a tuturor investigatiilor si justificarea acestora, descrierea fiecarui sondaj si a tehnicilor de lucru, toate rezultatele analizelor efectuate si compararea acestora cu valorile din standardele nationale.
Finalizarea procedurii de autorizare a unei activitati consta in valorificarea rapoartelor la bilanturile de mediu prin intocmirea unui Program pentru conformare.
Necesitatea acestui program se stabileste de catre autoritatea de mediu cand este evidentiata o situatie de neconformitate raportata la standardele sau reglementarile in vigoare.
Programul pentru conformare este negociat intre Autoritatea de mediu si agentul economic care, de altfel, il intocmeste.
|
Politica de confidentialitate | Termeni si conditii de utilizare |
Vizualizari: 2368
Importanta: ![]()
Termeni si conditii de utilizare | Contact
© SCRIGROUP 2025 . All rights reserved