| CATEGORII DOCUMENTE |
| Animale | Arta cultura | Divertisment | Film | Jurnalism | Muzica | Pescuit |
| Pictura | Versuri |
Rutarea si comutarea semnalului audio si video
1.1. Matrice de comutare pe un singur nivel
Cu ajutorul sistemelor de comutare poate fi introduse în emisie imagini provenite de la diferite surse de semnal (din studio sau din exterior). Matricele de rutare si comutare pot fi analogice sau digitale, întelegând prin acesta semnale vehiculate sau prelucrate în aceste unitati sunt fie analogice fie digitale. În cazul prelucrarilor digitale, semnalele ce pot fi de tip serie sau paralele. Pentru semnalele video de exemplu, la o transmisie seriala se obtine o rata de 9 27 Mb/s=243 Mb/s, iar în cazul transmisiei paralele multiplexate o rata de 27 Mb/s (13.5 Mb/s Y + 6.75 Mb/s R-Y + 6.75 Mb/s B-Y) sau paralele pe 3x8 biti la 13.5 Mb/s. În matricele de comutare se recomanda folosirea codului serie, întru-cât exista o singura cale de semnal pentru o sursa de semnal video digital, în timp ce utilizarea codului paralel necesita 9 cai de semnal (8 biti video +1 bit semnal de tact). În matricele video se foloseste codul paralel care permite procesarea în timp real a semnalelor video digitale. Trecerea de la o forma la alta de semnal se face cu ajutorul interfetelor serie-paralel respectiv paralel-serie.
Selectarea unei surse de semnal Xi dintr-un numar oarecare Xn pentru a fi dirijata catre orice destinatie Yj dintr-un numar total Ym se realizeaza cu ajutorul unei matrice având n intrari si m iesiri. Structura sistemului de rutare poate fi realizata cu forma liniara sau ierarhica (cu 2 sau 3 nivele). Nodurile sunt realizate cu circuite de comutare rapide, care trebuie sa asigure atenuarea necesara atât între intrari cât si între iesiri (trebuie respectata o anumita impedanta între linii astfel încât diafonia sa fie minima).
Structura unei matrice este urmatoarea:

Figura 7.1 Structura unei matrice de comutare pe un singur nivel
Situatii ce trebuie evitate:
mai multe intrari sa fie legate împreuna pentru o singura iesire;
mai multe iesiri sa fie legate împreuna pentru o singura iesire;
cazuri de teren (practice) în care este legata intrarea unui echipament la propria lui iesire (bucle pozitive) pot determina defectiuni grave.
Aceste situatii vor fi evitate de catre un bloc de logica de comutare ce trebuie sa însoteasca echipamentul de comutare.
Exemplu practic:

Figura 7.2. Structura unei matrice de comutare pe un singur nivel
De exemplu nu sunt permise urmatoarele conexiuni:
|
VTR 1 O13 |
M1 O1 |
|
VTR 2 O14 |
M1 O2 |
|
VTR 3 O15 |
M1 O3 |
|
|
M1 O4 |
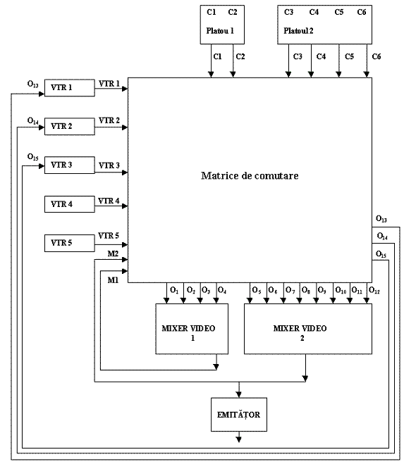
Conexiuni posibile pentru munca în studio cu 2 platouri de filmari în emisie:
|
C2 O2 |
VTR 1 O3 |
|
C3 O5 |
VTR 2 O4 |
|
C4 O6 |
VTR 5 O11 |
|
C5 O7 |
VTR 4 O12 |
|
C1 O1 |
|
|
M1 O10 |
|
|
M2 O15 |
|
Semnalele de intrare sunt prezentate pe barele orizontale X1…Xn, iar semnalele de iesire pe barele verticale Y1…Ym. La selectarea canalului de intrare Xi pe bara de iesire Yj în punctul de intersectie al barelor respective se face legatura electrica între aceste bare si se reface legatura precedenta de pe bara Yj.
Nodurile desfacute trebuie sa aiba o izolatie foarte buna pentru ca semnalele de intrare selectate sa nu se suprapuna peste semnalul selectat.
Conceptia matricei liniare este destul de simpla dar ea ridica probleme la capacitati mari (numar mare de intrari, respectiv iesiri). Numarul de noduri este n x m. Într-un centru mediu de TV, capacitatea matricei video poate ajunge la 100 intrari si 100 iesiri 10.000 puncte de încrucisare. De aceea matricele liniare folosesc atunci când se lucreaza cu capacitati reduse (de exemplu 16 intrari si 16 iesiri).
1.2. Matrice de comutare pe trei nivele
Matricele de capacitati mari se construiesc folosind matrice modulare de capacitati reduse, dispuse pe trei nivele. Matricea este definita de 9 coeficienti, în care un nivel contine a matrici cu b intrari si g iesiri.
a1 b2 g1
a2 b2 g2
a3 b3 g3
Se poate demonstra ca valorile obtinute coeficientilor a b g pentru a obtine un numar minim de puncte de încrucisare. Se determina din relatia:
(7.1)
unde:
n=a1 b1=numarul intrarilor;
m=a3 g3=numarul iesirilor.
Numarul punctelor de încrucisare este
egal cu:
(7.2)
Numarul minim punctelor de încrucisare:
(7.3)
Eficienta matricei cu 3 nivele fata de matricea liniara este data de coeficientii
(7.4)
(7.5)
Pentru o matrice patrata, în care numarul de intrari este egal cu numaril de iesiri, adica n=m=k, vom avea:
(7.6)
Daca se pune conditia R 1, aflam capacitatea matricei la care minimul punctelor de încrucisare al matricei liniare este egala cu cel al matricei cu 3 nivele. Din calcul k 24.
Având în vedere ca valorile a b g trebuie sa fie numere întregi si luând în consideratie partea constructiva, structura reala a unei matrice cu 3 necunoscute poate sa difere în functie de modelul matricei ales. De exemplu pentru:
n 128 si m 128 a1 b2 16; b1 g3 16; a2 b3 g1 16 si a3 g2 = 16.
Numarul punctelor de încrucisare este 7880, fata de 16384 punctele dintr-o matrice liniara de forma 128x128, deci R 0.46875.
O matrice cu trei nivele dispune de a2 trasee diferite între o intrare si o iesire, ceea ce permite ocolirea unui traseu defect în timpul exploatarii.
Aceasta operatie poate fi automat realizata utilizând un sistem de comanda de microprocesoare si un cod de identificare a surselor de semnal, transmis de pilda pe liniile 16 si 320.
În figura 7.3 este prezentata structura matricei 128 x 128, realizata pe trei nivele. Traseul îngrosat de pe schema indica un traseu posibil care face legatura între intrarea 7 si iesirea 16.
În figura 7.4. se da un exemplu de realizare a unei matrice 16 x 16, separatoare de intrare (SI) si separatoare de iesire (SE). SI are rolul de a realiza adaptarea de impedanta, axarea si întârzierea reglabila a semnalului video, pentru a egaliza diferentele de lungime a cablurilor dintre sursele de semnal si matrice. Separatoarele de iesire au rolul de a realiza o adaptare de impedanta si o egalizare a caracteristicilor de frecventa intrare-iesire. Semnalul de intrare sânt selectate catre iesiri prin intermediul comenzilor în cod aplicate la intrarile A,B,C,D.
Comanda matricei se realizeaza, de obicei, cu ajutorul unui sistem de microprocesoare sau cu un calculator . Sistemul de comutare pe durata impulsului de stingere pe verticala:
O problema distincta de ceea a sistemului este cea a comutarii semnalului în cazul unei rulari (caz în care nu conteaza cum se realizeaza comutarea cu sau fara desincronizari) apare în cazul nivelului video cu probabilitatea de comutare a surselor de semnal.
Pretentiile de aceasta data sunt mult mai mari, nu se accepta ca la iesire sa existe desincronizari ale semnalului. De acea semnalele ce vor fi comutati (de la o anumita intrare la o iesire) trebuie sa fie sincrone.

Figura 7.3 Structura unei matrice de comutare pe trei nivele

Figura 7.4. Structura detaliata a unei matrice de comutare 16 x 16

Figura 7.5. Comutarea fara respectarea sincronizarii
De aceea se va face pe perioada impulsurilor de sincronizare. Pentru sincronizarea semnalului se poate folosii un semnal de referinta general pentru studio (toate sursele se vor sincroniza dupa aceasta) sau un TBC pe intrarile mixerului video ce va sincroniza numai semnalul ce urmeaza a fi comutat cu semnalul ce este la un moment dat la iesire. Efectele tranzitorii pot fi eliminate printr-o prelucrare digitala a semnalului, conversia din analog în digital, dupa care comutarea va devenii un salt la o alta adresa de memorie din care se citeste noul semnal. Este cea mai buna solutie colectiva, dar si cea mai scumpa varianta (Detalii la mixerul video).
|
Politica de confidentialitate | Termeni si conditii de utilizare |
Vizualizari: 666
Importanta: ![]()
Termeni si conditii de utilizare | Contact
© SCRIGROUP 2025 . All rights reserved