Scrigroup - Documente si articole

     

HomeDocumenteUploadResurseAlte limbi doc
AgriculturaAsigurariComertConfectiiContabilitateContracteEconomie
TransporturiTurismZootehnie

Navigatie

Propulsorul cu aripioare voith schneider - elicea navala, caracteristici geometrice

Transporturi



+ Font mai mare | - Font mai mic



PROPULSORUL CU ARIPIOARE VOITH SCHNEIDER  - ELICEA NAVALA, CARACTERISTICI GEOMETRICE







Avantajele acestui propulsor:

constanta în functionare, indiferent de adâncimea apei

pot fi folosite în ape putin adânci (fluvii, delte etc.)

Dezavantajele constau în:

randamentul total este scazut în comparatie cu alte propulsoare

sunt foarte sensibile la navigatia pe mare agitata

la ruliu functioneaza defectuos.


2.     Propulsorul cu aripioare Voith Schneider


Este un propulsor rotativ cu ax vertical. Functioneaza la turatii reduse (la aprox. 25% din turatia unei elice navale de marime comparabila).

Acest tip de propulsor este folosit la navele cu manevrabilitate ridicata (remorchere de manevra etc.) si la nave la care tractiunea azimutala se poate modifica rapid (nave de foraj cu pozitionare dinamica, nave de cercetari oceanografice etc.).

Este alcatuit dintr-un platou rotativ în care sunt articulate pale cu axul de rotatie vertical. În timpul rotatiei unghiul de atac al palei este variabil fiind comandat de un excentric prin bielete. Pentru a genera împingere, fiecare pala verticala executa o miscare oscilatorie în jurul axei verticale proprii.


 


Avantajul major al acestui tip de propulsor este ca produce tractiune azimutala (aprox. 360 grade), printr-o simpla deplasare a excentricului. Daca excentricul are o pozitie axiala cu butucul, tractiunea este nula. Deplasându-l spre prova, tractiunea se orienteaza spre prova.


3.     Propulsorul azimutal Schottel


Este de fapt o elice montata pe o coloana verticala rotativa. Prin rotirea elicei în jurul axului vertical, în timpul functionarii, tractiunea devine azimutala (orice directie).

Acest tip de propulsor este folosit la nave ce necesita manevrabilitate crescuta (remorchere) sau nave ce necesita simplitate constructiva: bacuri, nave tehnice. In plus, apar si la navele rapide sau cele ce naviga în ape cu adâncime limitata.

Elicea este antrenata de motorul fix din interiorul navei prin transmisia în Z din cele doua trunchiuri conice. De obicei, elicea este situata într-o duza, astfel se combina elicea si cârma într-o singura instalatie ce se poate roti cu 360 grade.



1-  arbore orizontal de antrenare

2-  grup conic superior

3-  roata de antrenare coloana

4-  coloana

5-  arbore vertical de antrenare

6-  lagar

7-  grup conic inferior

8-  gondola

9-  arbore portelice

10-  fundul navei

11-  pala elicei

12-  motor rotire


4.     Propulsorul cu reactie (cu jet)


Este alcatuit dintr-o pompa axiala ce aspira apa de sub nava si o refuleaza prin pupa cu viteza mare în aer, în sens opus miscarii. Astfel se dezvolta o forta de reactie care reprezinta forta de propulsie aplicata navei.



Este folosit la navele rapide, pentru pescaje reduse sau la cele la care din motive constructive nu se poate monta alt tip de propulsor (de ex. aripi portante). Unul din principalele avantaje îl reprezinta zgomotul si vibratiile reduse în comparatie cu celelalte propulsoare. In plus, manevrabilitatea este deosebita iar faptul ca nu poate fi supraturat înseamna o durata de viata mai lunga.


5.     Propulsorul magneto-hidro-dinamic


Din p.d.v. constructiv, poate fi: cu electrozi sau cu inductie. Propulsorul cu inductie se bazeaza pe principiul motorului liniar, pentru a evita zgomotul bulelor degajate.

Acest tip de propulsie este întâlnita la bordul submarinelor nucleare. Avantajul major este ca este foarte silentios, nivelul de zgomot fiind mult mai redus dcât în cazul elicelor.

Daca într-o zona oarecare coexista un câmp electric si unul magnetic, coplanare si perpendiculare unul pe celalalt si injectam în zona respectiva un fluid conducator de electricitate (apa de mare), sub influenta celor doua câmpuri, purtatorii de sarcina se vor deplasa dupa regula mâinii stângi (forta Lorenz).

Pentru a obtine un randament acceptabil, electromagnetii sunt criogenici (superconductori). Dezavantajul este ca electromagnetii trebuie raciti cu azot lichid sau chiar heliu. Un alt dezavantaj apare datorita electrolizei apei (apariti bulelor de O2 si H2) evacuate prin tub. Aceasta se produce datorita câmpului electric aplicat.


6.     Elicea navala


Este cel mai raspândit propulsor naval, datorita randamentului acceptabil pentru o gama larga de viteze (η = 0,400,60).Reprezinta un propulsor rotativ cu ax longitudinal orizontal, amplasat la pupa si actionând propulsiv prin împingere. Elementul ce realizeaza tractiunea se numeste pala elicei . În acest scop, elicele au între 28 pale. Numarul de pale este z. Pentru navele mari, z = 4..7 pale, iar la ambarcatiuni z = 24 pale.

Elicele care se rotesc în sensul acelor de ceasornic, vazute din pupa se spune ca au „pas dreapta”. La navele cu doua propulsoare pupa elicea din Tribord e de obicei cu „pas dreapta” iar cea din babord este „pe stânga”. Astfel, elicele au sens de rotatie opus, spre afara.

La navele moderne de tipul portcontainere, ferryboat, spargatoare de gheata, elicele pot fi dispuse si la prova pentru a spori manevrabilitatea. Ele se numesc bow thrustere si creaza depresiune sub prova navei.


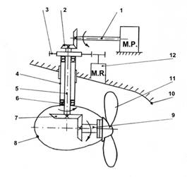
ELICEA NAVALA. CARACTERISTICI GEOMETRICE


Elicea este cel mai raspândit tip de propulsor naval. Din p.d.v. constructiv, orice elice este alcatuita din:

Butuc. Acesta este fixat prin pana sau presat pe arborele portelice si pus în legatura cu arborele motor (A.C. al MP) prin intermediul liniei de axe. El preia miscarea de rotatie a arborelui portelice.

Pe butuc sunt fixate rigid sau articulat un numar de pale ale elicei. Elicele care au palele rigide, fixe se numesc E.P.F., respectic cele cu palele articulate elice cu pale variabile E.P.V.


La E.P.V., schimbarea sensului de mars al navei se face numai prin reglarea unghiului palelor, fara a schimba sensul de rotatie al elicei. Dezavantajul E.P.V. consta în constructia complicata si siguranta mica în exploatare


Geometria elicei:


Geometria complexa a unei elice navale este caracterizata în principal de urmatorii parametrii:

1.     Diametrul elicei D – este diametrul circumferintei descrise de vârfurile palelor (D = 2R, R este raza elicei). Are valori cuprinse între 310 metri functie de dimensiunile navei. Depinde în principal de pescajul T al navei.

2.     Diametrul butucului d – în general are valoarea d = 0,2 R. Partea palei alaturata butucului se numeste radacina, iar iar partea exterioara vârf.

3.     Numarul de pale z – este un parametru important din p.d.v. al vibratiilor induse de elice. În general un numar impar de pale induce vibratii mai scazute decât elicele cu nr. par de pale. Un numar crscut de elice reduce de asemenea problema vibratiilor, dar mareste pretul de cost. Numarul de pale z nu trebuie sa fie un divizor comun al numarului i de cilindrii ai MP.

4.     Raportul de disc θ = AE/A0 – la navele comerciale, valorile uzuale sunt cuprinse între 0,4.1,2. AE este aria suprafetei desfasurate a palei, iar A0 este aria discului elicei. Valorile mari corespund navelor rapide iar cele mici navelor lente.

5.     Pasul geometric P – este distanta masurata pe generatoarea dintre 2 spire succesive ale elicoidei, altfel spus este distanta în sens axial cu care avanseaza curba elicoida la o rotatie completa în jurul axului sau geometric.



Fie o linie AB perpendiculara pe AA’. AB executa o miscare de rotatie în jurul lui AA’ cu viteza unghiulara uniforma si în acelasi timp o miscare de translatie în lungul lui AA’ cu viteza constanta. AB va forma astfel o suprafata elicoidala. Pasul P este chiar distanta AA’. Pasul poate fi constant sau variabil si se spune ca elicea este cu pas fix respectiv variabil.

6.     Raportul de pas P/D – are valori cuprinse în gama 0,6.2,0.

7.     Forma în plan a palei elicei poate fi:

Simetrica (elice Gawn)

Asimetrica (Wageningen)

Tip Kaplan cu vârful retezat – la elicele montate în duze. Pala este simetrica:



Cu skew – elice cu pala întoarsa inapoi

Supercavitanta – bordul de atac este curb iar cel de fuga este retezat rectiliniu.



Politica de confidentialitate | Termeni si conditii de utilizare



DISTRIBUIE DOCUMENTUL

Comentarii


Vizualizari: 3182
Importanta: rank

Comenteaza documentul:

Te rugam sa te autentifici sau sa iti faci cont pentru a putea comenta

Creaza cont nou

Termeni si conditii de utilizare | Contact
© SCRIGROUP 2025 . All rights reserved