| CATEGORII DOCUMENTE |
| Agricultura | Asigurari | Comert | Confectii | Contabilitate | Contracte | Economie |
| Transporturi | Turism | Zootehnie |
| Navigatie |
Instalatia de incarcare a marfurilor vrac in vagoane C.F.
1. Domeniul de utilizare:
Instalatia mobila de incarcare este destinata incarcarii cimentului vrac, a cerealelor si in general a materialelor solide vrac ce se afla sub forma de pulbere, in vagoane de cale ferata cu doua sau patru cisterne.
2. Partile componente ale instalatiilor folosite si functiile acestora.
Instalatia se compune din trei utilaje:
- Extractorul de fund ( Mecanism cu clapete );
- Instalatia de incarcare telescopica a materialului;
- Rigola pneumatica mobila.
Extractorul de fund.
Se compune din:
- sibar plan cu actionare manuala; prin intermediul acestuia extractorul se racordeaza la gura de evacuare a silozului. Inchiderea sibarului plan permite efectuarea de reparatii la extractor sau la alt utilaj ce urmeaza in flux;
- cutie de fluidizare; directia de curgere a materialului se schimba in interiorul cutiei, de la verticala la orizontala; aerul pentru fluidizare este introdus in cutie prin intermediul unui electroventil, a carui actionare este automata;
- corp cu cilindru obturator; avand functia unui robinet, actionat prin intermediul unui motoreductor cu comanda automata;
- un tronson scurt de rigola pneumatica; prin care materialul curge pana la utilajul urmator.
Instalatia de incarcare telescopica a materialului.
Se compune din doua armaturi metalice, una superioara, prin care se racordeaza la sasiul rigolei pneumatice si alta inferioara, prevazuta cu o garnitura de pasla, care se aseaza pe gura cisternei; cele doua armaturi sunt unite prin doua burdufuri din panza.
Garnitura tubulara se poate inchide la partea inferioara, obturand orificiul de trecere a materialului, cu un con, sustinut de troliu prin doua cabluri.
Rigola pneumatica mobila.
Se compune din :
- tren de rulare ( trei roti, dintre care una motoare ), actionate prin intermediul unui motoreductor melcat ; comanda se face de la butonul pentru deplasare inainte - inapoi;
- sasiu , constituind suportul celorlalte subansamble;
- rigole pneumatice, dispuse simetric fata de gura de descarcare, in lungul caii de rulare;
- dispozitiv pneumatic de etansare; se compune dintr-un colac de cauciuc ( panza cauciucata ) ce se poate umfla si astfel, ocupa interstitiul dintre doua suprafete, una plasata pe rigola, alta plasata pe calea de rulare; colacul este amplasat intr-un jgheab sudat de sasiu;
- ventilator, se compune din ventilatorul propriu-zis, care are rotor de aluminiu in carcasa de otel, actionare cu motor electric si transmisie cu curea trapezoidala. Ventilatorul functioneaza continuu debitand aer pentru urmatorii consumatori:
- rigola pneumatica;
- dispozitivul de etansare;
- dispozitivul avertizor de prea plin.
Intrucat consumatorii au nevoie de aer sub presiune, cu intermitenta, functie de ciclul de functionare, pe circuitul de aer al ventilatorului este intercalat un mecanism cu clapete, care poate obtura gura ventilatorului si simultan, pune consumatorii in legatura cu atmosfera.
Tot pe sasiul rigolei pneumatice mobile este montat si un troliu care functional, apartine utilajului urmator, adica garniturii tubulare.
- troliul se compune din motoreductor, cuplaje elastice, tamburi canelati de cablu si limitatori de cursa. Comanda se face atat manual ( prin apasare pe buton ) cat si automat, realizand ridicarea-coborarea garniturii tubulare.
Functionarea instalatiei de incarcare.
Functia extractorului de fund:
- extrage materialul din siloz;
- opreste alimentarea cu material;
- alimenteaza rigola pneumatica mobila.
Actionarea acestui utilaj se face: cu aer comprimat pentru fluidizare (compresor) si cu ajutorul unui motor electric pentru rotirea cilindrului obturator.
Functia instalatiei de incarcare telescopica a materialului:
- preia materialul de la rigola pneumatica mobila si-l transporta vertical in jos;
- compenseaza micile dezaxari intre gura mobila a rigolei pneumatice si gura de incarcare a cisternei ( max 0.05 );
- realizeaza variatia pe inaltime a pozitiei gurii de descarcare;
- permite ridicarea gurii de incarcare, in timp ce alimentarea cu material este oprita, cu 1.5 m pentru trecerea locomotivei;
- sesizeaza momentului umplerii cisternei;
- permite evacuarea aerului de fluidizare simultan cu actionarea cu materialul.
Actionarea acestui utilaj se face cu motor electric pentru ridicarea tubului telescopic ( troliu ).
Functia rigolei pneumatice mobila:
- preia materialul de la extractorul de fund si-l transporta pneumatic;
- realizeaza o gura de descarcare mobila in raport cu extractorul de fund;
- alimenteaza si sustine tubul telescopic.
Actionarea acestui utilaj se face cu aer comprimat pentru fluidificare (ventilator) si cu ajutorul unui motor electric pentru deplasare.
Instalatia poate fi condusa si supravegheata de un singur om. Comanda se realizeaza de la cutia de comanda.
Vagonul fiind amplasat sub siloz ( pe bascula, intr-o pozitie determinata ), se comanda deplasarea rigolei mobile pana cand gura de descarcare a garniturii telescopice se afla pe verticala gurii cisternei; in acest moment rigola se opreste automat, comandata de limitatorul de cursa plasat pe calea de rulare.
Deoarece exista doua tipuri de vagoane de cale ferata, cu doua reapectiv patru cisterne, sunt necesare doua pozitii de lucru ale rigolei mobile. Cele doua pozitii de lucru se realizeaza cu doi limitatori plasati pe calea de rulare; se comanda coborarea garniturii telescopice care se aseaza cu conul de etansare pe gura cisternei.Coborarea se opreste automat, comandata de limitatorul de cursa al troliului.
In acest moment se poate comanda pornirea alimentarii cu material. Prin apasarea pe butonul de pornire se realizeaza in mod automat un lant de operatiuni menite sa asigure curgerea controlata a materialului pana in cisterna. Redam in ceea ce urmeaza aceste operatiuni:
- deschiderea electroventilului de fluidizare a extractorului;
- deschiderea clapetei ventilatorului ( realizata cu un electromagnet; aerul sub presiune furnizat de ventilator trece in camerele inferioare ale rigolelor de unde, o parte trece in dispozitivul pneumatic de etansare, alta parte, prin tubul dispozitivului de prea-plin in atmosfera, iar cea mai mare parte trece prin stratul poros al rigolei pneumatice.);
- rotirea tamburului obturator al extractorului, in sensul deschiderii.
Materialul curge pe traseul extractor - rigola - garnitura telescopica - cisterna, pana la nivelul la care este plasat ajutajul dispozitivului de prea-plin.
Pe masura ce cisterna se umple cu material, aerul din interiorul acesteia este evacuat, prin burduful exterior al garniturii telescopice si prin rigola - cutia de evacuare, la conductele de colectare ale sistemului de desprafuire al sectiei.
Iesirea aerului prin acest ajutaj este impiedicata, ceea ce conduce la o crestere a presiunii pe traseul conductei, crestere detectata de presostat, care emite un semnal care opreste alimentarea cu material.
Operatiunile ce se succed comenzii de oprire sunt:
- inchiderea tamburului extractorului;
- oprirea fluidizarii;
- inchiderea clapetei ventilatorului; in acelasi timp se deschide o clapeta care pune fundul rigolei in legatura cu atmosfera, permitand desumflarea elementului pneumatic al dispozitivului de etansare;
- ridicarea garniturii tubulare.
Observatie importanta:
Dupa cum se observa din functionare, rigola pneumatica trebuie etansata la partea superioara, numai pe timpul alimentarii cu material, timp in care pozitia rigolei este fixa. Astfel etansarea a fost conceputa ca fiind intre organe fara miscare relativa.
Deplasarea rigolei va fi permisa numai dupa desumflarea elementului pneumatic de etansare ( un fel de colac din panza cauciucata ); timpul de desumflare se va stabili experimental ( se estimeaza a fi cam 2-3 minute ).
1. Debitul instalatiei 120 (t/h)
2. Cursa caruciorului 2 x 850 (mm) fata de axa gurii silozului
Inaltimea instalatiei 4840 (mm)
4.Viteza de ridicare a garniturii tubului 12 (m/min)
5. Cursa garniturii tubulare 1.5 (m)
6. Viteza de deplasare a caruciorului 12 (m/min)
7. Greutatea instalatiei
- cu sina de rulare 1265 (kg)
- fara sina de rulare 922 (kg)
8. motoare electrice
- motorul extractorului AFM 0.55 (kW/1000 rot/min)
- motorul troliului ASFM 0.55 (kW/ 1000 rot/min
- motorul mecanismului de deplasare
- motorul ventilatorului ASI 80-19 0.7 (kW/3000 rot/min)
9. Elemente de comanda si control.
- 2 electromagneti cod 650
- 2 limitatori de cursa cu brat.
- 1 limitator de cursa cu rotatie cod 4475.
- 1 presostat 855.70.00.
5. Tipuri de instalatii.Clasificare
La instalatia de transport, materialul cu granulatie fina si marunta este amestacata cu o cantitate determinata de aer, iar acest amestec de aer si material este pus in miscare ca orice fluid intr-o conducta tubulara prin aplicarea unei diferente de presiune intre inceputul si sfarsitul conductei. Ajuns la destinatie, acest amestec, este din nou separat in partile sale componente.
Materialul se capteaza intr-un recipient de primire si aerul se curata de praful ramas si apoi se reintoarce in atmosfera.
Instalatia trebuie deci sa cuprinda:
- un organ care efectueaza amestecul de aer si material;
- o conducta tubulara, cu coturile, racordurile si ramificatiile respective;
- un organ care separa materialul de aer la punctul de destinatie ( separator );
- un organ pentru curatirea aerului de praf, inainte de a fi redat in atmosfera;
- o pompa de aer, care produce diferenta de presiune necesara pentru transport.
Diferenta de presiune poate fi aplicata in doua feluri:
1. Se aplica la inceputul conductei o presiune mai mare decat cea atmosferica si aceasta presiune este consumata prin rezistenta la inantare si scade pana la presiunea atmosferica, la capatul celalalt al conductei. Pompa de aer este la inceputul conductei;
2. Se aplica la capatul conductei din dreptul punctului de destinatie o presiune sub cea atmosferica, la inceputul conductei fiind presiunea atmosferica. Exista deci de-a lungul conductei o subpresiune, care este cu atat mai mult sub presiunea atmosferica, cu cat se inainteaza spre punctul de destinatie. Pompa de aer este la sfarsitul conductei.
Exista si instalatii care, pe prima portiune a conductei lucreaza dupa principiul de la punctul 2 de mai sus, adica subpresiune, iar la restul conductei, lucreaza dupa principiul de la punctul 1, adica cu suprapresiune. In acest caz pompa de aer este plasata in acel punct al conductei, unde se trece de la subpresiune la suprapresiune.
Cele trei sisteme de transportoare pneumatice se numesc:
a) cu refulare;
b) cu aspiratie;
c) mixte.
5.1.Instalatia cu refulare ( fig 1 ).
Figura 1.
1 - alimentator
2 - separator
3 - curatitor
4 - compresor
5 - egalizator
6,7 - orificii
Pompa de aer ( compresorul ) 4 comprima aerul de la 2 - 6 atmosfere in recipientul egalizator 5, apoi aerul se amesteca cu materialul introdus in alimentatorul 1 si amestecul de aer si material inainteaza pe conducta pana la
separatorul 2 din care materialul iese prin orificiul 6, aerul trece din separator in curatitorul de aer si apoi iese in atmosfera.
Praful captat din aer de curatitorul 3, iese prin orificiul 7. In aval de alimentatorul 1,conducta se poate eventual ramifica in mai multe ramuri, ducand fiecare la separatoare si curatitoare in diferite locuri; sistemul cu refulare permite deci transportul si simultan din punctul de alimentare la mai multe puncte de receptie.
5.2. Instalatia cu aspiratie ( fig 2 ).

Figura 2
2 - separator
3 - curatitor
4 - pompa de aer
6,7 - orificii
Materialul este aspirat printr-o gura speciala de aspiratie direct din gramada ( in cazul figurii 2, dintr-un slep ).
Amestecul de aer si material trece prin separatorul 2, care retine si debiteaza materialul si aerul, curatat de curatitorul 3, este aspirat de pompa de aer 4, care il sufla in atmosfera.
Inaintea separatorului 2, pot fi montate eventual mai multe conducte cu cate o gura de aspiratie, care aspira din puncte diferite; sistemul cu aspiratie permite deci transportul din mai multe puncte spre un punct central de receptie.
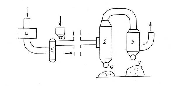
5.Instalatiile mixte ( fig 3 ).
Figura
2 - separator
3 - curatitor
4 - pompa de aer
5 - egalizator
Sistemul mixt consta in prima parte a sa dintr-o instalatie de transport cu aspiratie; pompa de aer 4, nu sufla insa aerul in atmosfera ci il refuleaza prin intermediul recipientului egalizator 5, in partea a doua a transportorului, care lucreaza cu suprapresiune.
Materialul separat de separatorul 2 este alimentat din nou in conducta de saprapresiune si dus la un al doilea separator 2, in care se face separarea finala la punctul de destinatie. Dupa prima separare in separatorul 2, aerul este curatat in curatitorul 3, inainte de a fi aspirat de pompa 4, iar dupa a doua separare aerul este curatat in atmosfera.
Acest sistem fix poate prelua materialul din mai multe puncte 1, ducandu-l la un singur separator 2, iar de aici il poate transporta eventual la mai multe separatoare 2, situate in diferite locuri.
Sistemele cu refulare, lucrand cu diferente de presiune mari, pot invinge distante si diferente de nivel mari.
Sistemul cu aspiratie ar putea teoretic lucra cel mult cu o diferenta de presiune de o atmosfera, daca s-ar merge pana la vid perfect, practic acest lucru nu este posibil, deoarece in acest caz nu ar mai exista aerul ca agent purtator al materialului si transportul pneumatic ar fi imposibil. De aceea, diferenta maxima de presiune este de ordinul a 0.5 atmosfere. Sistemul cu aspiratie nu poate deci lucra decat pe distante si inaltimi mici, in schimb prezinta avantajul ca este mai simplu si poate aspira din orice colt al interiorului unui vapor sau vagon.
Transportoarele pneumatice se utilizeaza pe scara mai larga la manipularea materialelor de masa, in special al cimentului, prafului de carbune si a cerealelor in porturi de insilozare.
Au fost atinse productivitati de 300 t/h si distanta de transport de 200 m. Ele au avantajul transportului in conducte ermetice pe trasee oricat de complicate si dezavantajul unui consum foarte ridicat de energie si a unei uzuri pronuntate a conductelor, care vin in contact cu materialul, in special cand acesta este abraziv.
Gura de aspiratie este sorbul, care consta dintr-un tub interior prevazut cu un manson exterior culisant, cu ajutorul caruia se poate regla inaltimea interstitiului inelar prin care intra aerul. Totodata, o parte a aerului trece si prin masa de material, amestecandu-se cu ea si facand ca acest amestec sa fie mai usor de antrenat de curentul care intra in tubul central.
5.4. Dimensionarea instalatiilor de transport pneumatice.
Calculul urmareste determinarea volumului si presiunii aerului necesar pentru transport ( pa baza acestor date se determina si puterea pompei de aer ), vitezei de transport si diametrului conductei de transport.
Pentru calcularea acestor marimi trebuie sa se determine mai intai trei marimi auxiliare si anume:
- viteza de plutire;
- concentratia amestecului;
- lungimea echivalenta.
Viteza de plutire este acea viteza a unui curent de aer dirijat vertical de jos in sus, la care o particula de material ramane in suspensie fara a se deplasa in sus sau in jos, presiunea dinamica a aerului echilibrand exact greutatea proprie a particulei.
Forta datorita presiunii dinamice a aerului se exprima prin relatia:
Fa = y ra A(va - vm)2 ( kgf ) unde:
y = coeficient adimensional, depinzand de forma si natura suprafetei particulei;
ra = densitatea aerului masurata in kgf x s2 / m4;
- va = viteza aerului masurata in m/s;
- vm = viteza particulei masurata in m/s;
- A = suprafata proiectiei particulei pe un plan perpendicular pe directia vitezei aerului, masurata in m2. In cazul plutirii particulei vm = 0.
Pentru o particula sferica de diametru d si greutate specifica gm , conditia plutirii se exprima prin relatia de echilibru:
=
,de unde rezulta:
=
,in care:
-
= viteza de
plutire,
-
= greutatea
specifica a particulei,
-
= greutatea
specifica a aerului.
S-a stabilit experimental ca pentru particule de forma
sferica,
= 0.23
deci,
= 
Daca particula este de forma oarecare, viteza de plutire capata expresia:
=
masurata in m/s (a), unde:
-
= diametrul
unei sfere de aceeasi greutate specifica totala ca particula aflata in
discutie,
-
=
coeficient care depinde de forma particulei, k = 0.64.
Este evident ca aerul nu trebuie sa aiba nicaieri in conducta, o viteza sub viteza de plutire, altmiteri, s-ar produce o separare a materialului din amestec.
Viteza aerului trebuie sa fie un multiplu al vitezei de plutire.
Concentratia amestecului m este raportul dintre greutatea materialului si greutatea aerului care trece in aceasi unitate de timp printr-un punct al conductei.
Notiunea de concemtratie in volum este utilizata mai rar. Pentru uniformitatea exprimarii se considera inceputul conductei la instalatiile cu aspiratie si sfarsitul conductei, la instalatiile cu refulare, adica, acele puncte unde aerul este la presiune atmosferica, cu viteza v0 corespunzatoare acestei presiuni si cu greutatea specifica medie: g = 1,2 kg/m In aceste conditii expresia concentratiei amestecului devine:
=
in care,
- Q = productivitatea instalatiei masurata in t/h,
- A = suprafata sectiunii interioare a conductei, masurata in m2,
-
= greutatea
specifica a aerului,
-
= viteza
aerului masurata m/s la p = 1 atmosfera.
Alegerea valorii concentratiei amestecului, depinde de natura si tipul concentratiei.
Lungimea echivalenta, a conductei de transport, este lungime orizontala, care se introduce in calcule si care, opune inaintarii aceeasi rezistenta ca si conducta reala, inclusiv coturile si bifurcatiile.
Se adauga separat in calcul, diferenta de presiune corespunzatoare diferentei de nivel dintre inceputul si sfarsitul conductei.
Expresia lungimii echivalente este deci:
L echiv =
+
+
+
masurata in m, in care:
-
= suma portiunilor orizontale ale conductei,
masurata in m ;
-
= suma
portiunilor verticale, masurata in m ;
-
= suma
lungimilor echivalente ale coturilor, masurata in m ;
-
= suma
lungimilor echivalente ale bifurcatiilor si evntual, ale altor rezistente
locale, masurata in m .
Pe baza cercetarilor experimentale, s-au stabilit valorile lungimilor echivalente ale coturilor de 90 de grade, functie de raportul dintre R0, al razei medii de curbura a cotului si di, diametrul interior al coturilor.
Lungimea echivalenta a unei bifurcatii cu clapeta poate fi luata ca fiind egala cu 8 m, la materialele aflate in stare de pulbere.
Viteza de transport, este proportionala cu radacina patrata a greutatii specifice a particulelor. Viteza se alege cu atat mai mare cu cat conducta este mai lunga. O formula empirica pentru calculul acestei viteze este urmatoarea:
=
+
masurata in m/s, in care:
-
=
coeficient adimensional cu valori cuprinse intre 10 si 16;
-
= greutatea
specifica a particulelor, masurata in t/m3;
-
=
coeficient adimensional cu valori cuprinse intre 2 x 10+5 si 2 x 10+5 crescand cu marimea granulatiei;
-
= lungimea
echivalenta, masurata in m.
Formula lui v este valabila pentru sectiunea conductei in care exista o presiune atmosferica, adica inceputul conductei la instalatia cu aspiratie si sfarsitul cunductei la cea cu refulare.
In conducte de transport presiunea scade de la inceputul spre sfarsitul conductei si aceasta cadere, poate fi considerata ca fiind izotermica, adica, intre presiunea p si volumul aceleiasi cantitati de gaze v, exista relatia:
pv = constant (1)
Daca ne referim la cantitate de gaz care se scurge intr-o secunda, in orice punct al conductei exista:
V = Av. (2) in care,
A = suprafata sectiunii libere a conductei.
Din relatiile (1) si (2) rezulta pentru doua puncte ale conductei, caracterizate prin indicii 1 si 2, raportul:
=
=
si
=
(3)
Conductele de transport pneumatic, pot fi in doua feluri;
- cu sectiune constanta, pe toata lungimea, in care caz viteza variaza invers proportional cu presiunea;
- cu sectiune variabila, in care viteza variaza direct proportional cu presiunea.
De obicei se foloseste prima varianta, adica sistemul cu sectiune constanta. In acest caz rezulta relatia (3), daca se considera un punct oarecare si punctele p0, v0, g , cu presiunea atmosferica p0.
=
=
(4) deci,
=
=
unde:
-
= viteza de
transport.
Determinarea diametrului conductei de transport, se face pe baza relatiei concentratiei amestecului, din care rezulta:
=
= ![]()
deci, diametrul interior al conductei este:
=
masurata in m, in care:
-
= productivitatea masurata in t/h,
-
= coeficient de concentratie,
-
si
= viteza si greutatea specifica a aerului la
inceputul conductei
( aspiratie ) respectiv la sfarsitul conductei ( refulare ), masurate in m/s si kg/m
La conductele cu sectiune constanta se pastreaza pe toata lungimea diametrul interior di dat de relatia de mai sus;
La cele cu viteza constanta, se imparte conducta in mai multe tronsoane cu diametre egale si se face calculul de mai sus pentru conditiile din fiecare tronson folosind relatia (3);
La o conducta cu viteza constanta v0 intr-o sectiune oarecare exista:
=
si
=
=
de unde:
=
si
=
=
in care :
-
= sectiunea tubului in punctul cu presiunea p0
= 1 atm.
= ![]()
si deci, diametrul conductei cu viteza constanta:
= 
Diametrul exterior al conductei se alege, tinand seama, in afara de presiune, de gradul de abrazivitate al materialului.
Determinarea debitului de aer necesar pentru transport, se face tot pe baza relatiei concentratiei:
=
in care:
este dat pentru presiunea
atmosferica, asa cum se obisnuieste la caracterizarea marimii pompelor de aer.
Determinarea caderii de presiune. Caderea totala de presiune pe traseul de transport si care trebuie invinsa de pompa de aer este suma unor caderi partiale de presiune si anume, luand ca unitate de presiune 1 kgf/m2 = 1 mm H2O, atunci:
=
+
+
+
+
+
in care:
-
= caderea
de presiune dinamica, datorita accelerarii aerului si materialului de la viteza
zero la viteza de transport;
-
= caderea
de presiune statica, datorita diferentei de nivel pe portiunile verticale ale
traseului;
-
= caderea
de presiune din portiunile orizontale datorita rezistentei de inaintare in
conducta produsa de frecarile de pereti, de vartejuri, etc;
-
= caderea
de presiune la trecerea aerului prin separator;
-
= caderea
de presiune la trecerea aerului prin ciclon;
-
= caderea
de presiune la trecerea aerului prin filtru.
Caderea hd. Se considera cantitatea de aer si de material care trece in timp de o secunda; masele respective ma si mm sunt aduse de la zero la vitezele finale va, respectiv vm, astfel ca ele capata energie cinetica:
=
+ ![]()
Prin definitie, co notatiile cunoscute:
=
si
= ![]()
Aceasta energie cinetica este egala cu lucrul mecanic efectuat prin caderea de presiune hd, adica:
=
+
de unde:
=
+
=
+
(a)
S-a constatat experimental ca raportul
=
are aproximativ valoarea 0.85, astfel ca
relatia (a) devine:
=
, masurata in mm H2O.
Tinand seama de ecuatiile (4), pentru o instalatie cu aspiratie, rezulta:
in care,
deci:
masurata in H2O
La instalatiile cu
refulare viteza finala
deci:
masurata in H2O.
Caderea hv. Aceasta cadere de presiune, provenita din frecarile la trecerea prin conducta, este in fiecare punct proportionala, pe unitatea de lungime, cu concentratia, greutatea specifica si patratul vitezei si invers proportionala cu diametrul conductei, deci pentru un element de conducta de lungime dl, aceasta cadere de presiune este ( la o instalatie de refulare):
(b)
iar la o instalatie cu aspiratie:
![]()
Produsul
variaza cu presiunea; se poate scrie:
![]()
si deoarece
, rezulta:
, deci ecuatia (b) devine:
, care da
prin integrare:
(d).
Constanta de integrare C se obtine din conditia de
limita: p = p0 pentru l = 0, deci
/
. Ecuatia
(d) devine:
sau notand
,
se obtine, considerand pentru lungimea l lungimea Lechiv , rezulta:
.
In cazul unei instalatii cu refulare:
si tinand seama ca: p0 = 10.000 kgf/m2 = 10.000 mm H2O, rezulta:
masurata in mm H2O.
Tot astfel, in cazul unei instalatii cu aspiratie:
si
deci:
.
Valoarea lui
pentru instalatiile cu refulare depinde de
valoarea:
masurata in m2/s2.
pentru instalatiile cu aspiratie, valoarea lui
este circa ![]()
Caderea hs din separator, provine din faptul ca in acest aparat, odata cu viteza amestecului se pierde si energia sa cinetica.
Pentru caderea de presiune din separator se obtine relatia:
masurata in mm H2O.
Valorile caderii hs sunt de obicei intre 150 si 300 mm H2O.
Caderea hc este de aceeasi natura ca si hs caci si in ciclon se pierde energia cinetica, insa numai a aerului, ne mai existand amestec. In consecinta:
masurata in mm H2O.
Caderea hf din filtrul de aer este de 50 - 100 mm H2O. O formula empiricaeste urmatoarea:
masurata in mm H2O, in care V este volumul de aer in m3/h,
care trece intr-o ora prin fiecare metru de stofa filtrata.
Pierderi suplimentare de presiune.
Asupra lui htot determinat conform relatiilor de mai sus trebuie sa se aplice o crestere de 15-25o/o ( la instalatiile cu refulare ), respectiv 5-10o/o ( la instalatiile cu aspiratie ) pentru a tine seama de pierderile din organele de alimentare. La instalatiile cu refulare trebuie sa se mai adauge apoi si pierderile de presiune din conducta de aducere a aerului comprimat de la compresor pana la instalatie ( circa 0.3-0.5 kgf/cm2).
In consecinta, presiunea la iesire din compresor va trebui sa fie in cazul instalatiei cu refulare de forma:
pr = 1 +( 1.15+1.25 )
+ ( 0.3+0.5 )
si in cazul instalatiei cu aspiratie presiunea la intrarea in pompa de aer aspiratoare va fi:
pa = 1 - ( 1.05 + 1.1 ) ![]()
Puterea absorbita. Se considera o instalatie cu conducta de
sectiune
dL = Avdp
In total, trecand de-a lungul conductei de la presiunea p0 la presiunea p, se efectueaza intr-o secunda, in cazul refularii, lucrul mecanic este:
L =
dar v = ![]()
deci,

![]()
deoarece p0 = 10000 kgf/m2, rezulta:
in care V0 este volumul de aer la presiunea atmosferica folosit pentru transport, masurat in m3/s.
In cazul instalatiei cu aspiratie se obtine analog:
![]()
![]()
Daca pompa are
randamentul total h=0.55
0.75,
puterea motorului pentru actionarea ei va fi:
Pmot =![]()
masurata in kw, in care, k=1,1 este un coeficient care tine seama de pierderile prin neetanseitatile instalatiei.
|
Politica de confidentialitate | Termeni si conditii de utilizare |
Vizualizari: 3180
Importanta: ![]()
Termeni si conditii de utilizare | Contact
© SCRIGROUP 2025 . All rights reserved