| CATEGORII DOCUMENTE |
| Alimentatie nutritie | Asistenta sociala | Cosmetica frumusete | Logopedie | Retete culinare | Sport |
SEDIMENTAREA, DECANTAREA IN INDUSTRIA ALIMENTARA
1.Generalitati
Operatia de separare a particulelor solide sau lichide din sistemele eterogene lichide sau gazoase, datorita actiunii diferentiale a unei forte asupra fazelor cu densitati diferite se numeste sedimentare.
Prin sistem eterogen se intelege sistemul constituit din faze diferite:o faza interna, dispersa sau dispersata care se afla in stare fin divizata si o faza externa dispersanta, sau mediu de dispersie, care inconjoara particulele fazei disperse.
Sistemele eterogene se clasifica dupa cum urmeaza:
-sisteme eterogene lichide:suspensii,emulsii,spume;
-sisteme eterogene gazoase:praf,fum,ceata,aerosoli.
Suspensiile prezinta ca faza dispersata particule solide.
Emulsiile prezinta ca faza dispersata picaturi de lichid greu miscibile cu mediul de dispersie.
Spumele prezinta ca faza dispersata bule de gaz.
Praful si fumul prezinta ca faza dispersa particule solide.
Aerosolii si ceata prezinta in dispersie picaturi de lichid.
Dupa dimensiuni particulele se disting:
-suspensii:-grosiere d>100 μm
-fine d=0,5-100 μm
-tulbureli d=0,1-0,5 μm
-solutii coloidale d<0,1 μm
-emulsii:d=1-20 μm(lapte ,ulei de fuzel+apa)
-praf: d=5-50 μm(faina,zahar in aer)
-fum: d=0,5-5 μm(ardere incompleta a combustibilului)
-ceata: d=0,3-3 μm(condens,vapori)
unde d-reprezinta diametrul particulei dispersate.
2.Bazele teoretice ale sedimentarii
Un sistem eterogen se poate gasi la un moment dat intr-un camp oarecare de forte: gravitational, centrifugal, electric, etc. Ca urmare a actiunii diferentiate a campului asupra fazelor componente, ele se vor separa.
2.1.Viteza de sedimentare
Se considera o suspensie formata dintr-un lichid cu densitate ρm,si din particule sferice de diametru dp si densitate ρp aflate sub actiunea campului de forte g. Asupra particulei aflate in stare de repaos actioneaza urmatoarele forte:
-greutatea reala a particulei:
G = ![]()
-forta lui Arhimede:
FAr = ![]()
-forta de rezistenta a mediului:
Fr = ![]()
Unde: Δp-pierderea de presiune locala; ξ-coeficient de rezistenta hidraulica locala.
Pentru conditia de echilibru :
FAr + Fr ≤ G ,de unde rezulta viteza de sedimentare:
ws =
[m/s]
Daca lichidul in care se gaseste particula curge cu viteza wm,particula cu viteza ws :
-va cadea: ws-wm>0;
-va pluti: ws-wm=0;
-va fi antrenata in sus: ws-wm<0;
atunci cand mediul se deplaseaza pe verticala de jos in sus cu viteza vm.
3.Factori ce influenteaza separarea prin sedimentare
Operatia de sedimentare este influentata de o serie de factori si anume:
a)Factorii ce caracterizeaza amestecul(suspensia initiala):concentratia fazei solide,cantitatea sau debitul de suspensie si varsta amestecului(de la momentul formarii suspensiei);
b)Factorii ce definesc faza dispersanta sunt:natura,masa si vascozitatea acesteia;
c)Factorii referitori la faza dispersa sunt:natura,masa specifica,granulomtria si tendinta de aglomerare;
d)Factorii referitori la operatia de sedimentare sunt:temperatura,viteza,durata de sedimentare,adaosurile utilizate,modul de desfasurare-continuu,intermitent sau mixt si tipul decantorului(vasul de sedimentare);
e)Factorii referitori la produsele rezultate:reprezinta concentratia fazei solide in decantat si a fazei lichide in precipitat;
f)Factorii economici.
4.Influenta miscarii fluidului asupra sedimentarii
Se considera numai deplasarea pe orizontala si pe verticala a fluidului.
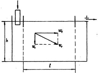
a)In
cazul deplasarii fluidului pe orizontala ,din figura 1:

wf-viteza pe orizontala a fluidului;
ws-viteza de sedimentare [m/s];
h-inaltimea fluidului din aparat
l-lungimea aparatului.
Fig.1 Influenta miscarii fluidului
asupra sedimentarii
-timpul necesar sedimentarii:τ=
;
-timpul necesar deplasarii pe orizontala:τl =
.
Pentru sedimentare este necesara conditia ca τs ≤ τf de unde rezulta viteza fluidului:
![]()
Debitul volumic al bazinelor de sedimentare paralelipipedice de dimensiuni l,l1,h se exprima cu relatia:
[m3/s],
in care
[m2] aria sectiunii orizontale a bazinului.
Rezulta ca debitul de lichid ce trebuie limpezit depinde de A si ws.
b)La deplasarea pe verticala de jos in sus a fluidului,conditia de sedimentare a particulelor este: ws>wf.
Acest sistem nu se indica pentru practica industriala.
Principiile sedimentarii expuse mai sus nu sunt valabile decat partial pentru separarea solutiilor coloidale, acestea depunandu-se greu fiind caracterizate printr-o anumita stabilitate ce se explica prin sarcinile electrice cu care sunt incarcate particulele solide. Particulele cu sarcini de acelasi semn se resping,ceea ce da o anumita stabilitate suspensiei,care poate fi distrusa daca se neutralizeaza sarcinile prin adaos de electroliti fini sau de coloizi cu sarcini electrice de semn contrar.Astfel particulele neutralizate se vor reuni in aglomerate mai mari care se sedimenteaza usor.
5.Decantoare in sistem eterogen solid-lichid
Aparatele in care se realizeaza sedimentarea in sistem solid-lichid sub influenta fortelor gravitationale se numesc decantoare.
Dupa modul de functionare avem
decantoare discontinuue, semicontinuue si continuue.

Fig.2 decantor discontinuu
Acestea pot fi simple rezervoare de forma paralelipipedica in care se introduce lichidul cu suspensie pe partea superioara (2) si se lasa pana se realizeaza sedimentarea produselor solide.
Dispozitivele de tipul sifonului sau de tip basculant (3) permit evacuarea lichidului limpezit din stratul superior spre fundul vasului. Sistemul de evacuare poate fi inlocuit cu un sorb plutitor. Precipitatul se evacueaza la orificiul cu robinet (4).
Decantarea discontinuua se realizeaza in toate rezervoarele de clarificare din industria vinului, in care caz uneori se lucreaza cu adaosuri pentru grabirea limpezirii.
|
Fig.3 Tava de racire in industria berii
1.-vas de decantare
2.-plutitor pentru teava basculanta
3.-perete pentru oprirea spumei
4.-racord de evacuare must limpede
5.-racorduri de evacuare apa spalare si sedimente
Tava de racire din industria berii este si un decantor deoarece odata cu racirea se realizeaza si separarea mustului de sedimente.
b)Decantoarele semicontinuue in general functioneaza cu alimentare continuua, astfel aleasa incat particulele sa aiba timp suficient sa sedimenteze pana cand lichidul limpezit ajunge la iesire.Sedimentul,adunat treptat,va fi eliminat periodic prin oprirea alimentarii si evacuarea lichidului limpezit.
c)Decantoarele
continuue functioneaza cu alimentare si evacuare continuua
atat a lichidului cat si a sedimentului.Din aceasta categorie fac
parte urmatoarele:

Fig.4 Decantorul circular cu brate
Decantorul circular cu brate este format dintr-un rezervor cilindric cu diametrul mare (1) si inaltime mica descoperit si cu fundul putin inclinat spre centru. Pe un ax ventrical central sunt fixate 2-4 brate cu racleti,actionate in miscare de rotatie de un motor electric si reductor (0,5-0,025 rot/min).
Pe ax in partea centrala este montata o conducta cilindrica (2) care serveste drept alimentator.
Lichidul limpezit traverseaza radial rezervorul spre periferie. La periferia rezervorului este un prag de preaplin (4) peste care lichidul limpezit se deverseaza si este evacuat. Particulele in suspensie in lichidul de alimentare sedimenteaza ajungand pe fundul vasului. Namolul depus pe fundul decantorului este impins continuu spre centrul rezervorului de unde se evacueaza continutul cu ajutorul unei pompe de namol.
Acest decantor se utilizeaza pentru limpezirea apelor de spalare din industria zaharului. Debitele de decantare sunt mari, pana la 12,5 m3/h si au diametre de pana la 100 m. Un dezavantaj ar fi pierderea mare de apa odata cu namolul evacuat.
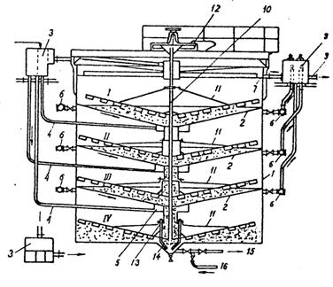
Pentru reducerea suprafetei ocupate
de aparat se construiesc decantoare etajate formate din mai multe decantoare
circulare cu brate supraetajate. Astfel de aparate se
intrebuinteaza in industria zaharului pentru concentrarea namolului
din zeama carbonatata, namolul fiind trimis la filtre pentru
recuperare zemii antrenate cu namolul.

Fig.5 Decantorul circular cu brate supraetajat
Pentru functionarea corecta a filtrelor sub depresiune, namolul trebuie sa aiba cel putin 15% substanta uscata. Se construiesc aparate cu 3-5 etaje(compartimente) cu diametre intre 3-18m in functie de debitul de zeama limpezit.
|
Politica de confidentialitate | Termeni si conditii de utilizare |
Vizualizari: 1467
Importanta: ![]()
Termeni si conditii de utilizare | Contact
© SCRIGROUP 2025 . All rights reserved