| CATEGORII DOCUMENTE |
| Alimentatie nutritie | Asistenta sociala | Cosmetica frumusete | Logopedie | Retete culinare | Sport |
Pentru obtinerea unor modele ortodontice corecte, trebuie ca amprenta sa redea cateva elemente subordonate scopului pentru care este efectuata si anume:
arcadele dentare;
arcadele alveolare in intregime;
formatiunile moi, care interfereaza cu arcadele dentare sau alveolare (frenuri, bride cicatriciale).
Sub acest aspect, amprenta in ortodontie este o amprenta extensiva si, din acest motiv, trebuie luate masuri speciale ca relatiile obtinute prin amprentare sa nu fie alterate.
Materialele cel mai frecvent utilizate pentru amprenta in scop ortodontic sunt alginatele (hidrocoloizii ireversibili), care corespund sub toate aspectele. Pot fi folosite pentru situatii speciale si materiale de tip siliconic.
Dupa indepartarea din cavitatea bucala a pacientului, amprentele vor fi foarte bine spalate si controlate (dinti, procese alveolare, margini, lungime, grosime, eventuale goluri, etc).
Spalarea amprentei se face cu un jet de apa rece, cu mica presiune, pentru a evita desprinderea alginatului de pe lingura sau accidentarea lui sau a indeparta resturile de sange si saliva.
Cantitatile de saliva atasate de alginat (mai ales la arcada superioara) se pot indeparta prin pudrarea amprentei cu ghips, urmata imediat de spalarea cu o perie moale. Pentru imbunatatirea suprafetei viitorului model se recomanda clatirea amprentei cu solutie de sulfat de potasiu 2-3%. Plusurile de alginat care depasesc marginile amprentei si care sunt balante vor fi indepartate parcimonios cu o foarfeca bine ascutita si nu se va folosi niciodata spatula de ceara etc.
Este bine ca cel putin pana la priza primei cantitati de ghips din amprenta, aceasta sa ramana suspendata in pozitie orizontala de manerul lingurii.
Inainte de turnarea modelului surplusul de apa din amprenta se va inlatura cu un jet usor de aer, fara a usca amprenta.
De multe ori, din considerente obiective sau din greseli de tehnica, amprentele pot prezenta diverse imperfectiuni privind lungimea marginilor vestibulare, fetei vestibulare a dintilor, fetei orale, etc. Sub acest aspect, in functie de scopul urmarit ramane la latitudinea medicului sa hotarasca repetarea sau nu a amprentei. Pe de alta parte, este obligatia tehnicianului sa analizeze sub acest aspect tehnic posibilitatile de realizare corecta a viitoarei constructii ortodontice pe aceasta amprenta si eventual s-o refuze, deoarece acceptarea ei il pune in postura de a accepta intreaga responsabilitate a corectitudinii tehnice a viitoarei piese ortodontice.
Amprentele astfel pregatite vor fi turnate cat mai repede posibil. La transport, nu vor fi niciodata sprijinite pe marginile amprentei.
Se vor turna doua randuri de modele din ghips tare. Pentru a putea fi utilizate, modelele trebuie pregatite, soclate si eventual reparate micile imperfectiuni date de turnare.
2 .Modelul de lucru
Modelul de lucru trebuie sa indeplineasca cateva conditii, si anume:
manevrare usoara in timpul executiei diverselor componente ale aparatului ortodontic,
executarea unor operatiuni tehnice direct pe el fara a se deteriora,
manevrare cu usurinta in lucrul cu diverse aparate utilizate in laboratorul de tehnica dentara (aparate de baropolimerizare, de fotopolomerizare, etc.),
sa aiba o rezistenta suficienta pentru a nu se sparge.
In acest scop soclul modelului de lucru trebuie sa fie de 1,5-2 cm, in general din gips tare.
OBTINEREA MODELULUI DE LUCRU
Zonele retentive ale arcadei mandibulare (distal, paralingual) se deretentivizeaza prin adaugare de ghips, ciment, ceara etc. Papilele spatiilor interdentare din zonele unde urmeaza sa se realizeze elementele de ancorare, se indeparteaza, evidentiindu-se cu precizie spatiul interdentar. Se indeparteaza, de asemenea, eventualele plusuri de pe suprafetele orale ale dintilor sau de pe suprafata mucozala, aceasta operatie realizandu-se cu foarte multa acuratete.
Daca modelul va fi utilizat pentru realizarea unor aparate mobile, este bine ca ele sa fie cufundate intr-o solutie de sapun alcalin incalzita la fierbere, timp de un minut. Aceasta face ca izolarea modelului sa fie perfecta, iar duritatea sa sa creasca.
O pregatire mai deosebita trebuie facuta modelului de lucru utilizat pentru realizarea aparatelor fixe, care necesita efectuarea de suduri direct pe model. Amprentele pentru astfel de modele ajung in laborator, de regula, cu elementele de ancorare (inele) fixate in aceasta. In laborator, inaintea turnarii modelului se va aplica un strat subtire de ceara pe peretii inelului, cu exceptia unui contur de 0,1-0,5 mm la nivelul marginii gingivale a acestuia. Modelul se toarna din gips dur, ca si modelul de lucru descris anterior. Dupa indepartarea amprentei stratul de ceara din interiorul inelelor, permite indepartarea fara deformare a acestora de pe model (la nevoie, inelul poate fi incalzit usor la flacara unui bec cu gaz). Marginile exterioare ale portiunilor de model reprezentand dintii vecini sunt indepartate. Modelul se curata de toate plusurile si se finiseaza. La sfarsit inelele trebuie sa-si gaseasca pozitii foarte corecte pe model. In zonele unde se vor executa suturi, se indeparteaza din masa de ghips in profunzime, pe o adancime de 1-1,5 mm, si se tapeteaza cu masa de ambalat. Aceasta operatiune este necesara, deoarece ghipsul in contact cu flacara de sudura se descompune, eliberand sulf care ataca suprafata de sudat, oxidand-o si compromite calitatea sudurii efectuate. Trebuie aratat ca fasonarea si prelucrarea modelului de lucru are o importanta deosebita in realizarea piesei ortodontice in laboratorul tehnic si cabinet, pe model verificandu-se exactitatea executiei, atat din punct de vedere al respectarii planului de lucru, cat si al acuratetei tehnice. Modelul de lucru constituie si un mod de prezentare a tehnicianului in cabinet.
Calitatea modelului ortodontic depinde de materialele utilizate in obtinerea lor si de calitatea materialului de amprenta. Acestea trebuie sa fie plastice pentru a permite introducerea lor usoara in amprenta. Plasticitatea e variabila, in functie de necesitati, depinzand de marimea granulatiei si de modul de preparare. Fidelitatea este si ea dependenta de marimea particulelor. Ordinea descrescanda a granulatiei este: ipsosuri normale, ipsosuri dure si ipsosuri extradure. Toate acestea imprima modelelor o gama de proprietati, si anume:
1. Proprietati mecanice:
- duritate de suprafata si profunzime mare;
- rezistenta mecanica la compresiune, rupere, abraziune, pentru ca modelul sa nu se deterioreze in etapele de manevrare a lui si de confectionare a aparatelor ortodontice.
Proprietati termice: materialul sa reziste la o temperatura de cel putin 100C.
3. Stabilitatea fizico-chimica influenteaza si ea fidelitatea; modelul trebuie sa permita folosirea diverselor rasini sau efectuarea eventualelor suduri fara sa se descompuna. Stabilitatea fizico- chimica consta in manifestarea fenomenelor fizice de contractie sau dilatare. Ideal, aceste fenomene nu ar trebui sa se produca. Numai modelele metalice au aceasta caracteristica. In practica, gipsurile se dilata, iar cimenturile si rasinile se contracta.
Materialele pentru modele nu trebuie sa se combine cu materialul pentru amprenta. In majoritatea cazurilor, materialele pentru modele sunt inerte chimic, cu exceptia ghipsurilor, care se combina cu alginatul de potasiu restant al hidrocoloizilor ireversibili.
Materialele utilizate curent sunt:
ipsosuri uzuale de modelat;
ipsosuri dure;
ipsosuri extradure;
cimenturi dentare;
mase de ambalat.
Masa de ambalat se toarna pe o anumita zona din modelul de lucru, unde se vor executa suduri, tehnica folosita frecvent la obtinerea aparatelor fixe (la sudura se elibereaza sulf).
Ghipsurile uzuale sunt beta-hemihidrati cu sferocite alungite, fusiforme, cu spatii de clivaj intre ele, deci poroase, avide de apa. Hemihidratii se obtin, dupa Craig si Skanner, prin calcinarea hidratului de CaSO4 (Dh) la 100O-130OC, obtinandu-se anhidrat (Ah) de CaSO4, H2O si caldura.
Forma de prezentare este pulbere alba ce se combina cu apa, obtinandu-se o pasta semifluida.
Proprietati:
duritate buna;
rezistenta mecanica la tractiune, frecare, rupere in mediu uscat este buna; in mediu umed, aceste proprietati se micsoreaza;
dilatarea de 0,2% (este nesemnificativa pentru indicatiile materialului).
Prepararea se face prin metoda saturatiei progresive sau la vacuum malaxor. Este necesar sa se respecte proportia 3/2 (pulbere/apa).
Indiferent de metoda folosita apa va avea temperatura camerei.
Este contraindicata apa calda deoarece are loc o reactie exoterma mai mare, cu coeficient de dilatatie crescut.
De asemenea este contraindicata spatularea prelungita; iar timpul de spatulare este de -30 sec la malaxor si 90 sec. in cazul spatularii manuale.
Gipsul uzual este indicat pentru soclul modelelor de lucru si de studiu, permitand o prelucrare si finisare acceptabile.
Gipsurile dure sunt alfa hemihidrati si se obtin prin calcinarea CaSO4, avand calitati superioare gipsurilor normale. Au particule mai mici, dense, fara spatii de clivaj.
Proprietati:
au duritatea si rezistenta mecanica mari, datorita granulatiei fine;
dilatare redusa.
Preparare:
metoda saturatiei progresive sau la vacuum malaxor, aceasta fiind cea mai indicata;
proportia este de 3/1 (pulbere/apa);
timp de priza initiala de 30-40min. si finala de 2,5-3ore.
Denumiri comerciale:
MOLDANO (Bayer)
MOLDABLASTER
MODELIT
NEOMARMORIT SUPER
DURICAP (predozat-Vivadent)
Gipsurile extradure sunt alfa hemihidrati, avand structura orto-romboidala si granulatia cea mai fina.
Proprietati: - rezistenta mecanica si duritatea sunt foarte mari;
- dilatare mica (0,05%).
Denumiri comerciale:
MOLDAROCK (Bayer)
DUROC
DURALIT
In general, dupa o amprenta, indiferent de materialul utilizat, trebuie sa se execute numai un model. Turnarea a doua randuri de modele de pe aceeasi amprenta trebuie acceptata numai ca o solutie directa a necesitatii economice. Al doilea model prezinta diferente variabile care tin de natura masei de amprentat, de timpul ce s-a scurs intre doua turnari, de tehnica utilizata la prima demulare si de intretinerea amprentei intre cele doua faze de lucru. Datorita acestor modificari, al doilea model se va folosi numai ca model de studiu, iar primul, ca model de lucru. Atat la modelele de lucru, cat si la cele de studiu ("de muzeu"), cel putin pentru partea corespunzatoare coroanelor dentare, trebuie utilizat un gips tare (dur sau extradur). Pentru reproducerile fotografice, gipsul alb este corespunzator, cu conditia sa intruneasca acele calitati de rezistenta absolut necesare oricarui model si sa fie acoperit cu anumite substante sau coloranti (albul reflecta lumina).
Este indicat ca modelul sa fie turnat in 2 timpi.
Tehnica prepararii este urmatoarea: se adauga cantitatea de ghips recomandata la volumul corespunzator de apa distilata, intr-un bol special, in functie de modalitatea de preparare a ghipsului. Amestecul se poate face manual, sau mai bine cu ajutorul unor aparate speciale (vacuum malaxor).
Malaxarea gipsului se face timp de 15-20-30 de secunde la vacuum malaxor, si timp de 90 de secunde manual.
Se pune, apoi, in functie masuta vibratorie, si fara ca alginatul sa vina in contact cu masa, se introduce pasta de gips in amprenta, in cantitati mici aplicate in zona boltii palatine a amprentei superioare, sau pe versantele alveolare ale amprentei inferioare si se inclina pentru a permite scurgerea gipsului in toate directiile, fara a ingloba bule de aer.
Dupa ce s-a umplut zona dintilor si a crestelor, gipsul se adauga mai repede pana la umplerea amprentei. Se fac apoi, mici ridicaturi de gips ce vor servi ca retentii pentru soclu. Amprenta turnata astfel in primul timp, va fi suspendata de manerul lingurii, intr-o pozitie orizontala.
Cand gipsul incepe sa se incalzeasca, se umezeste cu apa sau cu solutie saturata de sulfat de calciu.
O noua cantitate de gips va fi aplicata pe o placa de sticla sau plastic, sau in conformator. Se rastoarna amprenta peste gipsul viitorului soclu. Cu spatula se impinge gipsul de jur imprejurul amprentei.
La amprentele mandibulare, zona linguala dintre marginile lingurii se netezeste.
Dupa priza gipsului turnat ulterior, se poate separa amprenta de model (demulare). Se va avea grija ca inainte de demulare, lingura sa nu fie acoperita de gips la margini, ceea ce ar impiedica desprinderea. Demularea pentru amprentele luate cu materiale elastice se realizeaza prin tractiuni usoare pentru a evita fracturarea dintilor.
Se recomanda ca amprentele din alginate, sa fie indepartate imediat dupa priza gipsului, altfel ele absorb apa din gipsul modelului, scazandu-i rezistenta.
Modelul nu trebuie spalat timp de cel putin 12 ore.
Pentru curatirea modelului se foloseste o perie moale.
Ultima etapa de laborator pentru obtinerea modelului, este reprezentata de finisarea la soclator si finisarea cu spatula.
Modelul de studiu reprezinta un document important pentru ortodont, studiul acestuia fiind in acelasi timp o etapa a tratamentului. Astfel, modelul trebuie sa redea fidel:
1. arcadele dentare:
pozitia dintilor;
incongruente dentare;
dimensiunea : lungime, latime.
arcadele alveolare:
forma, dimensiunea;
inclinarea in zona frontala si laterala;
accidentele arcadei alveolare ; impresiuni in urma pierderii dintilor, a unor interventii chirurgicale, etc.
3. bolta palatina:
adancime;
torusul palatin;
rugi palatine;
rafeul median.
Modul de studiu va prezenta un soclu realizat in conditii standardizate care sa ajute la evidentierea corecta a dispozitiei dintilor si sa evite ca prin forma si inclinatie sa simuleze anomalii care nu exista.
In acelasi timp, soclul trebuie sa permita o manipulare si o depozitare facila a modelelor. De obicei, soclul se taie in mod simetric fata de linia mediana a arcadei, fapt care ajuta la cercetarea simetriei.
In mod arbitrar, se considera ca planul de ocluzie este paralel cu suprafata superioara a soclului modelului maxilar.
Unii recomanda in alte cazuri, sectionarea soclului modelului superior, astfel incat, suprafata superioara sa corespunda planului de la Frankfurt.
4 cm pentru arcadele temporare;
5 cm pentru arcadele cu dinti permanenti.
Forma soclului este poligonala, cu varful corespunzand rafeului median, laturile anterioare fiind echidistante fata de acesta. Fata posterioara se realizeaza in unghi drept fata de linia mediana a modelului superior. Aceasta linie mediana este trasata prin papila retroincisiva , rafeul median, foveele palatine.
Realizarea soclului poate fi facuta prin mai multe metode, fata periferica a soclului variind in functie de metoda. Se disting doua categorii:
cu forma identica a conturului soclului la cele doua modele (Korkhaus, Reichenbach, Stanciu, etc.);
cu contur diferit la modelul superior si inferior (Wortheroft, Begg, Adams etc.).
Pentru realizarea de modele cu socluri standardizate, este necesara o ceara de ocluzie, care sa redea relatiile interarcadice in ocluzie habituala. Modalitatile de realizare pot fi impartite in doua grupe:
1) prin turnarea soclurilor in conformatoare speciale (soclatoare) din: cauciuc, metalice (Korkhaus, Reichenbach, Stanciu), masa plastica (Stockfisch,1959), acesta ramanand ca invelis de protectie a modelului;
2) prin fasonare, cu ajutorul unui motor special (Trimer).
La prima modalitate este necesara turnarea prealabila a modelelor si asamblarea lor reciproca cu ajutorul cerii de ocluzie.
Soclatoarele, in principiu, sunt alcatuite din :
- doua chiuvete: - una pentru modelul superior;
- una pentru modelul inferior;
- un sistem de asamblare reciproca a celor doua chiuvete;
- dispozitive pentru fixarea pozitiei modelului superior in chiuveta sa.

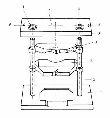
Fig.3-1Dispozitiv de soclare:
A- conformator superior; B- conformator inferior; 1-placa de baza inferioara; 2-culise verticale; 3-placa de baza superioara; 4-culise; 5- sistem de retentie; 6- mira de ghidaj (dupa Stanciu si Constantinescu).
Timpii de lucru sunt urmatorii:
In primul timp se reduc soclurile modelelor ca sa poata fi introduse in chiuvetele dispozitivului. Se incepe cu formarea soclului pentru modelul superior si in acest scop, se aseaza pasta de gips in chiuveta corespunzatoare in care se monteaza modelul superior in asa fel incat arcada dentara sa fie centrata in cadrul chiuvetei, iar planul de ocluzie sa fie paralel cu planul soclatorului.
In timpul doi, modelul inferior este asezat in relatie de ocluzie habituala cu modelul superior de care este fixat prin intermediul cearei de ocluzie. Se pune pasta de gips in chiuveta soclului inferior. Intregul ansamblu (chiuveta cu soclul superior si cele doua modele fixate) se ia si se aseaza cu soclul primar al modelului inferior in pasta din chiuveta sa, centrand si fixand cele doua modele cu ajutorul dispozitivelor de asamblare.
In timpul trei, dupa priza gipsului, modelele sunt scoase din soclator, indepartand intai, sistemul de prindere al celor doua chiuvete. Daca s-a folosit un soclator cu chiuvete din cauciuc, acestea se desprind simplu de pe soclu. La cele metalice se desfac cheile de prindere a peretilor verticali.
Modelele urmeaza sa fie finisate si pregatite pentru fotografiere, stocare, etc. (vezi urmatoarea tehnica).
Conformatorul superior are portiunea anterioara angulata, fata de cel inferior, care este rotunjit.
Cele doua socluri au inaltimea de 25 mm, egala, atat pentru arcada superioara, cat si pentru cea inferioara.
Fasonarea se face cu ajutorul unui motor special (Trimer)
Odata cu amprentele, se trimite in laborator si ceara de ocluzie. Se toarna de la inceput modelele cu un soclu mai voluminos, care este apoi redus la dimensiunile si forma determinate cu ajutorul unui aparat special alcatuit din :
- un motor de fasonat (Trimer);
- o platforma pe care este asezat modelul si a carei suprafata face unghi drept cu suprafata pietrei Trimerului;
- accesorii : - un simetroscop;
- trei echere pentru a ghida modelul dupa unghiuri apropiate (Fig. 3-2, 3, 4)

Fig.3- Inscriptor de marcare a soclului.

Fig. 3.3 Echere pentru soclarea modelelor de studiu.
- placa pentru ajustare (Fig. 3.4 a);
- o bucata de cauciuc in forma de "T" (Fig. 3.4 b).
compas pentru marcarea inaltimii soclului

Fig. 3.4 a-placa de ajustare; b-cauciuc in ,,T".
Taierea soclului in acest caz, are urmatoarele etape:
Se stabileste linia mediana a modelului superior asezat pe placuta de cauciuc cu dintii arcadei superioare pe placuta, dupa care cu un compas, se traseaza o linie dupa care se va taia, dandu-se astfel o grosime uniforma soclului.
Suprafata posterioara a modelului superior, este taiata in unghi drept fata de linia mediana a arcadei. Inainte de a taia, trebuie determinat, cu modelele in ocluzie, pe care arcada exista dintii cei mai posteriori. Daca ei exista la mandibula, trebuie taiata cu atentie fata posterioara a modelului superior, astfel incat in momentul montarii in ocluzie a celor doua modele si taierii fetei posterioare a modelului inferior, dintii mandibulari posteriori sa ramana intregi pe arcadele de gips.

Fig. 3.5. Fata posterioara este asezata in unghi drept fata de suprafata modelului.
Partea
anterioara a modelului superior, este taiata in asa fel
incat, axa de simetrie sa fie linia mediana superioara, iar
suprafata de ghidaj, marginea posterioara a modelului;
Fig. 3.6 Fata anterioara se taie in raport cu marginea posterioara si linia mediana.
Zonele laterale ale modelului sunt taiate echidistant de linia mediana, pastrand totusi, marginile unui model de o marime suficienta.
Fig. 3-7 Marginile se taie simetric, lasand un spatiu suficient fata de arcada.
Colturile distale ale modelului superior, sunt taiate utilizand echerul nr.3. Se verifica si simetria finala a modelului superior.

Fig. 3-8 Colturile distale se taie folosind triunghiul cu unghiurile egale.
Cele doua modele (superior si inferior), sunt puse in ocluzie cu ceara de articulatie. Soclul modelului inferior este deci, trasat pe contur paralel cu soclul modelului superior si de aceeasi grosime, apoi taiat dupa aceasta linie, cu ajutorul compasului. Inaltimea modelului este determinata de probe si standardizata la inaltime de 4 cm pentru dintii temporari, sau de 5 cm pentru dinti permanenti.
7. Modelele sunt plasate in ocluzie cu ceara de articulatie si se utilizeaza modelul superior ca ghid. Partea posterioara a modelului inferior, ca si muchiile laterale, sunt taiate astfel incat sa corespunda modelului superior.
8. Partea anterioara a modelului inferior, este taiata dupa o curba ce corespunde curbei anterioare a arcadei.
9. Marginile brute ale modelelor, se pot taia dupa o "curba dulce" cu o dalta manuala sau pneumatica de ajustare.
In scopul expunerii sau fotografierii modelelor, suprafetele pot fi polizate cu o piatra de carborundum cu granulatie fina, sub apa. Pentru anularea bulelor de aer, se pensuleaza cu un amestec de ipsos.
Suprafetele soclului se slefuiesc cu un material abraziv fin si se acopera, fie cu un lac special de modele, fie se fierb in sapun bazic, un minut.
Pe baza soclului se inregistreaza numele pacientului, sexul si data executarii modelului.
Modelele trebuie sa fie uscate cu aer sau cu un uscator. Numele pacientului, numarul si data la care au fost luate amprentele, precum si anumite evaluari, vor fi trecute cu un creion pe baza modelului superior cat si a celui inferior. Daca sunt scrise pe fetele laterale, aceste insemnari (lamuriri, informatii) sunt greu de evitat la fotografiere.
Modelele pot fi conservate in cutii ce pot tine 5-6 perechi de modele, fiecare pereche fiind legata cu un elastic lejer.
Ceara de articulatie nu trebuie lasata intre dinti, deoarece se poate plastifia si impregna pe modele. Cand suprafetele posterioare ale celor doua modele sunt taiate exact in acelasi plan, ocluzia corecta e usor de gasit (ceara nu mai este necesara).
In alte cazuri, cand exista numai cativa dinti in segmentul posterior al modelelor, ceara trebuie pastrata cu modelele pentru a putea gasi ulterior rapoartele de ocluzie.
Exista si cutii speciale din material plastic in care modelele vor fi transportate de la laborator la cabinet si in care se vor pastra ulterior.
|
Politica de confidentialitate | Termeni si conditii de utilizare |
Vizualizari: 7429
Importanta: ![]()
Termeni si conditii de utilizare | Contact
© SCRIGROUP 2025 . All rights reserved