| CATEGORII DOCUMENTE |
| Alimentatie nutritie | Asistenta sociala | Cosmetica frumusete | Logopedie | Retete culinare | Sport |
Bazele fizice ale mecanoterapiei
Masini simple: parghii, scripeti, planul inclinat.
I Parghiile
Parghiile sunt niste masini mecanice foarte simple, ele fiind folosite pentru a multiplica forta sau deplasarea in conditii optime. In organismul uman se intalnesc peste 200 de parghii osoase.
Parghiile osoase, biologice sunt formate de doua oase vecine, articulate mobil (cuplul cinematic) si legate printr-un muschi.
Actiunea parghiilor se bazeaza pe echilibrul momentelor a doua forte: o forta de rezistenta pasiva si o forta activa. Ele sunt caracterizate prin trei puncte principale:
- punctul de aplicatie a fortei F,
- punctul de aplicatie a rezistentei R,
- punctul de aplicatie S a rezultantei fortelor, numit punct de sprijin a parghiei, in jurul acestuia fortele F si R dand parghiei o miscare de rotatie
Legea parghiilor: momentele fortelor F si R sa fie egale.
Clasificarea parghiilor se face in functie de pozitiile celor trei puncte de aplicatie F, R si S (Fig. 1):
Fig. Tipuri de parghii
- parghia de gradul I sau parghia de echilibru (deoarece realizeaza echilibru static) are punctul de sprijin S situat intre punctul de aplicatie a fortei F si cel de aplicatie a rezistentei;
- parghia de gradul al II-lea sau parghia de forta - are punctul de aplicatie a rezistentei intre cel de aplicatie a fortei si cel de sprijin; prin structura lor, distanta de la R la S este mai mica decat de la F la S , asadar F este mai mic decat R, motiv pentru care putem amplifica forta
- parghia de gradul al III-lea sau parghia de deplasare - are F intre R si S, ele utilizeaza o forta mare si inving o forta mica, in schimb deplaseaza mult punctul lui R; acest tip de parghii este cel mai intalnit in corpul uman (punctul de aplicatie a fortei, adica locul de inserare a muschiului, se afla intre punctul de sprijin care este articulatia si punctul de aplicatie a rezistentei).
Parghiile in medicina
Pirghiile de gradul I
- relativ putine in organism
- trunchiul se afla in echilibru pe picioare ca o parghie de gradul I, la fel si capul, care sprijinit pe atlas, functioneaza ca o parghie cu brate inegale, verticala CG netrecand prin atlas (Fig. 2 a)).
- antebratul in extensie se comporta ca o parghie de gradul I
- in practica medicala, parghiile de gradul I sunt foarte numeroase (Fig. 2 b)), in primul rand parghiile duble cum sunt foarfecele si clestii, care se impart in functie de utilitate, dupa lungimea bratelor.
- foarfece pentru invins rezistente mari (cum ar fi gipsul sau clestii pentru extractii dentare) cu gura puternica si mica si manere lungi; apasand pe un brat de parghie lung se poate invinge o rezistenta mare;

a) b)
Fig. Parghii de gradul I intalnite in a) organism si b) in practica medicala
- clestii la care bratele parghiei pe care apasam sunt mici, iar cele pe care se aplica rezistenta sunt lungi (forcepsul)
- foarfecele si clestii la care marimea bratelor fortei nu difera prea mult de cea a bratelor rezistentei (clestele pentru tractiunea limbii in caz de asfixiere, clestele de manipulat pansamentele etc.)
In sectiile de fizioterapie si in laboratoare exista tot felul de parghii de gradul I (balante analitice, scripeti etc.)
Parghiile de gradul al II-lea
In organism, se pot mentiona ca prim exemplu incisivii si caninii
- aceste parghii au forma de pana, iar conditia necesara si suficienta pentru echilibrul fortelor la un astfel de instrument este ca raportul dintre forta si rezistenta sa fie acelasi ca intre marimea bazei de apasare si lungimea suprafetei laterale a instrumentului (eficacitatea instrumentului creste cu cat baza este mai mica, deci, cu cat el este mai ascutit)
a) b)
Fig.3 Parghii de gradul al II-lea (bisturiu, dalta, lanteta)
- ca parghie de gradul al II-lea functioneaza si piciorul (Fig. 3 a)), care are ca rezistenta greutatea corpului transmisa prin tibie si aplicata la nivelul articulatiei tibio-tarsiene, asa incat forta o vor da muschii inserati prin tendonul lui Ahile pe calcaneu, iar punctul de sprijin, in momentul in care ne ridicam pe varful picioarelor, se afla la extremitatea metatarsienelor in contact cu solul
- instrumentele medicale, ca cele din fig. 3 b)
Parghiile de gradul al III-lea
- sunt elemente de deplasare
- antebratul in flexie functioneaza ca o parghie de gradul al III-lea cand muschii flexori se contracta pentru a-l ridica; bicepsul se contracta producand o forta care are punctul de aplicatie pe antebrat
- in general, distanta dintre punctul de aplicatie al fortei F si punctul de sprijin S este de 8 ori mai mica decat distanta dintre punctul de aplicatie a rezistentei R si punctul S. Rezulta, ca in acest caz, forta desfasurata de muschi pentru a roti antebratul este de 8 ori mai mare decat rezistenta

Fig.4 Antebrat in flexie (parghie de gradul III)
- in schimbul pierderii de forta avem un castig de deplasare, contractia de cativa cm a bicepsului determinand o deplasare liniara de 8 ori mai mare a extremitatii antebratului.
In laborator si in practica medicala intalnim parghii de gradul al III-lea cum ar fi: pensele anatomice, pedalele diferitelor aparate dentare etc. (Fig. 5).
Fig. 5 Pensete medicale (parghii de gradul III)
Parghii umane multiple
Sunt grupe de parghii actionate de un singur muschi. De exemplu: falangele care au extensorii si flexorii comuni. La parghiile multiple suma rotatiilor diverselor parghii osoase miscate de un singur muschi este egala cu rotatia pe care ar determina-o acest muschi, actionand asupra unei singure parghii umane, muschiul contractandu-se cu aceeasi lungime
Parghii asociate
Sunt intalnite in miscarea membrelor. De exemplu, datorita faptului ca membrele superioare sunt compuse din doua segmente, viteza liniara a mainii este mai mare cand antebratul descrie un unghi fata de brat si concomitent bratul descrie un unghi fata de trunchi. Din figura 6 se observa cum aducerea mainii la nivelul umarului se face intr-un timp mai scurt, daca ambele segmente se misca simultan, decat in cazul in care membrul superior se misca rigid
Fig.6 Miscarea concomitenta a parghiilor asociate
Parghii speciale
Scripetii si balantele sunt aparate de cercetare si terapie care nu pot lipsi din laboratoarele medicale si din salile de kinetoterapie.
II. Scripetele
Proprietatea fundamentala : scripetele este un mecanism simplu, care permite schimbarea directiei unei forte in conditiile conservarii intensitatii acesteia (fig. 7).

Fig. 7. Scripetele schimba directia fortei F fara a-i modifica intensitatea.
Reactia axului: reactia R a axului O al scripetelui este egala si de sens opus cu rezultanta dintre F si G (fig. 8).
Desemnind prin 2α unghiul dintre cele doua forte F si G , avem:
R2 = G2 + F2 + 2GF cos 2α.
Intotdeauna F = G , iar R = 2G cos 2α.
Rezultanta R variaza asadar in functie de unghiul de aplicatie al fortelor F si G.

Fig. 8 Reactia axului scripetelui.
Circuitele
Scripetele de tractiune fix. Vorbim despre scripete fix atunci cind scripetele de tractiune este fixat direct de un punct de ancorare.
Este tipul de montaj cel mai frecvent utilizat, fapt explicabil daca avem invedere ca el asigura transmiterea nemijlocita spre membrul tratat a unei forte extrinsece cunoscute: F = G.
Pentru ca sistemul sa se afle in echilibru, reactia R a axului trebuie sa fie absorbita de punctul de ancorare A (fig.9).

Fig. 9. Forta de reactie R a axului este absorbita de punctul de ancorare pentru ca sistemul safie stabil.
Scripetele de tractiune mobil.
Este considerat mobil atunci cind este fixat de una dintre extremitatile circuitului: segmentul sau contragreutatea(fig.10).
a) Variatia fortelor F si G
Reactia R a axului si forta F (sau G) se suprapun.

Fig.10. Circuit cu scripete de tractiune mobil.
In concluzie, F= R = 2 G cos α atunci cind sistemul se afla in echilibru.
F este invers proportionala cu α: cind a creste, F scade.
Pozitii extreme:
α= 90 = cos α = 0 (fig. 11)

Fig. 11. Scripete de tractiune mobil α = 90
prin urmare F = 0 .
α = 0 = cos α = 1 (fig12) prin urmare F = 2 G , de unde rezulta ca 0< F <2G.
b) Muflele
Circuitul prezentat in fig. , unde cele doua capete ale cablului sunt paralele, se numeste mufla.
α = 0, prin urmare F = 2G .

Fig. 12 Scripete de tractiune mobil α = 0.
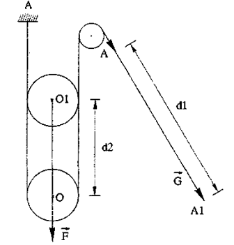
c) Deplasarea in circuitul de tip mufla (fig. 13):
- in punctul A, lucrul mechanic obtinut pentru o deplasare d1 = AA1 este:
L1 = G x d1;
- in punctul O, deplasarea corespunzatoare va fi d2 = OO1, iar lucrul mecanic:
L2 = F x d2

Fig. 13. Deplasarea in circuitul de tip mufla.
In virtutea principiului de conservare a lucrului mecanic, avem:
L1 = L2, adica Gd1 = Fd2 ;
dar F = 2G, prin urmare d1 = 2d2.
Astfel, daca forta creste, scade deplasarea si invers.
Principii de montaj
Pozitia scripetelui de tractiune
Planul de instalare. Pentru a anula componentele cu efecte deviante asupra miscarii, forta G trebuie sa fie aplicata in planul miscarii (fig. 14).
Prin urmare, scripetele de tractiune trebuie sa se situeze in planul
miscarii.
Fig. 14. Planul de instalare a scripetelui de tractiune.
Pozitia cablului si a scripetelui de tractiune. Momentul M al rezistentei G (fig. 15) depinde de orientarea cablului fixat de segmental de membru cu care se lucreaza.
MG = Gd (d reprezinta bratul pirghiei)
d l sinα, prin urmare MG = G l sin α
sin α = 1 daca α
Fig. 15. Pozitia cablului si a scripetelui de tractiune in raport cu segmentul de tratat.
MG atinge valoarea maxima daca G este perpendiculara pe segmental de tratat, cu alte cuvinte, rezistenta este maxima atunci cind cablul este perpendicular pe segment.
III.Planul inclinat
Planul inclinat ofera avantajul descompunerii fortei de greutate(G), a corpului sau segmentului, dupa o directie paralela (Gt=F) cu planul si una perpendiculara (Gn) pe acesta.
Astfel, este necesara doar invingerea componentei tangentiale a greutatii fata de intreaga greutate (fig. 16).
Greutatea corpului (G) se descompune in:
Gt (greutatea tangentiala) si
Gn (greutatea normala pe plan).
Gt= m g sin α (sin α< 1), unde:
m = masa corpului;
g = acceleratia gravitationala;
α = unghiul planului inclinat.
Astfel, este necesara invingerea unei forte mai mici decat greutatea corpului sau segmentelor de mobilizat.
Din aceasta cauza, planul inclinat se foloseste ca mijloc de scadere a intensitatii efortului.

Fig. 16. Planul inclinat
|
Politica de confidentialitate | Termeni si conditii de utilizare |
Vizualizari: 9438
Importanta: ![]()
Termeni si conditii de utilizare | Contact
© SCRIGROUP 2025 . All rights reserved