| CATEGORII DOCUMENTE |
| Comunicare | Marketing | Protectia muncii | Resurse umane |
Tipologia actuala a intreprinderii de produse catering
Studiu de caz la SC HAROLD'S -
1. INTRODUCERE
Dezvoltarea si diversificarea serviciilor este expresia necesitatii satisfacerii unor nevoi sociale. Integrate in structurile si mecanismul procesului social al productiei, serviciile sunt oferite colectivitatilor de oameni, unitatilor economice, institutiilor si persoanelor fizice.
Intreprinderile de alimentatie publica si de turism, similar altor intreprinderi economice, sunt un produs, un rezultat al mediului social economic. Pe de alta parte este generatoare de noi necesitati determinate de indeplinirea rolului sau economico-social si de realizarea obiectului sau de activitate.
In paralel cu dezvoltarea economica, a crescut gradul de ocupare a populatiei si in consecinta, rezolvarea problemei alimentatiei a impus noi preocupari pentru imbinarea cerintelor de satisfacere a necesarului fiziologic, de incadrare in timpul liber si in bugetul de venituri disponibile.
In acelasi timp, dezvoltarea turismului si a transportului de pasageri, in special pe cale aeriana si maritima, au creat un cadru favorabil pentru aparitia unei noi ramuri a pregatirii si distributiei alimentelor cu un grad avansat de prelucrare, denumita catering.
In conditiile economiei de piata consumatorul devine axul central al tuturor activitatilor economice ce converg spre satisfacerea cat mai deplina a dorintelor, exigentelor, preferintelor, necesitatilor, aceasta satisfacere fiind insasi esenta activitatii economice realizate.
Influenta alimentatiei asupra starii de sanatate a individului, importanta acesteia in dezvoltarea armonioasa a organismului, in mentinerea vigorii fizice si intelectuale, deci impactul asupra rezultatelor obtinute in activitatile economico-sociale, au determinat ritmuri accentuate de crestere pentru sectoarele care au ca obiect de activitate alimentatia omului si semnificative transformari corelate cu importanta economica si sociala a acestor activitati.
Tehnologia culinara moderna, cu toate exigentele ei, nu se mai poate sprijini numai pe intuitia, talentul sau indemanarea lucrarilor din activitatea productiva a acestui sector, producandu-se mutatii rapide in procesul de prelucrare, in sortimentul produselor comercializate, in cererea de consum, intensificandu-se interdependentele cu alte sectoare de activitate.
Oferta de produse alimentare trebuie sa corespunda noilor exigente, specifice omului modern, tentat tot mai mult de procurarea hranei gata preparate (convenience foods). Nevoia de hrana trebuie satisfacuta la un nivel superior prin acoperirea necesarului fiziologic cu alimente variate, gustoase, salubre, in conditile economisirii fondului de timp afectat pregatirii zilnice, diminuarii efortului fizic solicitat de aceasta activitate si totodata prin costuri mai reduse.
Alimentatia publica, implicit sectorul catering, prezinta un caracter deosebit de complex prin specificul ei, prin multitudinea factorilor tehnologici care influenteaza oferta de produse, prin diversitatea cererii exprimate.
Metoda clasica de realizare a preparatelor culinare in bucatarii prezinta numeroase dezavantaje: costuri mari impuse de investitiile pentru dotarea spatiilor de productie, un grad insuficient de utilizare a capacitatilor de productie cu variatii mari pentru activitatile sezoniere, volum mare de munca manuala (deci productivitatea muncii redusa si costuri ridicate), dificultati mari in aprovizionare datorate materiilor prime sezoniere perisabile si foarte usor perisabile, si din aceasta cauza o gama sortimentala relativ restransa
Aceste dezavantaje au determinat intensificarea eforturilor pentru gasirea de solutii avantajoase si eficiente oferite de sistemul catering, care reprezinta in fapt o industrializare a productiei de preparate culinare. Se ofera preparate gata pregatite, realizate in sectii industriale specializate, mentinute in stare de congelare pe tot circuitul logistic printr-un lant frigorific adecvat si comercializate prin unitati de alimentatie publica a caror clientela doreste un sortiment de produse variat, cu stadiu de pregatire cat mai avansat, o portionare corespunzatoare, un serviciu usor si rapid.
Conform dictionarului Oxford English cuvantul Catering provine de la cate- substantiv cu sensul de cumparatura, ulterior de mancaruri cumparate ajungand la verbul "to cate"- a imbraca si in continuare la un nou substantiv "caterer", cu semnificatia de persoana care asigura provizii pentru o gospodarie, club, sau furnizeaza alimentele necesare unei sarbatori.
Astazi cateringul este inteles ca un proces complex prin care se realizeaza pe cale industriala produse gata de consum cele mai multe (congelate) necesitand parcurgerea unui lant frigorific perfect pus la punct de aprovizionare la productie de consum.
Functionalitatea sistemului catering a rezistat probei timpului si se impune prin dinamismul tot mai accentuat. Daca initial acest sistem a luat nastere in marile aglomerari urbane din Statele Unite ale Americii, el s-a extins cu repeziciune si in alte tari dezvoltate din punct de vedere economic: Anglia, Germania, Suedia, Franta si apoi in celelalte tari.
Conditiile de viata contemporane, cand un numar din ce in ce mai mare de persoane lucreaza la mari distante de locuinta, cand gradul de ocupare a femeilor este in crestere si timpul disponibil pentru procurarea materiilor prime si prepararea hranei scade, au constituit factori de stimulare a dezvoltarii retelei de fabricare, pastrare si distribuire a alimentelor gata preparate, pe care consumatorii sa le poata procura in orice moment, cu efort minim si in timp redus.
Cea mai puternica influenta asupra aparitiei si dezvoltarii cateringului a avut-o extinderea consumului alimentelor in afara domiciliului. Sistemul catering se adreseaza in special consumatorilor colectivi: cantine scolare, cantine restaurant, spitale, unitati militare si de aviatie, restaurante cu autoservire, unitati cu servire rapida. Acestia au devenit consumatori exigenti, care accepta sa si satisfaca nevoia de hrana cu alimente gata preparate dar, care, sa aiba o valoare nutritiva normala, preturi mai mici si sa fie prezentate corespunzator.
Multiplele avantaje ale produselor catering le ofera acestora o pozitie distincta in ansamblul marfurilor alimentare, determinand ascensiunea lor pe plan international, atat din punct de vedere al volumului ofertei cat si din plan international, atat din punct de vedere al volumului ofertei cat si din punct de vedere al structurii sortimentale. Mari firme specializate in productia de alimente prelucrate cum sunt Nestle, Magi, Unilever, Knorr si altele, au permanent in nomenclatorul ofertei lor zeci de sortimente de produse tip catering.
Procesul de diversificare, conjugat cu valorificarea superioara a materiilor prime, este un proces continuu, care trebuie sa se armonizeze cu evolutia gustului, cu traditiile zonale ale consumului, cu evolutia puterii de cumparare a consumatorilor astfel incat sa se asigure o alimentatie echilibrata si sa satisfaca o gama variata de preferinte. Aceasta presupune cunoasterea cererii, a tendintelor in evolutia pietei. Aceste informatii presupun promovarea tehnicilor de marketing, a metodelor moderne de investitie a pietei, cunoasterea preferintelor populatiei, a modului cum se formeaza cererea, a factorilor ce conduc la concretizarea ei pe piata astfel incat sa se realizeze o legatura directa, continua in beneficiul produselor tip catering.
Sistemul catering se bazeaza pe termenul de tehnologie. Tehnologia fiind stiinta care se ocupa cu procesele de transformare a materiilor prime, in produse de consum si mijloace de productie. Tehnologia se imparte in doua ramuri principale:
tehnologia mecanica;
tehnologia chimica.
Tehnologia mecanica este ramura tehnologiei care studiaza procesele de transformarea a materiilor prime in produse care difera de acestea prin proprietatile fizice, compozitia chimica nefiind afectata. Procesele tehnologice mecanice se realizeaza prin operatiuni mecanice.
Tehnologia chimica este ramura tehnologiei, care studiaza procesele de transformare a materiilor prime in produse, care difera de acestea prin compozitia si proprietatile lor chimice.
Prin proces de productie al unei intreprinderi se intelege totalitatea actiunilor constiente ale oamenilor muncii, indreptate asupra obiectelor muncii, in vederea transformarii lor in bunuri materiale necesare societatii.
Fabricatia constituie doar o pare a productiei, ea constand in exploatarea mijloacelor de productie a intreprinderii, astfel incat, pornind de la materii prime sa se ajunga la produse finite.
Procesul de productie este format din:
- procese de munca: ▪ procese de baza (obiectul muncii este transformat in produse finite);
▪ procese auxiliare (se creaza conditii materiale pentru desfasurarea normala a proceselor de productie);
▪ procese de deservire (asigura buna desfasurare a proceselor de baza si auxiliare).
- procese naturale sunt procesele care au loc fara interventia omului.
Materia prima sunt obiecte ale muncii, rezultate ale muncii anterioare, destinate pentru a fi prelucrate si transformate.
Ca rezultat al productiei rezulta:
. produsul finit - reprezinta produsul a carui prelucrare a fost terminata in intreprinderea respectiva si este destinat livrarii;
. semifabricatul (semipreparatul) - este produsul care a parcurs unul sau mai multe stadii de prelucrare si este destinat prelucrarii ulterioare, in scopul obtinerii produsului finit;
. productia nefinita (neterminata) - consta din productia, a carui proces de fabricatie n-a fost terminat, prezentand o situatie intermediara intre materia prima si semifabricat sau semifabricat si produsul finit.
1.1. PRELUCRAREA MATERIILOR PRIME
1.1.1. SPALAREA
Spalarea materiilor prime face parte din operatiile preliminare de curatire a materiilor prime, inainte de intrarea in procesul de fabricatie sau in vederea depozitarii sau a preambalarii.
Spalarea materiilor prime are doua obiective majore:
indepatrtarea contaminantilor care constituie un pericol pentru sanatatea consumatorilor sau care sunt inacceptabili din punct de vedere estetic;
reducerea incarcarii microbiologice care afecteaza eficacitatea proceselor ulterioare si calitatea produsului.
Operatia de curatire acceptabila trebuie sa satisfaca urmatoarele cerinte:
. eficienta procesului de separare trebuie sa fie cat mai mare posibil, dar cu minimum de deseuri din materialul util;
. contaminantii trebuie sa fie indepartati complet dupa spalare, astfel incat sa nu permita recontaminarea produsului spalat;
. procesul de spalare trebuie sa lase suprafata curatita intr-o forma acceptabila;
. sa se evite degradarea produsului;
. volumul efluentilor lichizi sa fie minim.
Curatirea completa a materiilor prime este un ideal de neatins. Standardele "acceptabile" petru curatirea materiei prime trebuie sa fie specificate pentru fiecare produs, tinand cont de modul in care contaminarea materiilor prime se va reflecta in produsul final.
Ineficienta indepartare si eliminare a contaminantilor, indata ce au fost separati, conduce la recomandarea produsului. Indepartarea sigura a contaminantilor, atat din materia prima curatita, cat si spatiul de procesare este un pas important in controlarea eficacitatii proceselor ulterioare si a operatiilor de conservare. Daca, din cauza spalarii necorespunzatoare, aceasta incarcatura initiala este mai mare, va rezulta un produs cu o calitate microbiologica necorespunzatoare. In mod similar, procesarea la temperatura coborata ca si congelarea si uscarea prin pulverizare reclama materii prime cu o calitate microbiologica ridicata.
O curatire eficienta depinde de detectarea contaminantilor si indepartarea lor.
Tipurile de contaminanti mai frecvent intalniti sunt:
vegetali: ramuri, frunze, paie, coji, bucati de lemn si de sfoara;
animalieri: excremente, par, pene, oua de insecte;
chimici: reziduuri de pesticide si fertilizanti;
microbiologici: microorganismele si produsele lor de metabolism.
Metodele de spalare pot fi clasificate dupa operatia principala care sta la baza procesului de spalare:
inmuierea: este metoda cea mai simpla de curatire umeda si este utilizata adesea ca stadiu preliminar in curatirea radacinoaselor si a altor produse puternic contaminate (pamant, pietre, nisip). Pamantul aderent este inmuiat si apoi indepartat pentru ca ar distruge utilajele in stadiile urmatoare de curatire. Apa calda mareste eficienta inmuierii, dar viteza de alterare a produsului poate sa creasca foarte mult. Utilizarea detergentilor este o alta solutie, in special in contaminarea produselor cu reziduuri de pesticide sau ulei mineral. Trebuie avut grija insa in selectarea si utilizarea unor astfel de agenti, dearece poate fi afectata textura si aspectul produsului.
stropirea: este metoda cea mai folosita de curatire umeda, suprafata produsului fiind supusa unor jeturi de apa. Eficienta spalarii prin stropire depinde de: presiunea apei utilizate, volumul apei, temperatura apei, distanta dintre produs si dispozitivul de stropire, timpul de expunere a produsului la stropire si numarul de jeturi utilizate. Un volum mic de apa la o presiune mare este cea mai eficienta combinatie. Uneori, jeturile cu presiune mare sunt utilizate pentru a rupe partile vatamate din piersici sau tomate.
flotatie: aceasta metoda se bazeaza pe diferenta dintre viteza de sedimentare a partilor dorite si nedorite ale produsului supus curatirii. Reziduurile grele pot fi indepartate prin trecerea produselor murdare peste o serie de baraje aranjate in serie, unde contaminantii cu viteza de sedimentare mare cad si raman in interiorul barajului, iar contaminantii cu viteza de sedimentare mica sunt purificati in continuare prin trecerea peste o sita vibratoare, prin care jetul de apa indeparteaza contaminantii finali. Acest procedeu de spalare consuma aproximativ 4-10l apa/Kg de produs, ceea ce impune recircularea apei.
Metodele de curatire sunt in general folosite combinat. Masinile de spalat au mai multe stadii de spalare combinate intr-o singura unitate.
1.1.2. FRACTIONAREA SOLIDELOR
Toate procesele tehnologice de prelucrare in industria alimentara necesita fractionarea unor sisteme solide granulare polidisperse. Scopul fractonarii poate fi:
clasarea (separarea pe fractiuni sau clase granulometrice) se realizeaza prin cernere;
sortarea (separarea pe soiuri de constituenti, dupa natura acestora) se realizeaza pe baza diferentei dintre valorile constantelor fizice sau chimice: densitate, proprietati superficiale, susceptibilitate magnetica, solubilitate prin cernere sau prin separare pneumatica (antrenare in curent de aer) sau elutriere (antrenare in curent de lichid).
calibrarea (separarea pe calitati in cadrul aceluiasi sort) se aplica pentru sortarea legumelor si fructelor cat si pentru boabe.
cernerea este operatia de separare in doua sau mai multe fractiuni granulometrice s maselor granulare sau pulverulente cu ajutorul gratarelor, ciururilor si sitelor. Acestea sunt suprafete metalice sau textile care prezinta orificii egale (fante lungi dreptunghiulare sau ochiuri patrate).
1.1.3. CURATIREA
Curatirea are ca drept scop separarea si indepartarea partilor necomestibile sau nedigerabile. Aceste operatii se realizeaza:
curatirea mecanica: se aplica de regula la legume si fructe folosind diverse tipuri de utilaje adecvate scopului urmarit si caracteristicilor produsului ce urmeaza a fi prelucrat: masini cu abrazivi (cartofi si radacinoase), masini cu cutite (cartofi si mere), tamburi cu site (radacinoase), masini speciale (pentru taiat varfurile la fasole, pentru indepartat samburi, pedunculul si casa semintelor la fructe), batoze (pentru pastai). Uneori curatirea este insotita de spalare (cartofi, radacinoase) si se preceda de oparire.
curatirea termica: poate fi realizata prin caldura umeda (aburire, fierbere) sau prin caldura uscata (arderea cojii). Curatirea cu abur sub presiune (~ 10 atmosfere) este folosita pentru curatirea cartofilor, morcovilor, sfeclei si a unor fructe (mere, pere). Se realizeaza o temperatura ridicata timp de cateva secunde urmata de o trecere brusca la presiunea atmosferica si de spalare cu dusuri reci, puternice. Curatirea cu ajutorul caldurii uscate se realizeaza la temperati de ~ 1000C, urmata de o spalare ulterioara cu dusuri.
Unele fructe, piersici, caise, prune si tomate sunt supuse unei aburiri de scurta durata in apa, urmata de o racire brusca in apa. Ardeii sunt uneori curatiti de coaja prin trecerea lor printr-o baie de ulei de bumbac, la 200C, urmata de o spalare ulterioara cu dusuri.
curatirea chimica: consta in fierberea de scurta durata (0,5-3minute)intr-o solutie de hidroxid de sodiu (1-3%) in care coaja legumelor (mai ales radacinoase) sau pielita fructelor (piersici, caise) se desprinde de pulpa.
Definitivarea curatirii la legume se face manual.
curatirea manuala: se utilizeaza numi atunci cand celelalte procedee nu pot fi aplicate sau ca o completare a lor. Prin curatirea manuala rezulta o cantitate mai mare de deseuri fata de restul proceselor de curatire.
Operatia de curatire este insotita permanent de o concomitenta spalare. Apa folosita la spalare trebuie sa fie c mai rece, ea avand rolul de a aindeparta si elimina impuritatile rezultate precum si microflora existenta.
In timpul curatirii se inregistreaza nu numai pierderi de masa, ci si pierderi de substante nutritive. Pentru a evita aceste pierderisunt necesare doua conditii esentiale:
o indepartarea pe cat posibil numai a partilor necomestibile;
o mentinerea un timp cat mai scurt a materiilor prime in contact cu apa care solubilizeaza substantele nutritive hidrosolubile diminuand considerabil aportul acestora in produsul finit.
Curatirea si spalarea produselor de origine animala este foarte importanta.
1.1.4. MARUNTIREA
Materiile prime, produsele intermediare (semifabricatele) sau produsele finite se prezinta adesea la dimensiuni care impun reducerea acestoa, fie in scopul accelerarii realizarii unor faze tehnologice, fie pentru obtinerea unui anumit produs din materia prima prelucrata, pentru facilitarea comercializarii produsului sau pentru aducerea la o forma dorita.
Maruntirea se defineste ca operatie de divizare, avand ca scop reducerea volumului individual al particulelor materiale sub actiunea fortelor mecanice sau hidraulice, materialele supuse maruntirii putandu-se prezenta initial in stare solida, lichida sau gazoasa.
Masinile de maruntit definite ca masini care transforma energia mecanica in energie de suprafata, in functie de natura materialului supus maruntirii, si se pot clasifica in doua grupe:
. masini de taiat;
. masini de maruntit propriu-zis.
1.2. TRATAMENTE FRIGORIFICE
Frigul a fost folosit din cele mai vechi timpuri pentru pastrarea alimentelor.
Compozitia si proprietatile organoleptice ale materiilor prime pot suferi diverse modificari sub actiunea agentilor biologici, biochimici si fizico-chimici.
Temperaturile scazute opresc sau reduc intensitatea unor astfel de modificari atat prin micsorarea vitezei de reactie cat si prin actiunea directa asupra unora din acesti agenti.
Actiunea agentilor biologici (microorganisme) reprezinta principala cauza a modificarilor profunde din alimente, respectiv inrautatirea caracteristicilor organoleptice, diminuarea valorii nutritive si in final alterarea produselor, deci necomestibilitatea lor.
Functiile vitale ale microorganismelor, inclusiv inmultirea, de bazeaza pe reactii biochimice complexe a caror viteza se reduce odata cu scaderea temperaturii. Efectul scaderii temperaturii depinde de: natura substratului, continutul acestuia in apa disponibila biologic, concentratia in saruri, valoarea PH-ului, prezenta substantelor bacteriostatice sau bactericide, natura si stadiul fiziologic al microorganismului in cauza, structura microflorei de pe produsul respectiv.
Efectul bacteriostatic al temperaturii scazute reprezinta baza conservarii prin frig a alimentelor. In functie de nivelul temperaturilor scazute, de natura microorganismelor si alimentelor efectul bacteriostatic poate fi total sau partial:
efectul bacteriostatic partial: caracteristic conservarii prin refrigerare, consta in oprirea inmultirii unor microorganisme si incetinirea ritmului de inmultire pentru altele.
efectul bacteriostatic total: consta in oprirea inmultirii tuturor microorganismelor si este caracteristic conservarii alimentelor prin congelare.
Pentru a preintampina fenomenele de adaptare a microorganismelor este necesar ca racirea sa fie efectuata cat mai rapid posibil. Sub -40˚C practic inceteaza activitatea tuturor enzimelor. Scaderea temperaturii reduce intensitatea modificarilor cauzate de agentii fizico-chimici: modificari de culoare, rancezirea, deshidratarea partiala.
1.2.1. REFRIGERAREA
Refrigerarea consta in racirea produselor alimentare pana la temperaturi apropiate de punctul de congelare, fara formare de gheata in produs. Scopul principal al refrigerarii este cel al conservarii propriu-zise a produselor. Refrigerarea poate fi insa folosita si in scopul asigurarii conditiilor optime de desfasurare a unor procese biochmice necesare fabricarii unor produse alimentare, sau unor procese fizico-chimice necesare in anumite faze ale unor tehnologii alimentare.
Refrigerarea reprezinta un anumit proces de transfer de caldura, fara schimbarea starii de agregare, insotit in majoritatea cazurilor si de un transfer de masa (umiditate) de la produsul alimentar cu temperatura mai ridicata la mediul de racire cu temperatura mai scazuta. Temperatura finala de refrigerare a produselor alimentare este de regula, deasupra punctului de congelareal acestora, situandu-se intre 0 si +5˚C. Mediul de racire trebuie sa aiba temperaturi cu 3-5˚C mai coborate decat temperatura finala a produselor.
In functie de natura mediului de racire utilizat, se deosebesc urmatoarele procese de refrigerare:
in aer, reprezinta procesul cu cea mai larga utilizare, fiind aplicat cu precadere in procesele de racire a produselor cu o structura solida cum ar fi: carnea si produsele din carne, branzeturi si produse lactate, pasari si peste, fructe si legume, oua, semipreparate culinare si altele;
in agenti intermediari (apa, apa de mare, solutii de clorura de sodiu etc.), unde se asigura viteze de racire mult mai mari decat in cazul refrigerarii cu aer si deci spatiile de refrigerare sunt mai mici si acest proces se bazeaza pe imersia produselor, prin stropire sau mixt, folosindu-se atat aparate in flux continuu cat si aparate cu functionare discontinua;
prin contact cu gheata hidrica, fiind un proces utilizat industrial la refrigerarea pestelui si a unor soiuri de legume;
in vid, procedeu se bazeaza pe efectul de racire, care se obtine prin vaporizarea, la presiuni sub cea atmosferica, a apei cu care a fost stropit, in prealabil, produsul sau a unei parti din apa continuta de acesta (acest tip de refrigerare se aplica in general la legumele frunzoase).
Se impune cunoasterea elementelor de baza ce fac legatura intre performantele sau posibilitatile instalatiei de racire si tehnologia frigorifica a produsului: viteza de racire, transferul de caldura de la produs la mediul de racire, regimul de lucru impus mediului de racire (temperatura, umiditate relativa si viteza aerului in cazul refrigerarii in aer).
Un proces de refrigerare se poate considera terminat atunci cand temperatura medie a produsului supus racirii a atins valoarea temperaturii la care urmeaza a fi depozitat sau valoarea temperaturii necesare prelucrarii ulterioare refrigerarii propriu-zise. O racire prea lenta poate duce la fenomenul de adaptare a microorganismelor.
1.2.2. CONGELAREA
Prin congelare se intelege operatia tehnologica in care cea mai mare parte a apei din sucul celular al unui produs este transformata in gheata. In acest scop produsul este supus unui proces special de scadere a temperaturii, pana la -35˚C chiar -40˚C, temperatura la care, intr-un timp relativ scurt, apa se transforma in gheata. La aceasta temperatura produsul isi pastreaza integritatea tesuturilor si calitatile organoleptice si sunt reduse transformarile fizice, biochimice si microbiologice, pe toata perioada cat este congelat.
Procesul trebuie astfel dirijat incat produsul sa treaca cat mai repede cu putinta de faza de maxima cristalizare a apei, acre este curpinsa intre -2 si -5˚C, dupa care procesul tehnologic trebuie apoi continuat pana cana cand se ajunge la temperatura de echilibru, care este de -18˚C.
Indata ce temperatura coboara pana la punctul de congelare, specific produsului dat, in tesuturi incep sa apara nuclee de cristalizare. Daca procesul de cristalizare este lent cristalele de gheata care se fomeaza in aliment sunt putine la numar, dar care polarizeaza apa sa inghete in jurul lor, marindu-le ca volum.
O importanta deosebita in tehnologia de congelare, cu efecte hotaratoare asupra calitatii produselor, o are timpul de congelare. Se cunosc doua tipuri de notiuni pentru delimitarea timpului de congelare:
- timpul efectiv de congelare ;
- timpul nominal de congelare.
Punctul cu temperatura cea mai ridicata in produs la sfarsitul congelarii poarta denumirea de centru termic.
Temperatura scazuta, asociata cu unele operatii tehnologice de pregatire a materiei prime in vederea congelarii - mai ales oparirea - asociata cu metoda de congelare si decongelare a produsului au efecte in general negative asupra unor caracteristici structurale ale produselor vegetale (evidente fiind: deshidratarea si pierderea consistentei).
Activitatea unor microorganisme , desi incetinita la temperaturi scazute , ea nu este complet oprita. Acest lucru se explica prin faptul ca microorganismele se adapteaza la temperaturi scazute, la care se pot si inmulti.
Oprirea inmultirii microorganismelor si incetinirea activitatii lor la temperaturi scazute se explica prin cateva fenomene fizice care au loc in produse in timpul congelarii.
Sistemele de congelare sunt urmatoarele:
▪ in curent de aer rece;
▪ prin contact cu suprafete metalice reci;
▪ prin contact direct cu agentii intermediari;
▪ prin contact direct cu agentii criogenici.
In procesul congelarii si depozitarii congelatelor, fructele si legumele sufera unele modificari in valoarea lor nutritiva, in sensul diminuarii ei. Pentru ca aceste diminuari sa fie minime, este absolut necesar ca operatiile tehnoloogice sa fie executate cu mare acuratete.
Cele mai importante schimbari fizico-chimice ce apar in timpul depozitarii sunt:
- pierderile in greutate;
- arsura de congelare;
- modificarile de culoare si gust-aroma;
- modificari in continutul vitaminic;
- modificari ale extractuluisolubil si aciditatii.
1.2.3. DECONGELAREA
Este operatia inversa congelarii - actiunea prin care produsele sunt readuse in stare de a fi pregatite pentru consum sau a fi consumate fara pregatire. In timpul decongelarii tesuturile se rehidrateaza, iar apa recapata aspectul normal.
Metodele de decongelare pot fi impartite in doua grupe:
decongelare din exterior spre interiorul alimentului de decongelat (aer cald sau vapori, conductie, apa calda, placi metalice calde):
◦ in aerul ambiant (a carei temperatura este recomandabil sa fie de 20C);
◦ in aerul ambiant in miscare (identica cu cea anterioara, cu deosebire ca aerul va fi pus in miscare cu ajutorul unui ventilator);
◦ in apa (consta in introducerea alimentului intr-un vas cu apa rece);
◦ in refrigerator (metoda care dureaza un timp mai indelungat si anume de la 24 la 36 de ore in functie de marimea pachetului de decongelat);
◦ la caldura (consta in introducerea alimentului congelat in cuptor la 50-60C timp de 30-45 de minute);
◦ prin fierbere sau prajire (se va introduce alimentul de decongelat intr-o oala in care ap este in fierbere sau intr-o tigaie cu grasime incinsa);
◦ sub vid (este considerata o metoda pretentioasa, presupunand o dotare tehnica si consta in introducerea alimentelor congelate sub un clopot, impreuna cu cateva recipiente de apa calda si cu ajutorul unei pompe se face vid in interiorul clopotului);
◦ prin dublu contact (produsele congelate in congelatoare cu placi se pot decongela prin introduserea unui lichid in placile respective care sa aibe temperatura de 20C, temperatura necesara pentru decongelare).
decongelare cand caldura este introdusa in masa alimentului de congelat (dielectric, microunde):
◦ prin rezistenta electrica (produsul congelat este asezat sub forma de sandwichintre doi electrozi ai curentului electric - acesta trrecand prin masa produsului il incalzeste);
◦ prin inalta frecventa: dielectrica, microunde (produsul este incalzit intr-un camp de inalta frecventa, electrozii curentului nefiind in contact cu produsul.
1.3. TRATAMENTE TERMICE
Tratamentele termice transforma materiile prime in produse comestibile, usor asimilabile, apetisante, neutralizand in acelasi timp eventualii agenti de degradare calitativa. Operatiile specifice prelurarii termice necesita utilaje speciale care sa asigure transferul caldurii necesare:
. incalzirile care nu depasesc 150-200˚C se realizeaza cu abur saturat sau apa calda;
. incalzirile electrice prezinta avantaje importante fata de incalzirea cu purtatorii de caldura materiali, fiind mai rapida;
. radiatiile infrarosii pot fi surse cu incalzire electrica sau surse de incalzire cu gaze combustibile;
. curentii de inalta frecventa (microundele) sunt o sursa moderna utilizata in mod deosebit la finisarea aparatelor culinare sau la decongelarea unor produse usor alterabile.
Tratamentele termice se pot clasifica astfel:
tratamente hidrotermice: desfasurate in prezenta apei (oparirea, fierberea);
tratamente xerotermice: desfasurate in absenta apei (evaporarea, prajirea, frigerarea, coacerea).
Procedeele moderne folosite in gastrotehnie inlocuiesc tratamentele xerotermice obisnuite cu cele realizate in vase cu teflon care nu necesita un lichid de contact cu schimbatorul de caldura, iar durata tratamentului este redusa.
Fabricarea produselor tip catering permite o valorificare superioara si complexa a materiilor prime, aditivarea cu un sortiment diversificat de constituenti de gust, aroma, aspect, posibilitatea de fortificare cu substante biologic active (aminoacizi esentiali, vitamine, saruri minerale), precum si echilibrarea valorii nutritive.
Prin aplicarea sistemului catering, se asigura concentrarea productiei in unitati mari cu toate avantajele acesteia: cresterea gradului de mecanizare a operatiilor de prelucrare primara cu consecinte net favorabile in reducrea pierderilor; aplicarea metodelor moderne, cu scurta durata de prelucrare termica care permit mentinerea substantelor nutritive in alimentele prelucrate in proportii cat mai apropiate de cele initiale, conservarea si convertirea in conditii adecvate, posibilitatea cresterii eficiente a combinatiilor sortimentale, asigurarea igienei prin implementarea unor metode moderne. Se asigura realizarea unor produse finite salubre, cu valori nutritive echilibrate.
Dintre tratamentele termice cunoscute capata o tot mai mare extindere fierberea in suc propriu, inabusirea, fierberea in vapori supraincalziti, tratamente a caror durata si temperatura nu afecteaza profund valoarea nutritiva a materiilor prelucrate.
2. SISTEMUL CATERING
In economia de piata intreprinderile sunt in concurenta in vanzarea bunurilor si serviciilor lor. Pentru a face fata cu succes concurentei, preocuparea lor principala este de a servii interesele consumatorilor. Ca urmare ele se vor stradui sa produca numai bunuri care satisfac mai bine cerintele clientilor.
Intreprinderile care reusesc sa lanseze noi produse sau sa imbunatateasca nivelul calitativ al produselor existente au sanse sa castige un segment mai mare de piata in defavoarea celorlalte care vor trebui sa si reduca activitatea.
Gusturile si preferintele clientilor au o evolutie dinamica. Producatorii trebuie sa urmareasca aceste schimbari, sa le anticipeze si chiar sa si pregateasca din timp restructurarea productiei in directia adecvata pentru a fructifica oportunitatile oferite de piata
Omul modern, este tentat tot mai mult de procurarea hranei gata preparata (convenience foods).
Produsele clasice oferite de industria alimentara, insuficiente sortimental, nu satisfac dorintele si exigentele marii mase a consumatorilor care, cauta modalitati noi de procurare a unor elemente usor convertibile, rapid, comod si economic totodata
Metoda clasica de realizare a numeroase preparate culinare in bucatarii mari si in unitati cu autoservire prezinta numeroase dezavantaje:
costuri mari impuse de investitiile pentru dotarea spatiilor de productie;
un indice scazut de utilizare a capacitatilor de productie;
volum mare de munca manuala
dificultati mari in aprovizionare datorate unor materii prime sezoniere si din aceasta cauza o gama sortimentala relativ restransa
Sistemul catering implica doua etape distincte separate in timp si spatiu:
a. Cateringul industrial care curpinde fazele de productie industriala
(centralizata si de conservare (de obicei prin congelare);
Aceasta etapa se desfasoara in unitati de productie si consta in producerea centralizata a preparatelor culinare (prelucrare primara, preparare, portionare) si conservarea acestora pe langa durata printr-un sistem adecvat (congelare, refrigerare, sterilizare, deshidratare). Cea mai indicata si cea mai utilizata metoda de conservare este congelarea.
b. Cateringul comercial care cuprinde fazele de conservare, respectiv depozitare in spatii de congelare, faza de convertire a preparatului prin decongelare si tratament termic si respectiv cea de consum (intr-o unitate de alimentatie publica sau consum familial).
Se desfasoara in unitatile de alimentatie publica, unitati de consum colectiv sau la domiciliu. Preparatele culinare sunt depozitate pana in momentul convertirii lor in produse ce se pot consuma direct.
Meniurile realizate prin sistemul catering prezinta avantajul nu numai al diversitatii dar si al asigurarii continutului nutritional adecvat, iar pretul la care se realizeaza preparatele sunt mai scazute decat in tehnologia culinara clasica
Pentru a face fata, o intreprindere trebuie:
sa organizeze productia zi de zi,
sa stabileasca ce sortimente de produse sa realizeze si in ce cantitate,
ce materii prime ar fi cel mai bine sa utilizeze,
cat si ce fel de lucratori trebuie sa foloseasca, ce anume si cum trebuie utilizate utilajele existente in modul cel mai eficient,
in ce fel trebuie distribuite consumatorilor produselor finite si cu ce pret
In economia de piata pretul are un rol crucial. Prin pret clientii primesc informatii cu privire la suma de bani pe care trebuie sa o cheltuiasca pentru a obtine un produs. La producatori, pretul determina marirea profilului la care se pot astepta producand si vanzand produsele.
Pe baza cunoasterii preturilor factorilor de "input" pentru productie (munca, capital si materii prime) si preturilor produselor pe care le realizeaza, fabricantul are competenta sa decida ce, cum si cat de mult trebuie produs din fiecare tip de produs, astfel incat, sa se obtina o eficienta cat mai ridicata
Turismul si tendinta de servire a mesei in afara domiciliului au contribuit la cresterea permanenta a cererii de produse culinare, la cresterea permanenta a cererii de produse culinare, la cresterea ponderii productiei proprii in totalul cifrei de afaceri.
Fluxul turistic determina o permanenta fluctuatie a intensitatii cererii de produse culinare creand in anumite ore ale zilei o aglomeratie in care satisfacerea exigentei clientilor devine o problema greu de solutionat, in special datorita prelungirii timpului de servire, cauzat de lipsa temporara de locuri si de timpul executari comenzii.
Sistemul catering propune solutionarea eficienta a deficientelor productiei din bucatariile clasice prin realizarea pe cale industriala a unor preparate, sau prelucrarea primara centralizata a legumelor si carnii.
In practica internationala se observa extinderea sistemului catering datorita posibilitatii sporite pe care le ofera in vederea adoptarii ofertei de preparate culinare la cererea clientilor precum si a avantajelor pe care le asigura aplicarea sa.
Se disting doua tipuri de restaurante:
a.Alimentatia publica (restaurante comerciale) cuprinde:
- alimentatia publica traditionala (exemplu: restaurante si hoteluri restaurant);
- noua alimentatia publica (exemplu: fast-food-uri, restaurante vieneze, cafeteria).
Fast-food -ul se defineste prin particularitatile urmatoare:
servicii rapide (5 minute),
preparate simple,
posibilitatile consumului pe loc sau la pachet,
preturi reduse.
(exemplu: Mc Donald's, Burger-King, Pizza Hut, Quick)
b.Cantinele-restaurant sunt unitatile care se adreseaza colectivitatilor din intreprinderi, scoli, facultati, spitale, cazarmi, colonii de vacanta, clinici, case de copii, camine, de batrani si inchisori si cuprind:
- unitati integrate in care colectivitatile respective administeaza ansamblul restaurantului: echipament, aprovizionare, personal;
- unitati concensionate unei societati de alimentatie publica total sau partial, pentru functionarea restaurantului.
In ceea ce priveste alimentatia publica comerciala, se va dezvolta segmentul noilor forme de restauratie: cafeteria, fast-food, restaurantul vienez.
Produsele comercializate care inregistreaza cele mai importante cresteri sunt: hamburger, pui, pizza, tipuri de preparate mexicane. Acestea duc la:
◦ cresterea vanzarilor de produse "la pachet" pentru a fi consumate la domiciliu, in mers sau in masina
◦ cresterea de produse livrate la domiciliu. Se urmareste selectarea produselor si furnizorilor pentru a obtine calitatea cea mai potrivita cerintelor proprii; obtinerea de conditii de cumparate mai avantajoase (pret, conditii de plata si livrare) pentru a centraliza cumparaturile.
Formele centralizate sunt:
centre de cumparare
(ex: SCAPA - Societatea Centralizata de Aprovizionare cu Produse Alimentare, ACCOR-Centrala de Aprovizionare a Asistentei Publice din Paris);
centrale de negociere
(ex: APREST-Generale de Restauration);
grupuri de consultanta colectiva
(ex: scoli, universitati, spitale).
Activitatea de productie se desfasoara in:
bucataria centrala, care pregateste preparatele si semipreparatele si care sunt consumate pe loc urmand a fi livrate racite sau nu, dupa caz. Produsele realizate in aceste bucatarii sunt transportate cu mijloace de transport adecvate urmand a fi consumate in 12 ore sau maxim 6 zile (cele refrigerate sau congelate).
bucataria satelit unde se afla si restaurantele.
Aprovizionarea se face in functie de tipul de unitate:
Restaurantele cu bucatarii traditionale - se aprovizioneaza cu materii prime brute si necesita echipamente si suprafete corespunzatoare pentru sortare, transformare, servire.
Restaurantele cu bucatarie de asamblare (finisare) realizeaza gustari mancaruri, deserturi pornind de la semifabricate sau materii prime pregatite in functie de reteta sau fara prelucrare termica
Ele se aprovizioneaza de la unitatile de catering industrial, asigurand o crestere a productivitatii muncii, o organizare a muncii specifica diferitelor specializari ale lucratorilor, reducerea necesarului de echipamente de lucru, de suprafata de productie si de depozitare, reducerea costurilor de aprovizionare si a manoperei.
Cateva modalitati de organizare a acestor restaurante sunt:
. restaurantele cu bucatarie traditionala cu utilizarea ocazionala a asamblarii;
. restaurantele cu bucatarie de asamblare in care produsele semi elaborate se utilizeaza cat mai des cu putinta (suprima operatii de prelucrare primara
. restaurantele cu bucatarie de finisare.
Restaurantele satelit reprezinta cel mai evoluat mod de organizare a restaurantelor.
Activitatea de alimentatie publica se diferentiaza de celelalte sectoare ale comertului cu amanuntul prin particularitatile proceselor de munca
Astfel, in cadrul unitatii de alimentatie publica vanzarea si consumul produselor sunt simultane si se imbina cu procesul de productie a preparatelor culinare si de cofetarie-patiserie.
In functie de nivelul de dezvoltare atins de alimentatia publica in diferite tari, ponderea utilizarii semipreparatelor catering este diferita, dar avantajele sistemului atrag din ce in ce mai mult interesul specialistilor.
Un factor hotarator in schimbul modului de a se hranii populatia este atentia deosebita pe care oamenii au inceput sa o acorde sanatatii lor.
Argumentele cele mai importante care au condus la aparitia, supravietuirea si consolidarea cateringului au fost de ordin economic.
Premisele succesului unei semenea actiuni au fost intotdeauna, indiferent de tara urmatoarele:
- mari capacitati de productie, cu linii continue de fabricatie;
- mecanizarea si automatizarea procesului tehnologic;
- modernizarea procesului de obtinere a alimentelor prin aplicarea de tehnologii traditionale si noi, biotehnologia, emulsionarea;
- respectarea riguroasa a conditiilor de lucru, cu obtinerea calitatii superioare a produsului finit;
- extinderea gamei de aditivi alimentari;
- economii de timp si eforturi pentru pregatirea si servirea hranei in favoarea clientului;
- posibilitatea implementarii practice a piramidei alimentelor;
- valorificarea superioara a resurselor de materii prime;
- operand cu semifabricate rezultate din cateringul industrial se poate asigura o inocuitate maxima
- un lant frigorific perfect pus la punct, in special reteaua de transport si spatiul de depozitare la consumator;
- sistemele noi de preambalare si ambalare corespund;
- sistemele adecvate de decongelare si incalzire a produselor finite.
Sistemul catering se adreseaza in special consumatorilor colectivi: cantine scolare, cantine restaurant din intreprinderi, unitati militare, restaurante cu autoservire. Aceste sisteme au luat nastere in SUA si s-au raspandit in Anglia, Germania, Suedia si Franta.
In productia si diversificarea sortimentului de produse catering se constata urmatoarele directii:
2.1. CATERINGUL INDUSTRIAL
Dezvoltarea turismului si accentuarea tendintei de servire a mesei in afara domiciliului au contribuit la cresterea permanenta a cererii de produse culinare precum si la o distribuire neuniforma a cererii in timpul zilei cu diferente mari intre nivelul maxim si nivelul minim al cererii.
Sistemul catering are drept obiectiv principal solutionarea deficientelor productiei din bucatariile clasice, nu numai prin productia unor preparate finite (gata de consum) intens solicitate, ci si a unor semipreparate tip gospodina, sau cel mai adesea, prelucrarea primara centralizata a legumelor si carnii, solutie practicata la noi.
Trecerea la sistemul catering se realizeaza numai in urma unor studii tehnico-economice competente, care fundamenteaza solutiile alese ca fiind cele mai eficiente.
Productia in sistem catering se desfasoara in mod continuu cu ajutorul unor utilaje de inalt randament carora nu le-am putea justifica exploatarea judicioasa in bucatariile traditionale ale unitatilor de alimentatie publica, oricat de mari ar fi ele.
Unele probleme tehnico-organizatorice, datorate separarii locului de productie si de cel al consumului, sunt de o importanta deosebita. Dintre acestea mentionam: ambalarea, se poate face in portii individuale (solutie mai avantajoasa), sau intr-un numar determinat de portii. Pentru rezolvarea optima a acestei probleme complexe este solicitat sprijinul industriei ambalajelor care trebuie sa asigure o mare diversitate de ambalaje;
Pentru conservare se pot folosi metodele cunoscute:
sarare si afumare pentru carne si peste,
deshidratarea pentru legume,
pasteurizarea,
sterilizarea, insa unde trebuie facuta o mentiune speciala pentru congelarea rapida, la -35 C, care este cea mai utilizata in practica mondiala si care, la randul ei, presupune rezolvarea problemei conditiilor optime de transport, depozitare si a duratei de pastrare.
Pentru cateringul industrial, caracteristic este fenomenul de centralizare a operatiilor parcurse de la materia prima la produsul finit si metodele de conservare a produselor finite.
Tehnologia de fabricatie a preparatelor culinare tip catering este asemanatoare tehnologiei culinare din unitatile clasice de alimentatie publica, cu particularitati tehnologice legate de conservarea produselor finite.
Capacitatea unei astfel de sectii de productie se stabileste in functie de numarul persoanelor deservite, de consumul zilnic preconizat, de tipurile de preparate ce alcatuiesc o priza alimentara in functie de capacitatea de productie calculata, detaliind celelalte elemente definitorii pentru activitatea ei si anume:
necesarul de utilaje de productie,
capacitatea de congelare,
necesarul de personal,
capacitatea de transport.
Gama sortimentelor care se produc in intreprinderi trebuie sa fie cat mai larga si ele sunt cu atat mai numeroase cu cat capacitatea de productie este mai mare, organizarea mai buna si piata de desfacere mai extinsa
In functie de beneficiul caruia ii este destinat alimentul, portiile pot varia de la cateva sute de grame (portii individuale) la cateva zeci de kilograme (pentru livrari la cantine, spitale, cazarmi etc).
Realizarea industriala a preparatelor culinare trebuie corelata cu activitatea de congelare desfasurata de industria alimentara sau realizarea unor spatii de productie care sa asigure desfasurarea corespunzatoare a operatiilor componente.
Numai congelarea ofera posibilitatea producerii preparatelor culinare la scara industriala, a transporturilor la distanta si a aprovizionarii in acest fel a consumatorilor colectivi.
Avantajele pe care le aduce cateringul in alte tari, au trezit interesul unor specialisti din tara noastra in special din Ministerul Turismului, privind posibilitatea implementarii la noi in tara si mai ales la ce nivel se poate extinde.
Pentru tara noastra cateringul este foarte interesant in special in vederea satisfacerii necesitatilor sezonului de vara pe Litoral, cand fluxul turistic impune un numar mare de personal in reteaua de restaurante si cand apar serioase probleme privind aprovizionarea si servirea in aceste unitati.
2.2. CATERINGUL COMERCIAL
Cateringul comercial este sinonim cu organizarea desfacerii produsului de catering industrial. Veriga de legatura intre cateringul industrial si cel comercial este distributia.
Experienta unor tari care folosesc pe scara larga cateringul, ca de exemplu SUA si Suedia indica niste principii de baza in acest domeniu:
▫ nu este de conceput utilizarea cateringului fara lant frigorific perfect pus la punct, respectiv, fara asigurarea transportului cu mijloace specializate si de preferinta in instalatii izoterme de dimensiuni tipizate;
▫ rationalizarea comertului en-gros cu realizarea unor depozite frigorifice si amplasarea de preferinta in centrele de consum pentru a fi accesibile punctelor sau unitatilor de desfacere.
In general fiecare punct sau centru de consum are instalatiile proprii pe care le depune la antrepozit la o anumita ora in cursul zilei urmand sa le ridice a doua zi racite si incarcate cu marfa comandata si sa le descarce in depozitul propriu.
Cateringul comercial solutioneaza problemele puse de aprovizionare si prepararea hranei in marile bucatarii ale spitalelor, cantinelor, cazarmilor care cer cheltuieli de investitie mari, personal specializat si numeros.
Compararea costurilor intre bucataria clasica si cea care utilizeaza preparate culinare congelate indica economii care reprezinta circa 65% din cheltuielile de investitii si 85% din salarii.
Chiar conducerea si administrarea unei astfel de cantine nu mai prezinta probleme in cazul in care furnizorul asigura o gama suficienta de produse putandu-se alcatui meniuri variate la care sa se calculeze cu usurinta cheltuielile curente si pentru care sa nu mai existe probleme referitoare la aprovizionare sau personal.
Problema plasarii unitatilor centralizate si problema transporturilor constituie punctele cheie ale sistemului. Elementul hotarator in fixarea retelei de unitati este atingerea unui inalt grad de utilizare a capacitatii si asigurarea unor cheltuieli de fabricatie, transport, comercializare minime.
Livrarea preparatelor culinare catre unitatile de comercializare, convertirea lor, astfel incat sa treaca cateva minute de la starea congelata la starea adecvata pentru consum, este conditionata de asigurarea unor ambalaje convenabile, ca dimensiuni si material, si de existenta utilajelor speciale de convertire.
Pentru prognozarea volumului de productie in cadrul sistemului catering este necesara prospectarea pietei, sondarea opiniei consumatorilor, popularizarea si promovarea vanzarilor, in asa fel incat produsele congelate tip catering sa fie acceptate de consumatori.
In ceea ce priveste utilizarea la domiciliu a preparatelor culinare congelate de catre consumatorul individual acesta ridica unele probleme referitoare la echiparea gospodariilor atat cu congelatoare, in care gospodina sa si poata realiza pastrarea unui stoc minim de asemenea produse cat si cu sisteme adecvate de decongelare si incalzire, dat fiind faptul ca utilizarea unui sistem clasic de incalzire nu duce la rezultate acceptabile.
Convertirea produselor de catering industrial in produse de catering comercial se realizeaza, dupa caz, prin decongelare, rehidratare, reincalzire, asociere si finisare.
Utilizarea unui anumit procedeu de conservare a produselor de catering industrial implica operatii tehnologice specifice in urma carora produsele sufera modificari fizice, chimice si chiar biochimice. De obicei valoarea gustativa si nutritiva se amelioreaza
Pregatirea produselor catering pentru consum - convertirea - se realizeaza, pe de o parte, in functie de tipul preparatelor si utilajelor disponibile, iar pe de alta parte, se urmareste realizarea unui echilibru intre diferitele procedee care asigura o operativitate maxima la operatiile efectuate.
Conditiile organizatorice impuse de comercializarea produselor catering se refera la fluxul tehnologic parcurs de produsele congelate, deshidratate, termosterilizate pentru a fi transformate in produse finite, lantul frigorific si utilajele de decongelare utilizate.
In vederea obtinerii de rezultate cat mai bune se impune dimensionarea si amplasarea rationala a spatiilor in cadrul unitatii:
sala de servire,
bucatarie rece,
bucatarie calda
camere frigorifice pentru semipreparate si preparate finite catering pe grupe de preparate,
spatii pentru depozitarea ambalajelor necesare comercializarii produselor (pentru consum in afara unitatii),
spatii pentru colectarea deseurilor,
spalator vesela
spatii in oficiul de distribuire,
spatii auxiliare etc.
Produsele culinare realizate prin sistemul catering necesita ambalaje speciale care sa corespunda atat restrictiilor de inocuitate si neutralitate fata de produs dar si necesitatii de a rezista variatiilor mari de temperatura, de la temperatura de congelare la cea de tratament termic. Aceste produse se pot pastra perioade mari de timp fara deprecierea calitatii, insa numai printr-o ambalare la care sa se foloseasca materiale si procedee care sa corespunda necesitatii lor de protectie.
Clasificarea produselor alimentare are drept scop sistematizarea acestor produse intr-un ansamblu logic si sinoptic, grupate dupa proprietatile lor sau dupa alte caractere distinctive. La elaborarea unei clasificari, o importanta decisiva o are sistemul criterial adoptat in functie de domeniul utilizarii preconizate.
Principalele criterii utilizate sunt urmatoarele:
a). Originea (produse de origine vegetala, animala si minerala);
b). Gradul de prelucrare tehnologica (materii prime, semifabricate, produse finite);
c). Compozitia chimica (produse cu preponderenta lipidica, protidica, gustativa);
d). Destinatia in consum (produse nutritive, gustative, mixte);
e). Stabilitatea (produse usor alterabile, alterabile si greu alterabile);
f). Modul de ambalare (vrac, semivrac, preambalate).
2.4. CLASIFICAREA PRODUSELOR CATERING
![]()

3. IMPACTUL ECONOMIC AL INTREPRINDERII DE PRODUSE CATERING ASUPRA SOCIETATII
3.1. SCURT ISTORIC
La deschidere, restaurantul HAROLD'S dispunea doar de o sala la parterul cladirii, dar dupa extinderea realizata din anul 1998 detine si o sala la etaj cu terasa, care in anotimpurile reci se inchide, ajungand la capacitatea totala de 110 locuri. Personalul angajat al restaurantului HAROLD'S a evoluat de la numarul de 10 salariati in 1996 la numarul de 32 de salariati in prezent, personal diversificat ca varsta, foarte bine calificat si organizat capabil sa satisfaca cele mai exigente si extravagante cerinte. Clientii se pot deplasa la adresa restaurantului pentru a se delecta cu o gama diversa de preparate culinare oferite intr-un mediu primitor, placut si intim. Clientii se mai pot adresa si telefonic la numarul 056-196335, pentru diferite comenzi la domiciliu, rezervari, informatii despre preturile practicate de restaurant sau pentru diferite servicii de catering pe care le presteaza restaurantul, plata efectuandu-se la livrarea produselor. Pentru livrari la domiciliu sau pentru diferitele festivitati, la care restaurantul HAROLD'S este solicitat, acesta are la dispozitie doua autoturisme Dacia, unul tip "papuc" si unul tip Berlina model 2000 cu soferi profesionisti care sunt la dispozitia firmei in schimburi pe tot parcursul zilei. Pentru unele manifestari mai ample la care sunt solicitate serviciile restaurantului, la dorinta clientului, acesta poate sa asigure si personalul de deservire si intretinere (curatenie) inainte si dupa evenimentul propriu-zis, din resursele proprii cu personal foarte bine calificat.
La cererea clientilor, pentru nunti, botezuri, zile onomastice sau orice tip de petrecere mai restransa, se poate pune la dispozitia acestora si salile de mese proprii prin inchiriera acestora asigurandu-se in special un plus de rapiditate in servirea "musafirilor" si evident o eficienta si rentabilitate in favoarea clientului. Clientela restaurantului este diversificata atat ca varsta, dar si ca nationalitate, aceasta datorita bucatariei internationale diversificate, pe care multe persoane din alte tari o apreciaza si o consuma cu regularitate. Preturile accesibile ale restaurantului sunt si pe masura resurselor financiare ale persoanelor tinere, in general studentii de la numeroasele camine din imprejurimi, dar si pentru celelalte categorii in special pentru pensionari.
Media de varsta este in jur de 25-30 de ani, deci cuprinde persoane foarte tinere, precum si varstnici, adica de la 14 ani la 65 ani. Pe viitor restaurantul HAROLD'S are ca principal obiectiv largirea gamei de produse culinare si produselor alcoolice si racoritoare pe care le ofera clientilor sai, dar si extinderea spatiului alocat bucatariei si modernizarea acestuia cu aparatura moderna pentru a asigura o rapiditate si eficienta sporita in servirea clientilor si onorarea comenzilor, precum si introducerea unui sistem de aer conditionat in salile de mese de la etaj, terasa si bucatarie care este in faza de proiectare la o firma specializata din Timisoara.
In anii ce urmeaza se asteapta o crestere a numarului clientilor in randul persoanelor din strainatate, prin introducerea unor produse culinare noi si din mai multe regiuni ale lumii special produsele culinare din bucataria greceasca.
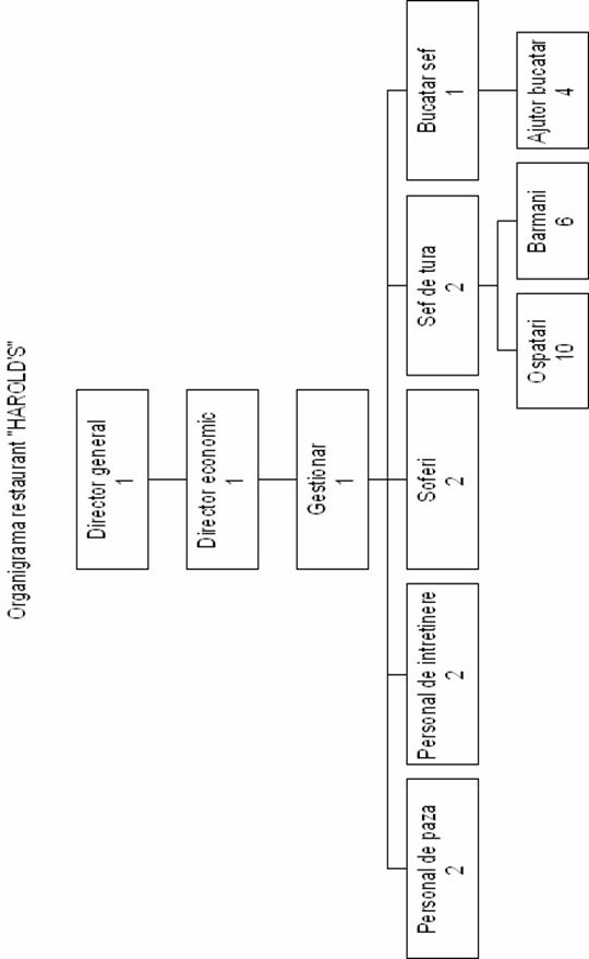
3.2. ORGANIZAREA S.C. HAROLD'S

Figura 3.1. Organigrama SC HAROLD'S
Structura organizatorica a SC HAROLD'S este prezentata in tabelul numarul 1 si figura 3.1.
Tabel nr.1
Structura organizatorica
|
Denumirea functiei |
Numar personal |
|
1 |
|
|
Director economic |
1 |
|
Gestionar |
1 |
|
Personal de paza |
2 |
|
Personal de intretinere |
2 |
|
2 |
|
|
Sef de tura |
2 |
|
Bucatar sef |
1 |
|
Ajutor de bucatar |
4 |
|
Ospatari |
10 |
|
Barmani |
6 |
|
Total |
32 |
3.3. INDICATORII ECONOMICI LA S.C. HAROLD'S
Un indicator economic, la modul general, este expresia numerica a laturii cantitative a fenomenelor si proceselor economice, in conditii reale de loc si timp. Indicatorul economic se poate exprima in marimi relative sau absolute.
3.3.1. EVOLUTIA PRODUCTIVITATII MUNCII IN PERIOADA 1999 - 2001 LA SC HAROLD'S
Factorul de productie munca este cel mai important pentru orice activitate economica si, ca urmare, productivitatea muncii este cel mai relevant indicator utilizat in analize economice.
Productivitatea muncii se defineste sub forma capacitatii muncii de a crea intr-o perioada de timp o anumita cantitate de bunuri sau presta anumite servicii. In apreciarea productivitatii muncii se iau in considerare doar acele efecte care se pot masura.
Marimea productivitatii muncii se masoara fie prin cantitatea si calitatea bunurilor obtinute si a serviciilor prestate intr-o unitate de munca, fie prin cheltuiala de munca care revine pe o unitate de bun economic.
Exprimarea productiei si a cheltuielilor de munca se poate realiza in modalitati diferite. Productia se exprima in unitati naturale (m, kg), natural - conventional (bucati, perechi) si valorice, iar cheltuielile de munca se pot exprima in unitati de timp (om-ore, om-zile) sau numar salariati.
Pentru stabilirea productivitatii muncii se va folosi formula:
W =
, unde
W - productivitatea muncii
I - incasari totale = 2 miliarde lei
Np - numar personal = 32 angajati
Avand datele necesare se calculeaza productivitatea muncii in perioada 1999 - 2001:
W1999 = 1.333.333.334 : 32 = 41.650.000 lei
W2000 = 1.538.461.539 : 32 = 48.075.000 lei
W2001 = 2.000.000.000 : 32 = 62.500.000 lei
Tabel nr.2
Productivitatea muncii pe perioada 1999-2001
Perioada (ani) |
1999 |
2000 |
2001 |
|
W (mii lei) |
41.650 |
48.075 |
62.500 |

Figura 3.2. Evolutia productivitatii la SC HAROLD'S
Se observa in figura 3.2. ca in perioada 1999 - 2001 productivitatea muncii creste.
Aceasta crestere reprezinta procesul prin care acelasi volum de munca se concretizeaza intr-o cantitate mai mare de bunuri si servicii - in cazul nostru venituri (incasari) - sau invers, aceeasi masa de bunuri se realizeaza cu un volum mai mic de munca. Aceasta presupune o schimbare in factorii de productie, in modul lor de combinare si desfasurare a activitatii astfel incat o cantitate data de munca dobandeste forta de a produce o cantitate mai mare de bunuri.
3.3.2. EVOLUTIA PROFITULUI IN PRIOADA 1999 - 2001 LA SC HAROLD'S:
Orice activitate care reclama consum de resurse trebuie sa aduca intreprinzatorului profit, deci motivatia existentei intreprinderii este obtinerea de profit. Meidul extern al unitatii influenteaza profitul (marimea sa), in mod pozitiv sau negativ.
Este gresita conceptia unor intreprinzatori, aplicata in prezent de majoritatea lor, conform careia vor realiza un profit maxim, in conditii de risc ridicat, in termen cat mai scurt, astfel vor sacrifica viitorul intreprinderii, deoarece practica preturi ridicate, iar calitatea serviciilor pe care le ofera este nesatisfacatoare pentru consumatori care vor fi nemultumiti.
Profitul normal sau mediu este acel venit minim pe care trebuie sa-l realizeze orice intreprinza-tor, in orice domeniu de activitate si care reprezinta venitul sau alternativ sau costul de oportunitate al sanselor la care el a renuntat.
Profitul net sau economic este profitul obtinut de intreprinzator peste profitul normal sau mediu.
Acest profit poate fi realizat numai atunci cand incasarile intreprinderii depasesc cheltuielile totale ale acesteia. Astfel, daca exista profit net, inseamna ca investitia a fost profitabila.
Dar profitul net poate fi obtinut numai pe termen scurt. Pe termen lung toti intreprinzatorii pot obtine profituri normale sau medii.
Viabilitatea firmei rezulta din capacitatea de a obtine pe termen lung, in conditii de risc scazut un profit moderat.
De aceea trebuie eliminat din modul de gandire al intreprinzatorului acea goana dupa profit si instituirea unei atitudini rationale, conceperea de programe cu strategii pe termen lung.
Pentru a calcula profitul pe ansamblul activit atii se va folosi formula:
P(profitul) = I(incasari) - Ch(cheltuieli)
Restaurantul HAROLD'S a realizat pe perioada 1999-2001 un profit net de (mii lei):
1999
166.666 lei
2000
230.769 lei
2001
300.000 lei
Tabel nr.3
Profitul pe perioada 1999-2001
|
Perioada (ani) |
1999 |
2000 |
2001 |
|
P (mii lei) |
166.666 |
230.769 |
300.000 |
Figura 3.3. Evolutia profitului la SC HAROLD'S
Se observa in figura 3.3 ca profitul are si el o tendinta crescatoare ca si ceilalti indicatori.
3.3.3.EVOLUTIA CIFREI DE AFACERI IN PERIOADA 1999 - 2001 LA SC HAROLD'S
Cifra de afaceri este un indicator statistic, economico-financiar de baza al unei firme, determi-nat prin insumarea veniturilor (incasarilor) rezultate din vanzarea bunurilor, ca urmare a actelor de comert, la preturile pietei, intr-o perioada data de gestiune economica (luna, trimestru, an). In limbajul financiar-contabil, cifra de afaceri mai este cunoscuta sub denumirea de "vanzari" sau de "venituri brute".
Serveste ca indicator de apreciere a marimii unei unitati economice, a puterii ei economico-financiare.
Cifra de afaceri sta la baza impunerii fiscale.
Cifra de afaceri reprezinta vitalitatea intreprin-derii, masurand performanta economica a unei firme.
Cifra de afaceri este inregistrata in unitati monetare curente, dar in perioada de puternica crestere a preturilor, daca nu se procedeaza la corectarea inflatiei, informatiile isi pierd din fiabilitate, iar concluziile analizei sunt deformate.
Starea reala a unitatii prezinta o deosebita importanta pentru definirea strategiei acesteia, proble-mele unitatii nefiind aceleasi daca ea se afla in faza de crestere sau in faza de declin.
Cifra de afaceri in lei constanti se obtine corectand cifra de afaceri in lei curenti cu rata inflatiei dupa urmatoarea formula:
CAreala (t+1) = CA (t+1) x 1 : ip ,unde
CAreala - cifra de afaceri reala
ip - indicele de inflatie la momentul t+1
t+1 - perioada data de gestiune (luna, trimestru, an)
Se va porni de la structura veniturilor prezentate si se va observa ca cifra de afaceri are in componenta ei numai veniturile din vanzarea de produse. Astfel, cifra de afaceri pe perioada 1999-2001 (calculata anual) arata astfel:
Calculul evolutiei cifrei de afaceri pe an la SC HAROLD'S
(mii lei)
1999 165.000 lei/luna x 12 luni = 1.980.000
lei/an
2000 195.000 lei/luna x 12 luni = 2.340.000
lei/an
2001 265.000 lei/luna x 12 luni = 3.180.000
lei/an
CAreala 1999 = 1.980.000 x 1 : 1,37 = 1.445.255 lei (ip - 1,37%)
CAreala 2000 = 2.340.000 x 1 : 1,50 = 1.560.000 lei (ip - 1,50%)
CAreala 2001 = 3.180.000 x 1 : 1,45 = 2.195.000 lei (ip - 1,45%)
Tabel nr.4
Cifra de afaceri pe perioada 1999-2001
|
Perioada (ani) |
1999 |
2000 |
2001 |
|
CAreala ( mii lei) |
1.445.255 |
1.560.000 |
2.195.000 |

Figura 3.4. Evolutia cifrei de afaceri la SC HAROLD'S
Se observa in figura 3.4 ca cifra de afaceri creste intr-un ritm constant pe parcursul perioadei, cea mai mare influenta se simte si din partea indicelui de inflatie care nu este stabilt la o valoare care sa impuna niste fluctuatii mari.
3.3.4. EVOLUTIA CHELTUIELILOR IN PERIOADA 1999 - 2001 LA SC HAROLD'S
Cheltuielile reprezinta expresia baneasca a consumului de factori de productie pentru producerea si desfacerea unei marfi sau serviciu. Aceste cheltuieli sunt impartite pe trei grupe principale:
● cheltuieli efective;
● cheltuieli de exploatare;
● cheltuieli financiare.
Cheluielile unei unitatii mai pot reprezenta sumele sau valorile platite sau de platit pentru:
consumurile, lucrarile executate si serviciile prestate de care beneficiaza unitatea;
cheltuielile cu personalul;
executarea unor obligatii legale sau contractuale de catre unitate;
cheltuieli exceptionale.
Potrivit legii evidenta cheltuielilor se tine pe feluri de cheltuieli:
a). Cheltuieli de exploatare:
cheltuieli privind consumurile de materii prime, materiale auxiliare, combustibil, ambalaje, piese de schimb, alte materiale, costul de achizitie al materialelor nestocate, costul de achizitie al energiei si apei consumate si costul marfurilor vandute;
cheltuieli cu lucrari si servicii executate de terti (intretinere si reparatii), cheltuieli cu alte servicii executate de terti (comisioane, inclusiv cele platite agentilor economici cu activitate de comert si onorarii, cheltuieli de protocol, reclama si publicitate, transport de bunuri si personal, deplasari, transferari, posta si taxe de telecomunicatii, servicii bancare si altele;
cheltuieli cu impozite, taxe si varsaminte asimilate suportate de unitate (impozit suplimentar pe salarii, impozitul pe cladiri, alte impozite, taxe si varsaminte asimilate, cum sunt taxa pe folosirea terenurilor, taxa asupra mijloacelor de transport si altele);
cheltuieli cu personalul (salarii si alte drepturi de personal, asigurarile si protectia sociala, contributia unitatii la asigurarile sociale si pentru ajutorul de somaj si alte cheltuieli cu personalul suportate de unitate;
alte cheltuieli de exploatare.
b). Cheltuieli financiare (pierderi, diferente, dobanzi, alte cheltuieli financiare).
c). Cheltuieli exceptionale reprezentand acele cheltuieli care nu sunt legate de activitatea normala, curenta a unitatii si se refera fie la operatii de gestiune (despagubiri, amenzi, perisabilitati, donatii si altele), fie la operatii de capital.
d). Cheltuieli cu amortizari si prozivioane:
amortizarea imobilizarilor corporale;
amortizarea imobilizarilor necorporale.
e). Cheltuieli cu impozitul pe profit calculat potrivit legii.
Pe langa aceste cheltuieli, enumerate mai sus, specifice unei unitati mai intalnim si cheltuielile publice - efectuate din bugetul central si bugetele locale, pentru finantarea nevoilor colective. Acestea reflecta efortul financiar public pe anul respectiv, prevazut in bugetul de stat, in bugetele locale si in bugetul asigurarilor sociale de stat.
Tabel nr.5
Nivelul cheltuielilor pe perioada 1999-2001 la S.C. HAROLD'S
|
Perioada (ani) |
1999 |
2000 |
2001 |
|
Cheltuieli ( mii lei) |
1.133.333 |
1.307.700 |
1.700.000 |
Figura 3.5. Evolutia cheltuielilor la SC HAROLD'S
Se observa in figura 3.5 ca cheltuielile cresc o data cu trecerea de la un an la altul, datorita cererii de produse si cresterii numarului de clienti ai restaurantului si marirea cerintelor pentru gama de produse catering. Aceasta crestere se datoreaza si cresterii nevoilor restaurantului pentru satistfacerea clientilor, cresterea preturilor la materiile prime si a celorlalte datorii catre stat etc.
3.3.5. EVOLUTIA VENITURILOR IN PERIOADA 1999 - 2001 LA SC HAROLD'S
Veniturile unitatii sunt formate din sumele sau valorile incasate sau de incasat din:
livrari de bunuri, executarea de lucrari;
prestarile de servicii;
avantajele pe care unitatea patrimoniala a consimtit sa le primeasca;
executarea unei obligatii legale sau contractuale din partea tertilor;
venituri exceptionale.
Potrivit legii evidenta veniturilor se tine pe categorii de venituri, dupa natura lor, care se grupeaza astfel:
a). Venituri din exploatare:
venituri din vanzarea produselor, marfurilor, lucrarilor executate si din serviciile prestate (venituri din momentul predarii bunurilor catre cumparatori, al livrarii lor pe baza facturii sau in alte conditii prevazute in contract, care atesta transferul de proprietate a bunurilor respective asupra clientilor);
venituri din productia stocata, reprezentand variatia in crestere sau reducere intre valoarea de cost de productie la finele perioadei si valoarea stocurilor initiale ale produselor si productiei in curs;
veniturile din productia de imobilizari, reprezentand costul lucrarilor si cheltuielilor efectuate de unitatea patrimoniala pentru ea insasi, care se inregistreaza ca active imobilizate corporale si necorporale;
venituri din subventii de care beneficiaza unitatea din partea statului, a colectivitatii publice sau altor unitati;
alte venituri din exploatarea curenta;
veniturile realizate in avans, reprezentand incasari sau creante aferente unor bunuri nelivrate, a unor lucrari sau prestatii neefectuate.
b). Venituri financiare:
venituri din participatii;
venituri din alte imobilizari financiare;
venituri din creante imobilizate;
venituri din titluri de plasament;
venituri din diferente de curs valutar;
venituri din dobanzi;
venituri din sconturi obtinute;
alte venituri financiare.
c). Venituri exceptionale, reprezentand acele venituri care nu sunt legate de activitatea normala, curenta a unitatii si se refera fie la operatiuni de exploatare, fie la operatii de capital:
venituri din despagubiri;
venituri din penalitati incasate;
venituri din cedarea activelor;
cote-parti de subventii pentru investitii;
alte venituri exceptionale (donatii, salarii neridicate prescrise si alte venituri).
d). Venituri din diminuarea sau anularea provizioanelor.
Tabel nr.6
Nivelul veniturilor pe perioada 1999-2001 la S.C. HAROLD'S
|
Perioada (ani) |
1999 |
2000 |
2001 |
|
Venituri (mii lei) |
1.133.333 |
1.538.461 |
2.000.000 |
Figura 3.6. Evolutia veniturilor la SC HAROLD'S
Se observa in figura 3.6 ca in perioada 1999 - 2001 veniturile cresc datorita maririi volumului de afaceri realizat de catre restaurantul HAROLD'S si de serviciul de catering pe care-l asigura acesta pentru clientii care solicita serviciile sale.
Veniturile mai sunt obtinute si din diversele contracte cu oferte de catering pe diferite meniuri (de obicei la alegerea clientului) pe care le are unitatea cu firme din imprejurimile restaurantului.
3.3.6. SITUATIA INDICATORUILOR ECONOMICI IN PERIOADA 1999 - 2001 LA SC HAROLD'S
Indicatorii economici - sunt o expresie cu ajutorul careia se caracterizeza un fenomen social-economic din punct de vedere al volumului structurii si evolutiei lui in timp si al legaturii sale cu alte fenomene.
Indictorii economici exprima numeric latura cantitativa a fenomenelor si proceselor economice, financiare, bancare, sociale etc., la un moment dat, si/sau in dinamica lor.
Indicatorii economici se exprima in marime absoluta, relativa sau medie si reliefeaza nivelul, dinamica si structura fenomenelor analizate.
Mai sunt folositi si pentru diferite statistici de eficienta si comparatii periodice.
Tabel nr.7
Evolutia indicatorilor economici la S.C. HAROLD'S
in perioada 1999-2001
(mii lei)
|
Perioada (ani) |
1999 |
2000 |
2001 |
|
Productivitatea muncii |
41.650 |
48.075 |
62.500 |
|
Profitul |
166.666 |
230.769 |
300.000 |
|
Cifra de afaceri |
1.445.255 |
1.560.000 |
2.195.000 |
|
Cheltuieli |
1.133.333 |
1.307.700 |
1.700.000 |
|
Venituri |
1.133.333 |
1.538.461 |
2.000.000 |

Figura 3.7. Evolutia indicatorilor economici la SC HAROLD's
3.4. GAMA SORTIMENTALA A SC HAROLD'S
Intocmirea unui meniu corespunzator principiilor alimentatiei stiintifice inseamna de fapt gasirea modalitatilor de acoperire a necesarului fiziologic pentru o anumita categorie de consumatori, prin produse alimentare sau preparate corespunzatoare nutritiv, variate, cu caracteristici psihosenzoriale care sa atraga pe consumator, cu o putere de satietate care sa impiedice senzatia de foame timp de 4-5 ore.
Pentru intocmirea unui meniu se va tine seama de varietatea alimentelor si cantitatile zilnice ce se pot consuma de catre un om sanatos in cadrul unei alimentatii rationale ce are la baza normative stiintific fundamentale. In baza acestor normative s-au stabilit mai multe grupe de alimente, in functie de compozitia lor. In vederea realizarii unui aport echilibrat al factorilor nutritivi se recomanda consumarea zilnica a alimentelor din toate grupele principale si in anumite proportii care sunt prezentate in tabelul 7 si figura 3.8 si 3.9.
Tabel nr.7
Principalele grupe de alimente si aportul lor zilnic
ce se aplica in functie de varsta, sex, activitate si stare fiziologica


Figura 3.8. Aportul zilnic al principalelor grupe de alimente pentru copii intre 7-12 ani

Figura 3.9. Aportul principalelor grupe de alimente pentru adolescenti si oamenii in campul muncii
Meniurile comercializate de unitatile de alimentatie publica se adreseaza unei grupe tip de consumatori. Cantitatea de preparate culinare consumate zilnic trebuie sa cuprinda toate grupele de alimente in anumite proportii. La fiecare masa sau principalele mese trebuie sa existe atat produse de origine animala cat si produse vegetale.
Gradul de satisfacere a necesarului de substante nutritive este determinat de influenta operatiilor de prelucrare culinara asupra valorii nutritive initiale a materiilor prime prelucrate.
Atitudinea nutritionala a unui preparat culinar depinde de numarul si importanta substantelor nutritive pe care le contine, de relatia acestora cu alte substante coexistente in produsul respectiv, dar si de efectul sau asupra starii psihice a consumatorului.
Pentru evitarea fenomenului de monotonie meniurile trebuiesc concepute pentru cel putin 7 zile.
Starea agreabila sau dezagreabila pe care o incearca consumatorul dupa ingerarea unui preparat culinar este determinata de solicitarea gastrointestinala provocata de preparatele consumate. Alimentele care solicita mai putin secretia gastrica si parasesc repede stomacul sunt considerate ca usor digerabile. Cele care raman mai mult timp in stomac, sau provoaca o secretie gastrica intensa sunt considerate greu digerabile, cu putere mare de satietate.
Grasimile in cantitate mare si preparatele grase micsoreaza activitatea secreto-motoare a stomacului lungind timpul de evacuare si din aceasta cauza au putere mare de satietate,
Carnea si produsele din carne bogate in substante extractive provoaca o intensa secretie de suc gastric, dau senzatia de satietate si intretin aceasta senzatie timp indelungat.
Painea, cartofii consumate singure au putere de satietate redusa. Asociate insa cu grasimi sau carne puterea lor de satietate creste.
Consumul de dulciuri la sfarsitul mesei prelungeste timpul de evacuare al stomacului - marind puterea de satietate a meniului consumat.
Puterea de satietate a legumelor creste prin asocierea cu grasimi.
La fiecare masa este indicat sa se consume cel putin un preparat cu mare putere de satietate.
Este necesar sa se ia in consideratie anumite amanunte esentiale organismului omenesc:
▪ Materialul fibros trebuie sa reprezinte circa 30g in 24 ore pentru un adult cu un necesar energetic de 2700Kcal;
▪ Alimentele fade trebuiesc asociate cu cele gustoase, cele tari cu cele moi, cele care se digera greu cu cele usor digerabile;
▪ Cantitatile consumate zilnic se repartizeaza in 3-4 mese servite la un interval de 4-5 ore, cantitatea consumata la o masa fiind mai redusa, eficienta digestiei este mai buna, proportia de substante nutritive creste;
▪ Este recomandabil ca necesarul energetic zilnic sa fie repartizat astfel:
mic dejun: 30%
pranz: 50%
cina: 20%
▪ Ordinea de succesiune a preparatelor la aceeasi masa exercita un efect important asupra digestiei. Este indicat sa se inceapa masa cu preparate care prin proprietatile lor organoleptice si prin actiunea lor excitanta declanseaza si intretin secretia sucurilor digestive;
▪ Temperatura preparatelor culinare influenteaza eficienta digestiei si absorbtiei. Se recomanda pentru preparatele care se servesc calde temperaturi de 35-40oC si 10-12oC pentru preparatele care se servesc reci;
▪ Diferentierea preparatelor culinare in functie de pret nu exclude necesitatea ca fiecare meniu sa satisfaca criteriile mentionate:
acoperirea necesarului de substante nutritive;
asocierea corecta a grupelor de alimente;
evitarea monotoniei, diminuarea pierderilor prin procesul tehnologic;
asigurarea puterii de satietate corespunzatoare.
Criteriul cost trebuie sa aiba in vedere posibilitatea respectarii valorii nutritive prin substituiri corespunzatoare de materii prime.
Meniurile si preparate ce pot fi comandate la SC HAROLD'S SRL sunt prezentate in tabelul numarul 8 si meniurile din anexe.
Meniurile (din anexe) sunt preparate in asa fel incat sa acopere nevoile tuturor clientilor fie ca acestia sunt la regim, sunt vegetarieni sau de alte nationalitati si au diferite gusturi si obiceiuri culinare specifice zonei de provenienta pe care doresc sa le mentina. Ceea ce numim in mod obisnuit traditia unui popor, ne referim mai curand la trasaturile particulare specifice ale alimentatiei, decat la valorile statistice privind alimntatia cotidiana.
Trasaturile specifice ale alimentatiei se evidentiaza mai ales la mesele festive sau in preferintele gastronomice, unele elemente de fond se regasesc si in obiceiurile alimentare zilnice: repartitia inegala a cantitatii de alimente la cele cateva mese, grasimile, legumele si condimentele larg intrebuintate, locul pe care-l ocupa carnea, aluatul, produsele dulci, painea, bauturile care se servesc sau se cauta, ordinea de ingerare a alimentelor.
Tabelul nr. 8
Meniurile si preparatele ce pot fi comandate la SC HAROLD'S
|
Numar ordine |
Preparatul culinar |
|
|
Tava HAROLD'S (doua persoane) |
|
1 |
Meniu Chinezesc |
|
2 |
Meniu Romanesc |
|
3 |
Meniu Vegetarian |
|
4 |
Meniu Mexican |
|
|
|
|
|
Specialitati |
|
5 |
Ficat de gasca |
|
6 |
Ciolan de porc afumat |
|
7 |
Rata pe varza |
|
|
|
|
|
Antreuri |
|
|
Bucatarie chinezeasca |
|
8 |
Rol de primavara cu carne de porc |
|
9 |
Rol de primavara cu carne de pui |
|
10 |
Coltunasi cu carne de porc |
|
11 |
Coltunasi cu carne de pui |
|
|
Bucatarie romaneasca |
|
12 |
Crochete de cascaval |
|
13 |
Bule de cascaval |
|
14 |
Cascaval pane |
|
15 |
Chiftelute cu susan |
|
|
|
|
|
Bucatarie mexicana |
|
16 |
Chips si Salsa |
|
17 |
Chips si Guacamole |
|
18 |
Nachos |
|
|
|
|
|
Paste & Spaghete |
|
19 |
Torttelini pana prosciuto |
|
20 |
Spaghete Matriciana |
|
21 |
Spaghete Carbonara |
|
22 |
Spaghete Boscaiola |
|
23 |
Spaghete Pomodoro |
|
24 |
Spaghete Arabiata |
|
|
|
|
|
Specialitati & Preparate din carne |
|
|
Bucatarie chinezeasca |
|
|
Firgarui |
|
25 |
Frigarui din carne de porc |
|
26 |
Frigarui din carne de vita |
|
27 |
Frigarui din carne de pui |
|
|
|
|
|
Snitele chinezesti |
|
28 |
Snitel din ficatei |
|
29 |
Snitel din carne de pui |
|
30 |
Snitel din carne de porc |
|
31 |
Snitel din somn |
|
32 |
Snitel din salau |
|
|
|
|
|
Specialitati cu alune |
|
33 |
Pui cu alune |
|
34 |
Porc cu alune |
|
|
|
|
|
Specialitati cu ciuperci |
|
35 |
Pui cu ciuperci |
|
36 |
Porc cu ciuperci |
|
37 |
Vita cu ciuperci |
|
38 |
Ficatei cu ciuperci |
|
|
|
|
|
Specialitati cu bambus |
|
39 |
Pui cu bambus |
|
40 |
Porc cu bambus |
|
41 |
Vita cu bambus |
|
42 |
Somn cu bambus |
|
43 |
Salau cu bambus |
|
44 |
Caracatita cu bambus |
|
45 |
Creveti decorticati cu bambus |
|
46 |
Scoici de mare cu bambus |
|
47 |
Fructe de mare cu bambus |
|
48 |
Calamar cu bambus |
|
|
|
|
|
Specialitati Sechuan |
|
49 |
Pui Sechuan |
|
50 |
Porc Sechuan |
|
51 |
Vita Sechuan |
|
52 |
Somn Sechuan |
|
53 |
Salau Sechuan |
|
54 |
Rata Sechuan |
|
55 |
Creveti decorticati Sechuan |
|
56 |
Fructe de mare Sechuan |
|
57 |
Calamar Sechuan |
|
58 |
Caracatita Sechuan |
|
|
|
|
|
Specialitati DZHH |
|
59 |
Pui DZHH |
|
60 |
Porc DZHH |
|
61 |
Vita DZHH |
|
62 |
Rata DZHH |
|
63 |
Somn DZHH |
|
64 |
Salau DZHH |
|
|
|
|
|
Specialitati cu usturoi |
|
65 |
Ficatei cu usturoi |
|
66 |
Pui cu usturoi |
|
67 |
Porc cu usturoi |
|
68 |
Vita cu usturoi |
|
69 |
Oaie cu usturoi |
|
70 |
Somn cu usturoi |
|
71 |
Salau cu usturoi |
|
72 |
Caracatita cu usturoi |
|
73 |
Creveti cu usturoi |
|
74 |
Fructe de mare cu usturoi |
|
75 |
Scoici de mare cu suturoi |
|
|
|
|
|
Specialitati dulce acrisor |
|
76 |
Porc dulce acrisor |
|
77 |
Vita dulce acrisor |
|
78 |
Pui cu ananas |
|
79 |
Somn dulce acrisor |
|
80 |
Salau dulce acrisor |
|
81 |
Creveti decorticati |
|
82 |
Fructe de mare |
|
83 |
Rata dulce acrisor |
|
84 |
Scoici de mare dulce acrisor |
|
|
|
|
|
Specialitati cu legume |
|
85 |
Porc cu legume |
|
86 |
Vita cu legume |
|
87 |
Pui cu legume |
|
88 |
Ficatei cu legume |
|
89 |
Salau cu legume |
|
90 |
Caracatita cu legume |
|
91 |
Creveti decorticati cu legume |
|
92 |
Fructe de mare cu legume |
|
93 |
Scoici de mare cu legume |
|
94 |
Rata cu legume |
|
95 |
Calamar cu legume |
|
|
|
|
|
Taietei chinezesti |
|
96 |
Taietei chinezesti cu vita |
|
97 |
Taietei chinezesti cu porc |
|
98 |
Taietei chinezesti cu pui |
|
99 |
Taietei chinezesti cu curcan |
|
100 |
Taietei chinezesti cu legume |
|
|
|
|
|
Specialitati cu piper verde |
|
101 |
Calamar cu piper verde |
|
102 |
Fructe de mare cu piper verde |
|
103 |
Creveti cu piper verde |
|
|
|
|
|
Specilaitatati Gong Bao |
|
104 |
Porc Gong Bao |
|
105 |
Vita Gong Bao |
|
106 |
Pui Gong Bao |
|
|
|
|
|
Specialitati |
|
107 |
Creveti cu pui |
|
108 |
Creveti cu porc |
|
109 |
Caracatita cu porc |
|
110 |
Caracatita cu pui |
|
111 |
Rata cu ananas si ghimbir |
|
112 |
File de porc cu telina |
|
113 |
Frigarui de calamar |
|
114 |
Salau cu bacon |
|
115 |
Snitel de fructe de mare |
|
116 |
Snitel de calamar |
|
117 |
Snitel de creveti |
|
118 |
Fructe de mare cu orez |
|
119 |
Salata de fructe de mare |
|
120 |
Calamar umplut |
|
121 |
Calamar la gratar |
|
122 |
File de rechin pane |
|
123 |
Pui cu portocale |
|
124 |
Pui cu curry |
|
|
|
|
|
Garnituri |
|
125 |
Orez |
|
126 |
Orez cu ou |
|
127 |
Orez cu ciuperci |
|
128 |
Orez cu ou si ciuperci |
|
129 |
Orez prajit cu migdale |
|
130 |
Orez cu sunca inabusit |
|
131 |
Orez cu legume |
|
132 |
Sos Chili |
|
133 |
Sos dulce acrisor |
|
|
|
|
|
Bucatarie romaneasca |
|
|
Preparate din carne de pui |
|
134 |
Pulpa dezosata la gratar (100g) |
|
135 |
Pulpe pane |
|
136 |
Piept de pui la gratar |
|
137 |
Piept de pui pane |
|
138 |
Piept de pui parizian |
|
139 |
Ficat de pui prajit |
|
140 |
Aripioare prajite |
|
|
|
|
|
Preparate din carne de curcan |
|
141 |
Piept de curcan la gratar |
|
142 |
Piept de curcan pane |
|
143 |
Piept de curcan parizian |
|
|
|
|
|
Preparate din carne de vita |
|
144 |
Biftec Tartar |
|
145 |
Tournedou cu ciuperci |
|
146 |
Tournedou Rossini |
|
147 |
Tournedou Harold |
|
148 |
Muschi de vita la gratar |
|
149 |
Muschi de vita cu sos de ciuperci si smanta |
|
150 |
Muschi de vita cu sos de piper |
|
151 |
Stroganov |
|
152 |
Gulas |
|
153 |
Steak |
|
154 |
Chateau Briand (2 persoane) |
|
155 |
Rasol de vita |
|
|
|
|
|
Preparate din carne de porc |
|
156 |
Cotlet pane |
|
157 |
Cotlet parizian |
|
158 |
Cotlet la gratar |
|
159 |
Muschi impanat (100g) |
|
160 |
Muschi la gratar (100g) |
|
161 |
Ceafa la gratar |
|
162 |
Gordon Bleau |
|
163 |
Tochitura cu mamaliguta |
|
164 |
Steak |
|
165 |
Escalop cu ciuperci |
|
166 |
Escalop Zingara |
|
|
|
|
|
Preparate din carne de peste |
|
167 |
Salau la gratar cu saramura (100g) |
|
168 |
Pastrav la gratar (100g) |
|
169 |
Salau prajit (100g) |
|
170 |
File de salau pane (100g) |
|
171 |
Somn la gratar (100g) |
|
172 |
Rechin la gratar (100g) |
|
|
|
|
|
Pui de balta |
|
173 |
Pui de balta la gratar |
|
174 |
Pui de balta pane |
|
|
|
|
|
Garnituri |
|
175 |
Rizzoto |
|
176 |
Mazare |
|
177 |
Porumb |
|
178 |
Cartofi pai |
|
179 |
Cartofi natur |
|
180 |
Cartofi piure |
|
181 |
Sote de ciuperci |
|
182 |
Garnitura asortata |
|
|
|
|
|
Sosuri |
|
183 |
Sos de visine |
|
184 |
Sos Remuland |
|
185 |
Sos Tartar |
|
186 |
Sos de ciuperci cu smantana |
|
|
|
|
|
Bucatarie vegetariana |
|
187 |
Dovlecei pane |
|
188 |
Conopida pane |
|
189 |
Cartofi Bombay |
|
190 |
Pilaf de orez cu porumb si ardei gras |
|
191 |
Mamaliga cu ciuperci |
|
192 |
Salata de vinete |
|
193 |
Ciuperci unguresti |
|
194 |
Ciuperci gratinate |
|
195 |
Paste fainoase cu conopida si smantana |
|
196 |
Salata de conopida |
|
197 |
Salata bulgareasca |
|
198 |
Salata de telina |
|
199 |
Mamaliguta cu granza si smantana |
|
|
|
|
|
|
|
|
Bucatarie mexicana |
|
200 |
Flour Tortilla Tacos cu carne de vita (carne de vita, salata verde, branza ceddar, smantana). Se serveste cu fasole si orez mexican. |
|
201 |
Flour Tortilla Tacos cu carne de pui (carne de pui, salata verde, branza ceddar, smantana). Se serveste cu fasole si orez mexican. |
|
202 |
Fajitas cu carne de vita (carne de vita, sos chili, ardei iute, ceapa). Se serveste cu fasole si orez mexican. |
|
203 |
Fajitas cu carne de pui (carne de pui, sos chili, ardei iute, ceapa). Se serveste cu fasole si orez mexican. |
|
204 |
Enchiladas cu carne de vita (carne de vita, ceapa, branza, sos Enchilada) |
|
205 |
Enchiladas cu carne de pui (carne de pui, ceapa, branza, sos Enchilada) |
|
206 |
Enchiladas cu legume |
|
207 |
Corn Tortilla Tacos (carne de pui, salata verde, rosii, branza ceddar, smantana). Se serveste cu fasole si orez mexican. |
|
208 |
Burrito (carne tocata de vita, branza ceddar, fasole mexicana). Se serveste cu orez mexican si smantana. |
|
209 |
Ceviche (fructe de mare, coriandru, avocado, ceapa, rosii) |
|
210 |
Chili Relleno (ardei gras, orez, ceapa verde, usturoi, porumb, branza ceddar). Se serveste cu fasole mexicana. |
|
211 |
Taco Salad (carne de vita sau pui, rosii, branza ceddar, avocado, tortilla chpis) |
|
212 |
Mexican Steak (muschi de vita mexican cu garnitura) |
|
213 |
Pui cu ardei iute si smantana |
|
214 |
Aripi de pui alla Ortega |
|
215 |
Pui cu orez |
|
216 |
Peste Veracruz |
|
217 |
Orez mexican |
|
218 |
Fasole mexicana |
|
|
|
|
|
|
|
|
Salate |
|
|
Bucatarie chinezeasca |
|
219 |
Legume calde |
|
220 |
Legume cu Curry |
|
221 |
Ciuperci inabusite |
|
222 |
Conopida la tigaie cu bambus |
|
223 |
Salata de castraveti |
|
224 |
Salata chinezeasca |
|
|
|
|
|
Bucatarie romaneasca |
|
225 |
Salata verde |
|
226 |
Salata de rosii |
|
227 |
Salata de castraveti |
|
228 |
Salata de varza |
|
229 |
Salata asortata |
|
230 |
Salata de gogosari murati |
|
231 |
Salata de castraveti murati |
|
232 |
Salata de asortata de muraturi |
|
233 |
Salata de ardei copti |
|
|
|
|
|
Deserturi |
|
234 |
Clatite cu dulceata |
|
235 |
Clatite cu branza si smantana |
|
236 |
Clatite cu budinca de vanilie |
|
237 |
Clatite cu ciocolata |
|
238 |
Papanasi |
|
239 |
Salata de fructe |
|
240 |
Tiramisu |
Pe langa preparatele din lista se mai poate comanda: dresinguri, sosuri, paine, condimente, bauturi racoritoare sau alcoolice, tacamuri de unica folosinta, betisoare chinezesti etc.
Sistemul de informare a consmatorilor cu privire la sortimentele de marfuri si preparate din unitate trebuie sa fie cat mai variat si atragator, pentru convingerea consumatorilor in alegerea si compunerea meniului preferat in tot cursul zilei cat functioneaza unitatea.
In acest sens, se poate practica urmatoarele metode de prezentare:
prezentarea vizuala;
prezentarea scrisa;
prezentare prin televiziune cu circuit inchis;
prezentarea sonora cu circuit inchis (radiofonica);
prezentarea electronica;
prezentarea mixta.
Pentru onorarea comenzilor si stabilirea meniurilor solicitate mai mult de catre clienti s-a efectuat o simulare de sondaj (figura 7) pentru a se observa si unde mai trebuiesc aduse imbunatatiri meniurilor care se ofera spre consum.

Figura 7. Ponderea comenzilor pe meniuri la SC HAROLD'S
3.5. MODUL DE COMANDAAL PREPARATELOR CULINARE LA SC HAROLD'S
Comanada preparatelor de catre client se face in urma parcurgerii urmatoarelor etape:
sunand la numarul de telefon 196335 sau 322859 la care se vor comanda produsele dorite;
se va comunica un numar de telefon pentru confirmarea comenzii;
clientul va fi sunat imediat pentru confirmare, si se va comunica timpul pana la livrare si valoarea comenzii;
in urma acordului clientului se va incepe onorarea comenzii;
plata efectuandu-se la livrarea comenzii.
Onorarea comenzii se realizeaza cu masinile din dotare, la intervalul de timp transmis telefonic clientului. Ponderea onorarii comenzilor este prezentata in figura 7.
In cazul festivitatilor de amploare (banchete, doctorate, cocteil-uri) se ajunge la o in telegere cu clientul, prin stabilirea locatiei la care trebuiesc livrate produsele, ora si pretul acestora.
La contractele dintre firmele la care SC HAROLD'S va asigura pranzuri zilnice pentru angajatii anumitor firme se discuta conditiile de catre directorii firmelor implicate pana se ajunge la o intelegere multumitoare pentru ambele parti.
SC HAROLD'S SRL are ca furnizori principali de produse sau materie prima firmele din zona Timisoara sau imprejurimi, cum ar fi: Metro RomInvest, Coca Cola Timis, Pepsi, Rus-Savitar, Banat Transport, Avicola Arad etc.
Principalii consumatori de produse catering pe care firma HAROLD'S le are, pe langa cei mentionati in prima parte a capitolului, sunt si numeroasele firme din imprejurimi, cum ar fi cluburile de calculatoare, magazinele de vestimentatie si incaltaminte, magazinele de produse alimentare sau nealimentare, baruri si discoteci, agentii de paza care lucraza la diferite firme cu care exista contracte de punere la dispozitie a unui numar de mese zilnice pentru acesti angajati. Pe langa acestia sunt si coctail-urile la comanda, livrarile la firme, evident cele la domicilu, bufet suedez, banchete, doctorate, nunti, botezuri, zile onomastice etc.
3.6. IMPACTUL PRODUSELOR CATERING ASUPRA CONSUMATORULUI
Dezvoltarea si diversificarea serviciilor este expresia necesitatii satisfacerii unor nevoi sociale. Integrate in structurile si mecanismul procesului social al productiei, serviciile sunt oferite colectivitatilor de oameni, unitatilor economice, institutiilor si persoanelor fizice.
Intreprinderile de alimentatie publica si de turism, similar altor intreprinderi economice, sunt un produs, un rezultat al mediului social economic. Pe de alta parte sunt generatoare de noi necesitati determinate de indeplinirea rolului lor economico-social si de realizarea obiectului lor de activitate.
In paralel cu dezvoltarea economica, a crescut gradul de ocupare a populatiei si in consecinta, rezolvarea problemei alimentatiei a impus noi preocupari pentru imbinarea cerintelor de satisfacere a necesarului fiziologic, de incadrare in timpul liber si in bugetul de venituri disponibile.
In conditiile economiei de piata consumatorul devine axul central al tuturor activitatilor economice ce converg spre satisfacerea cat mai deplina a dorintelor, exigentelor, preferintelor, necesitatilor, aceasta satisfacere fiind insasi esenta activitatii economice realizate.
Influenta alimentatie asupra starii de sanatate a individului, importanta acesteia in dezvoltarea armonioasa a organismului, in mentinerea vigorii fizice si intelectuale, deci impactul asupra rezultatelor obtinute in activitatile economico-sociale, au determinat ritmuri accentuate de crestere pentru sectoarele care au ca obiect de activitate alimentatia.
Tehnologia culinara moderna, cu toate exigentele ei, nu se mai poate sprijini numai pe intuitia, talentul sau indemanarea lucrarilor din activitatea productiva a acestui sector, deoarece s-au produs mutatii rapide in procesul de prelucrare, in sortimentul produselor comercializate, in cererea de consum, intensificandu-se interdependentele cu alte sectoare de activitate.
Oferta de produse alimentare trebuie sa corespunda noilor exigente, specifice omului modern, tentat tot mai mult de procurarea hranei gata preparate (convenience foods). Nevoia de hrana trebuie satisfacuta la un nivel superior prin acoperirea necesarului fiziologic cu alimente variate, gustoase, salubre, in conditile economisirii fondului de timp afectat pregatirii zilnice, diminuarii efortului fizic solicitat de aceasta activitate si totodata prin costuri mai reduse.
Alimentatia publica, implicit sectorul catering, prezinta un caracter deosebit de complex prin specificul ei, prin multitudinea factorilor tehnologici care influenteaza oferta de produse, prin diversitatea cererii exprimate.
Sistemul catering se adreseaza in special consumatorilor colectivi: cantine scolare, cantine restaurant, spitale, unitati militare si de aviatie, restaurante cu autoservire, unitati cu servire rapida (fast-food). Acestia au devenit consumatori exigenti, care accepta sa si satisfaca nevoia de hrana cu alimente gata preparate dar, care, sa aiba o valoare nutritiva normala, preturi mai mici si sa fie prezentate corespunzator.
Multiplele avantaje ale produselor catering le ofera acestora o pozitie distincta in ansamblul marfurilor alimentare, determinand ascensiunea lor pe plan international, atat din punct de vedere al volumului ofertei cat si din punct de vedere al structurii sortimentale.
Fabricarea produselor tip catering permite o valorificare superioara si complexa a materiilor prime, aditivarea cu un sortiment diversificat de constituenti de gust, aroma, aspect, posibilitatea de fortificare cu substante biologic active (aminoacizi esentiali, vitamine, saruri minerale), precum si echilibrarea valorii nutritive.
Prin aplicarea sistemului catering, se asigura concentrarea productiei in unitati mari cu toate avantajele acesteia: cresterea gradului de mecanizare a operatiilor de prelucrare primara cu consecinte net favorabile in reducerea pierderilor; aplicarea metodelor moderne, cu scurta durata de prelucrare termica care permit mentinerea substantelor nutritive in alimentele prelucrate in proportii cat mai apropiate de cele initiale; conservarea si convertirea in conditii adecvate; posibilitatea cresterii eficiente a combinatiilor sortimentale; asigurarea igienei prin implementarea unor metode moderne.
Sistemul catering a luat nastere in marile aglomerari urbane din SUA, si s-a extins cu repeziciune si in alte tari ca Anglia, Germania, Suedia, Franta si nu in ultimul rand Romania.
In Romania, in urma unui studiu efectuat in perioada 1999-2001 si prezentat succint in tabelul 9 si figura 8, asupra cheltuielilor efectuate de diferite tipuri de familii pentru consumul alimentar si de bauturi se poate constata ca peste 60% din cheltuielile unei familii de tarani se duc pe alimente si bauturi in comparatie cu aproximativ 50% din cheltuieli, cat revine pentru o familie de salariati [1].
Tabelul nr. 9
Cheltuielile alocate de diferite tipuri de familii pentru consumul
alimentar si bauturi: (in % fata de totalul de 100%)
|
|
Anii |
||
|
Tipul de familiilor |
1999 |
2000 |
2001 |
|
Familii de salariati |
51,4 |
55,9 |
58,2 |
|
Familii de pensionari |
63,6 |
66,9 |
67,1 |
|
Familii de tarani |
71,4 |
75,1 |
76,4 |

Motivul este, ca majoritatea persoanelor dintr-o familie de salariati lucreaza, ca femeile din aceste familii sunt angrenate din ce in ce mai mult in diverse activitati dispunand de timp minim pentru procurarea si prepararea hranei, preferand, de altfel, sa ia masa in afara domiciliului.
Acest deziderat a impus dezvoltarea unei retele puternice, moderne de fabricare, pastrare si livrare a alimentelor gata preparate, pe care consumatorul cu un efort minim si timp redus sa-l poata avea la indemana in orice moment.
Dezvoltarea a ceea ce se numeste consum alimentar in afara domiciliului, determinata de factorii mentionati, a condus la cresterea cantitativa si calitativa dar si la diversificarea cererii de preparate gata de consum. In acest context s-au inregistrat eforturi deosebite pentru satisfacerea cererii, astfel incat in tara noastra peste 20% din populatia ocupata (salariata) ia masa in afara domiciliului (vezi tabelul 2 si figurile 2-4).
Tabelul nr. 10
Bugetul alimentar in Romania pe persoana si pe an
|
|
1999 |
2000 |
2001 |
|||
|
Cheltuieli |
Cheltuieli |
Cheltuieli |
||||
|
in USD |
|
in USD |
|
in USD |
|
|
|
Cheltuieli la domiciliu din care: |
365 |
88,9 |
859 |
84,7 |
1382 |
79,8 |
|
▪ Cumparaturi |
333,5 |
81,3 |
785,5 |
77,5 |
1295,5 |
74,8 |
|
▪ Autoconsum |
31 |
7,6 |
73 |
7,2 |
87 |
5 |
|
Consum in afara domiciliului din care: |
45,5 |
11,1 |
155,5 |
15,3 |
350 |
20,2 |
|
▪ Restaurant |
26 |
6,4 |
83 |
8,2 |
195,5 |
11,2 |
|
▪ Cantine restaurant de intreprinderi |
5,5 |
1,4 |
21,5 |
2,1 |
40 |
2,3 |
|
▪ Cantine scolare sau universitare |
8 |
1,9 |
21 |
2,1 |
46,5 |
2,6 |
Consum total pe persoana pe an |
814,5 |
100 |
1998,5 |
100 |
3396,5 |
100 |

Figura 9. Evolutia consumului total pe persoana pe an

Figura 10. Cheltuieli la domiciliu pe persoana si pe an

Figura 11. Consumul in afara domiciliului
Astfel in Romania, bugetul alimentar pe persoana si pe an, a inregistrat cresteri semnificative in perioada 1999-2001. Valoarea consumului pe persoana/an a crescut de 4 ori. Se observa, in structura consumului, cresteri mai mari la consumul in afara domiciliului si anume de la 11,1% in 1999 ponderea acestuia ajunge la 20,2% in 2001, in timp de consumul la domiciliu scade de la 88.9% la 79,8% in aceeasi perioada. Se inregistreaza cresteri la consumul in afara domiciliului pe toate tipurile de unitati: restaurante - de la 6,4%/1999 la 11,2/2001, adica o crestere a consumului cu 75%; cantine restaurant - de la 1,4/1999 la 2,3/2001, adica o crestere a consumului cu 86%; cantine scolare si universitare - de la 1,9%/1999 la 2,6%/2001, adica o crestere a consumului cu 65%.
Consumatorii prefera sa-si satisfaca nevoia de hrana prin consumul alimentar in afara domiciliului, motivatia de baza fiind - diversificarea sortimentala a preparatelor.
Sortimentul variat atrage consumatorul, creeaza buna dispozitie, stipuleaza apetitul favorizand digestia si asimilatia. Preparatele realizate depind de materiile prime, procedeele de prelucrare primara si termica, prezentare. Prin asocierea cat mai variata a componentelor de baza cu adaosuri, prin prelucrarea prin tehnici diferite si prezentarea cat mai variata, estetica, se valorifica potentialul creativ al specialistilor in arta culinara realizandu-se un sortiment cat mai diversificat.
Gama de alimente gata preparate din magazine s-a largit foarte mult cuprinzand totul, de la mancare vegetala cu sau fara continut de grasime pentru cei care vor sa tina cura de slabire si pana la feluri specifice diferitelo etnii - cum ar fi chinezescul "chowmein" sau puiul "tandori" indian.
Tipul de prelucrare finala fiind foarte redus, iar posibilitatile de combinare
fiind foarte mari, creeaza premise favorabile pentru cresterea cererii de preparate culinare catering si in aceste conditii se poate mari continuu oferta, in paralel cu diversificarea sortimentala, specific profilului fiecarui agent economic: pizzerii, can-tine-restaurant, fast-food etc.
De asemenea, prin realizarea hranei prin sistemul catering exista posibilitatea intocmirii de meniuri variate pentru aceeasi grupa de consumatori dar si pentru grupe diferite de consumatori, astfel incat sa se satisfaca in conditii optime necesitatile fiziologice specifice dar sa existe si posibilitati largi de alegere in functie de gusturile si preferintele individuale.
In productia si diversificarea sortimentului de produse catering se constata urmatoarele directii:
▪ diversificarea sortimentului de semipreparate catering (exemplu: produse de panificatie pentru produse tip McDonald's), preparate din carne pentru sandwisuri, legume etc.;
▪ realizarea unei game variate de produse deshidratate din grupa preparatelor lichide pentru supe, supe-creme sau ciorbe care cuprind in compozitia lor, in proportii mari, materii prime cu valoare energetica ridicata (paste fainoase, grupe de cereale si leguminoase, legume deshidratate etc.);
▪ diversificarea productiei de concentrate alimentare care se consuma datorita caracteristicilor lor organoleptice (cu valoare energetica si biologica redusa), pentru crearea apetitului in vederea consumului altor produse. Astfel se realizeaza ames-tecuri condimentare sub forma brichetata, din care se realizeaza supe cu valoarea energetica redusa;
▪ realizarea in industria alimentara de noi sortimente de conserve care sa corespunda mai bine obiceiurilor de alimentatie ale consumatorilor, obtinute din cat mai legume si fructe;
▪ cresterea productiei de supe instant in defavoarea supelor ce se pregatesc prin fierbere;
▪ diversificarea sortimentului de pireuri din legume si leguminoase care pot fi servite sub forma de garnituri, la felurile de mancare consistente;
▪ largirea si extinderea productiei de sosuri pasteurizate, aromatizate cu arome de carne, care se obtin din fainuri cerealiere si de leguminoase, concentrate proteice, condimente;
▪ diversificarea sortimentului de ingrediente pentru diferite preparate catering a sub forma deshidratata cat si congelata;
▪ largirea sortimentului de produse finite pentru diferite ocazii, receptii, picknic-uri, ambalate in cantitati diferite in functie de solicitarea clientilor;
▪ diversificarea posibilitatilor de combinare a semipreparatelor catering
4. CONCLUZII SI PROPUNERI
Cateringul este inteles ca un proces complex prin care se realizeaza pe cale industriala produse gata de consum, cele mai multe (congelate) necesitand parcurgerea unui lant frigorific perfect pus la punct de aprovizionare la productie de consum.
Sectorul catering din alimentatia publica prezinta un caracter complex prin specificul ei, prin multitudinea factorilor tehnologici care influenteaza oferta de produse, prin diversitatea cererii exprimate. Oferta de produse alimentare trebuie sa corespunda noilor exigente, specifice omului modern, tentat tot mai mult de procurarea hranei gata preparate (convenience foods).
Preturile accesibile ale restaurantului sunt si pe masura resurselor financiare ale persoanelor tinere, in general studentii de la numeroasele camine din imprejurimi, dar si pentru celelalte categorii in special pentru pensionari. Media de varsta este in jur de 25-30 de ani, deci cuprinde persoane foarte tinere, precum si varstnici, adica de la 14 ani la 65 ani.
Pe viitor restaurantul HAROLD'S are ca principal obiectiv largirea gamei de produse culinare si produselor alcoolice si racoritoare pe care le ofera clientilor sai, dar si extinderea spatiului alocat bucatariei si modernizarea acestuia cu aparatura moderna pentru a asigura o rapiditate si eficienta sporita in servirea clientilor si onorarea comenzilor, precum si introducerea unui sistem de aer conditionat in salile de mese de la etaj, terasa si bucatarie care este in faza de proiectare la o firma specializata din Timisoara.
In anii ce urmeaza se asteapta o crestere a numarului clientilor in randul persoanelor din strainatate, prin introducerea unor produse culinare noi si din mai multe regiuni ale lumii. Se are in vedere in special produsele culinare din bucataria greceasca si cele orientale datorita cresterii numarului studentilor straini din aceste tari care studiaza la diferite facultati (in deosebi la cele de medicina si farmacie si la cele de inginerie sau pedagogice) din Timisoara.
Concluziile legate de indictorii economici se concretizeaza in mare parte ca avand o evolutie buna, prognozata si agreata de directorul general si directorul economic, iar pe aceasta evolutie favorabila va trebui urmata si in continuare pentru a se atinge scopul extinderii firmei si atragerii unui numar mai mare de clienti. Indicatorii economici care exprima numeric latura cantitativa a fenomenelor si proceselor economice, financiare, bancare, sociale etc., la un moment dat, si/sau in dinamica lor parcurg o evolutie crescatoare sau la nivel egal, fara a avea tendinte de scadere. Indicatorii economici se exprima in marime absoluta, relativa sau medie si reliefeaza nivelul, dinamica si structura fenomenelor analizate.
In ceea ce priveste gama sortimentala SC HAROLD'S se bazeaza pe intocmirea unui meniu corespunzator principiilor alimentatiei stiintifice inseamna de fapt gasirea modalitatilor de acoperire a necesarului fiziologic pentru o anumita categorie de consumatori, prin produse alimentare sau preparate corespunzatoare nutritiv, variate, cu caracteristici psihosenzoriale care sa atraga pe consumator, cu o putere de satietate care sa impiedice senzatia de foame timp de 4-5 ore.
Pentru intocmirea acestui meniu se va tine seama de varietatea alimentelor si cantitatile zilnice ce se pot consuma de catre un om sanatos in cadrul unei alimentatii rationale ce are la baza normative stiintific fundamentale. In baza acestor normative s-au stabilit mai multe grupe de alimente, in functie de compozitia lor. In vederea realizarii unui aport echilibrat al factorilor nutritivi se recomanda consumarea zilnica a alimentelor din toate grupele principale si in anumite proportii
La SC HAROLD'S comanada preparatelor de catre client se face in urma parcurgerii urmatorilor pasi: sunand la numarul de telefon 196335 sau 322859 la care se vor comanda produsele dorite; se va comunica un numar de telefon pentru confirmarea comenzii; clientul va fi sunat imediat pentru confirmare, si se va comunica timpul pana la livrare si valoarea comenzii; in urma acordului clientului se va incepe onorarea comenzii; plata efectuandu-se la livrarea comenzii. Onorarea comenzii se realizeaza cu masinile din dotare, la intervalul de timp transmis telefonic clientului.
Ponderea cea mai mare a comenzilor la SC HAROLD'S o are meniul romanesc si anume cu 58%, comparativ cu meniul chinezesc (18%), vegetarian (16%) si mexican (8%).
Consumatorii prefera sa-si satisfaca nevoia de hrana prin consumul alimentar in afara domiciliului, motivatia de baza fiind - diversificarea sortimentala a preparatelor.
Sortimentul variat atrage consumatorul, creeaza buna dispozitie, stipuleaza apetitul favorizand digestia si asimilatia. Preparatele realizate depind de materiile prime, procedeele de prelucrare primara si termica, prezentare. Prin asocierea cat mai variata a componentelor de baza cu adaosuri, prin prelucrarea prin tehnici diferite si prezentarea cat mai variata, estetica, se valorifica potentialul creativ al specialistilor in arta culinara realizandu-se un sortiment cat mai diversificat.
Gama de alimente gata preparate din magazine s-a largit foarte mult cuprinzand totul, de la mancare vegetala cu sau fara continut de grasime pentru cei care vor sa tina cura de slabire si pana la feluri specifice diferitelo etnii - cum ar fi chinezescul "chowmein" sau puiul "tandori" indian.
Tipul de prelucrare finala fiind foarte redus, iar posibilitatile de combinare
fiind foarte mari, creeaza premise favorabile pentru cresterea cererii de preparate culinare catering si in aceste conditii se poate mari continuu oferta, in paralel cu diversificarea sortimentala, specific profilului fiecarui agent economic: pizzerii, can-tine-restaurant, fast-food etc.
De asemenea, prin realizarea hranei prin sistemul catering exista posibilitatea intocmirii de meniuri variate pentru aceeasi grupa de consumatori dar si pentru grupe diferite de consumatori, astfel incat sa se satisfaca in conditii optime necesitatile fiziologice specifice dar sa existe si posibilitati largi de alegere in functie de gusturile si preferintele individuale.
In productia si diversificarea sortimentului de produse catering se constata urmatoarele directii:
- diversificarea sortimentului de semipreparate catering (exemplu: produse de panificatie pentru produse tip McDonald's), preparate din carne pentru sandwisuri, legume etc.;
- realizarea unei game variate de produse deshidratate din grupa preparatelor lichide pentru supe, supe-creme sau ciorbe care cuprind in compozitia lor, in proportii mari, materii prime cu valoare energetica ridicata (paste fainoase, grupe de cereale si leguminoase, legume deshidratate etc.);
- diversificarea productiei de concentrate alimentare care se consuma datorita caracteristicilor lor organoleptice (cu valoare energetica si biologica redusa), pentru crearea apetitului in vederea consumului altor produse. Astfel se realizeaza ames-tecuri condimentare sub forma brichetata, din care se realizeaza supe cu valoarea energetica redusa;
- realizarea in industria alimentara de noi sortimente de conserve care sa corespunda mai bine obiceiurilor de alimentatie ale consumatorilor, obtinute din cat mai legume si fructe;
- cresterea productiei de supe instant in defavoarea supelor ce se pregatesc prin fierbere;
- diversificarea sortimentului de pireuri din legume si leguminoase care pot fi servite sub forma de garnituri, la felurile de mancare consistente;
- largirea si extinderea productiei de sosuri pasteurizate, aromatizate cu arome de carne, care se obtin din fainuri cerealiere si de leguminoase, concentrate proteice, condimente;
- diversificarea sortimentului de ingrediente pentru diferite preparate catering a sub forma deshidratata cat si congelata;
- largirea sortimentului de produse finite pentru diferite ocazii, receptii, picknic-uri, ambalate in cantitati diferite in functie de solicitarea clientilor;
- diversificarea posibilitatilor de combinare a semipreparatelor catering.
Clientela restaurantului este diversificata atat ca varsta, dar si ca nationalitate, aceasta datorita bucatariei internationale diversificate, pe care multe persoane din alte tari o apreciaza si o consuma cu regularitate.
Preturile accesibile ale restaurantului sunt si pe masura resurselor financiare ale persoanelor tinere, in general studentii de la numeroasele camine din imprejurimi, dar si pentru celelalte categorii in special pentru pensionari. Media de varsta este in jur de 25-30 de ani, deci cuprinde persoane foarte tinere, precum si varstnici, adica de la 14 ani la 65 ani.
Pe viitor restaurantul HAROLD'S are ca principal obiectiv largirea gamei de produse culinare si produselor alcoolice si racoritoare pe care le ofera clientilor sai, dar si extinderea spatiului alocat bucatariei si modernizarea acestuia cu aparatura moderna pentru a asigura o rapiditate si eficienta sporita in servirea clientilor si onorarea comenzilor, precum si introducerea unui sistem de aer conditionat in salile de mese de la etaj, terasa si bucatarie care este in faza de proiectare la o firma specializata din Timisoara.
In anii ce urmeaza se asteapta o crestere a numarului clientilor in randul persoanelor din strainatate, prin introducerea unor produse culinare noi si din mai multe regiuni ale lumii. Se are in vedere in special produsele culinare din bucataria greceasca si cele orientale datorita cresterii numarului studentilor straini din aceste tari care studiaza la diferite facultati (in deosebi la cele de medicina si farmacie si la cele de inginerie sau pedagogice) din Timisoara.
S.C. HAROLD'S
LUNI
Ciorba de salata verde cu costita,praz si smantana 400 gr.
Portofel din piept de pui cu piure de cartofi cu mazare sote 90/250 gr.
Salata de sfecla rosie 150 gr.
MARTI
Supa de pui cu fidea 400 gr.
Friptura de porc la tava cu sos de vin si cus-cus 70/100/250 gr.
Fructe 1 buc.
Ciorba de legume ( de Post) 400 gr.
Cabanos prajit cu mancare de mazare verde 80/300 gr.
JOI
Ciorba de pui a la grec 400 gr.
Cascaval pane cu piure 90/250 gr.
Sos tartar 30 gr.
VINERI
Ciorba de cartofi cu rosii si praz ( .si de Post) 400 gr.
Ceafa de porc la gratar cu pilaf sarbesc (garnitura de Post) 80/250 gr.
Salata de varza 150 gr.
SAMBATA
Ciorba de dovlecei a la grec 400 gr.
Chiftelute in sos marinat cu nartofi natur 90/100/250 gr.
DUMINICA
Ciorba taraneasca cu carne de porc 400 gr.
Pulpe de pui cu cartofi cu usturoi 80/250 gr.
2. MENIU VEGETARIAN
S.C. HAROLD'S
LUNI
Ciorba de salata verde 400 gr.
Snitel din soia cu piure de cartofi si mazare sote 90/220/30 gr.
Salata de sfecla rosie 150 gr.
MARTI
Supa de rosii cu galuste de gris 400 gr.
Chiftelute de cartofi cu cus-cus si sos tomat 100/250/100 gr.
Fructe 1 buc.
MIERCURI
Ciorba de legume 400 gr.
Friganele cu mancare de mazare verde 100/300 gr.
JOI
Ciorba de fasole verde cu zdrente de ou 400 gr.
Cascaval pane cu piure 90/250 gr.
Sos tartar 50 gr.
VINERI
Ciorba de cartofi cu rosii 400 gr.
Parjoale din legume cu mancare de dovlecei 90/250 gr.
Mere 1 buc.
SAMBATA
Ciorba de dovlecei a la grec 400 gr.
Chiftelute din soia in sos marinat cu cartofi natur100/100/250 gr.
DUMINICA
Ciorba taraneasca de legume 400 gr.
Oua ochiuri cu piure de spanac 100/250 gr.
Pofta buna!
3. MENIU CHINEZESC
S.C. HAROLD'S
LUNI
Coltunasi cu carne de porc 400 gr.
Snitel din ficatei cu garnitura de orez cu ciuperci 90/220/30 gr.
MARTI
Creveti decorticati cu legume 400 gr.
Pui Gong Bao cu garnitura de orez prajit cu migdale 100/250/20 gr.
MIERCURI
Oaie cu usturoi 400 gr.
Snitel din somn cu garnitura de orez cu legume 100/300 gr.
JOI
Rol de primavara cu carne de porc 400 gr.
Taietei chinezesti cu curcan 90/250 gr.
VINERI
Supa chinezeasca de pui 400 gr.
Creveti cu pui 90/250 gr.
SAMBATA
Vita Sechuan 400 gr.
Caracatita cu pui si cupe de orez 100/100/250 gr.
DUMINICA
Frigarui cu carne de porc 250 gr.
Scoici de mare cu bambus 250/50 gr.
Pofta buna!
S.C. HAROLD'S
Flour Tortilla Tacos cu carne de pui 80/250 gr.
MARTI
Fajitas cu carne de vita si garnitura de fasole 80/250/90 gr.
MIERCURI
Enchiladas cu carne de pui si fasole mexicana 70/100/200 gr.
Corn Tortilla Tacos 90/250 gr.
VINERI
Burrito cu orez mexican si smantana 190/250/15 gr.
SAMBATA
Mexican Steak si smantana 80/250 gr.
DUMINICA
Chili Relleno 90/250 gr.
Pofta buna!
1. Babaita I., Duta A. - Introducere in microeconomie, Editura de Vest, Timisoara, 1996
2. D.Stanescu, Alimentatie Catering, Ed. Oscar Print, Bucuresti, 1998
3. Farkas Alexandru - Economia de piata. Micro, Macro, Mondoeconomie, Editura Libris, Cluj-Napoca, 1996
4. I.Mincu, Notiuni elementare de alimentatie rationala, Ed. Medicala, Bucuresti, 1982
5. L.Braescu, Teza de doctorat, Bucuresti, 1997
6. Mincu I., Popescu A., Tirgoviste I. - Elemente de biochimie si fiziologie a nutritiei, Editura Medicala, Bucuresti, 1985
7. Negrea A., Pirvulescu L. - Alimentatie catering, Editura Eurobit, Timisoara, 2000
8. R.Nicolescu, Tehnologia restaurantelor, Ed. Inter-Rebus, Bucuresti, 1998
9. R.Palicica, J.Jianu, Merceologia produselor alimentare, Editura Lito, Timisoara, 1996
10. Vacarel Iulian - Politici economice si financiare de ieri si de azi, Editura economica, Bucuresti, 1996
11. Sava C., Lazoc R. - Economia intreprinderii de turism, Editura Brumar, Timisoara, 2001
12. ***, Ministerul Finantelor - Sistemul contabil al agentilor economici, 1994
13. ***, Catering expert, ian-dec 2001
14. ***, Catering expert, ian-apr 2002
15. ***, Institutul national de statistica (INS) - Cercetarea consumului de alimente, 1992
|
Politica de confidentialitate | Termeni si conditii de utilizare |
Vizualizari: 924
Importanta: ![]()
Termeni si conditii de utilizare | Contact
© SCRIGROUP 2025 . All rights reserved