| CATEGORII DOCUMENTE |
| Animale | Arta cultura | Divertisment | Film | Jurnalism | Muzica |
| Pescuit | Pictura | Versuri |
În cadrul acestei parti a proiectului, este propusa o infrastructura inovativa, in timp real, a salilor de clasa virtuale in care inteligenta sistemului multiagent este angrenata iar principiile computationarii distribuite (distributed computing) sunt folosite pentru a facilita interactiunea si cooperarea dintre agenti- permitand agentilor sa colecteze date si sa difuzeze (disseminate) informatie. Scopul este cresterea participarii active a studentilor si imbunatatirea timpului in care un instructor raspunde intrebarilor adresate de acestia. De asemenea se urmareste imbunatatirea colaborarii dintre studenti, in timp real, prin intermediul inteligentei sistemului multiagent. Aceasta abordare este o infrastructura de tehnologie independenta de continut (content-independent infrastructural technology). Principala directie de abordare a problemei este reprezentata de problemele adresarii din orice sala de clasa fara a se nominaliza un continut particularizat (de exemplu, matematica). Totodata, sunt abordate si proprietatile specifice tehnologiilor actuale precum scalabilitatea, flexibilitatea si mobilitatea.
Tehnologia informatiei reuseste sa modifice rapid procesul de educare prin imbunatatirea modului prin care informatiile si cunostintele sunt reprezentate si livrate studentilor. Propagarea tehnologiilor multimedia si Internet a insemnat schimbari signifiante in procesul de predare si invatare , trecandu-se de la o sala de clasa traditionala la o sala de clasa distribuita din punct de vedere geografic, o sala de clasa virtuala dar si interactiva.
În continuare va fi descrisa o infrastructura denumita "Infrastructura multiagent inteligenta pentru sisteme distribuite in educatie" (Intelligent Multiagent Infrastructure for Distributed Systems in Education -I-MINDS- ). I-MINDS, aparent, combina un model multiagent inteligent la nivelul aplicatiei cu un model de computatie distribuita la nivel de sistem, pentru a furniza functionalitati esentiale in cadrul procesului educational, precum colectarea de date (online sau offline), analize, feedback incorporat(embedded feedback), diferite evaluari dar si eventuale colaborari. La nivel de sistem , sunt folosite paradigme de computatie distribuita pentru construirea unei infrastructuri ce suporta procesarea informatiei rapid, asicron si concurent. La nivelul aplicatiei, sunt luate in vedere metodologiile din cadrul agentilor inteligenti si a sistemelor multiagent pentru a se reusi dezvoltarea unui produs software ce realizeaza luarea si monitorizarea de decizii. Aceasta infrastructura este,in concluzie, o abordare unificata realizata pentru a sprijini predarea si invatarea, plecand de la tehnologie de nivel redus (low-level) care sa permita activitati cognitive de nivel ridicat. Acest design este bazat pe doua produse de cercetare realizate de "Laboratorul de informatie distribuita securizata (Secure Distributed Information)" din cadrul Universitatii Nebraska, laborator a carui directie a fost indreptata spre computatia distribuita si cercetarea securitatii din cadrul retelei. Prima data, s-a adoptat "Java Object Passing Interface(JOPI)" pentru a facilita transmiterea mesajului bazat pe obiecte(object-based message) printre agenti. În partea a doua, s-a realizat aderarea catre un model de obiect partajat distribuit (Distributed Shared Object-DSO-), prin intermediul caruia se realizeaza colaborarea dintre agenti.
Design-ul I-MINDS la nivel cognitiv, exploateaza caracteristicile inteligentei(reactivitate, pro-activitate si abilitate sociala) ale agentilor si sistemelor multiagent pentru realizarea un mai bun suport pentru mediul inconjurator al unei sali de clasa in timp real. Agentii de tip student si profesor realizeaza o colaborare in scopul de a presta servicii cat mai bune studentilor si profesorilor reali. Un agent de tip profesor ajuta un profesor sa organizeze mai bine sala de clasa in timp real si sa analizeze statisticile dupa un curs - realizand o ierarhizare a intrebarilor, profile ale studentilor,etc- . Un agent de tip student, interactioneaza cu un student pentru ca acesta sa-si formuleze nevoile. Deasemenea, acesta realizeaza profilul comportamental al studentului si al celorlalti agenti de tip student folosindu-se de aceste profile pentru a realiza adevarate grupuri de prieteni (buddy groups) . Totodata, el interactioneaza cu agentul de tip profesor, pentru a obtine diferite date si informatii. Acest tip de design este diferit de majoritatea sistemelor actuale de educare bazata pe agenti, in care nu este folosita intreaga capabilitate a agentilor inteligenti. Mai mult, prin acordarea permisiunii ca agentii de tip student sa interactioneze strans, se profita de inteligenta sistemului multiagent- nici un agent nu este o entitate izolata ce interactioneaza doar cu profesorul si studentul-.
Partea de design are doua niveluri. Obiectivul la nivel de sistem este de a construi o infrastructura care sa fie scalabila, flexibila si portabila. La nivel de agent, obiectivul este de a construi o infrastructura care permite agentilor sa fie reactivi, pro-activi si sociali astfel incit acestia sa realizeze efectiv o colaborare.
Figura 3.1 arata infrastructura logica a I-MINDS. Infrastructura I-MINDS este bazata pe un model organizat pe straturi in care fiecare strat furnizeaza un set distinct de functionalitati pentru sistem. Separarea in acest mod realizeaza un model bine organizat care faciliteaza dezvoltarea si imbunatatirile viitoare. Reteaua care este suport pentru mediul de comunicare fundamentala reprezinta primul strat. Protocoalele la nivel de sistem si dotarile cu care acestea sunt incapsulate reprezinta al doilea strat ce furnizeaza o comunicare convenabila si desfasurarea functiilor catre nivelele superioare. Pentru a facilita programarea comunicatiei, JOPI si DSO sunt prezentate ca facand parte din ce de-al treilea strat. În final, agentii sunt prezenti pe cele doua straturi de nivel inalt. Fiecare agent are doua module de interactiune: dependet de continut sau independent de continut. Modulul independent de continut furnizeaza definitiile si procesele pentru partea de educatie si seviciile generale, in timp ce modulul dependent de continut se ocupa cu manevrarea bazei de cunostinte aferenta cursului, a euristicii si a datelor. Acest tip de design permite acestui sistem sa posede un nivel ridicat de flexibilitate si sa fie pe placul utilizatorului. Deasemenea, din momentul in care I-MINDS a fost dezvoltat si pentru platforma JAVA, acesta a capatat un grad de portabilitate ridicat fiind capabil sa lucreze si cu mediile eterogene.
System level
Agent-Centric facilities

Fig.3.1: Infratructura logica a I-MINDS
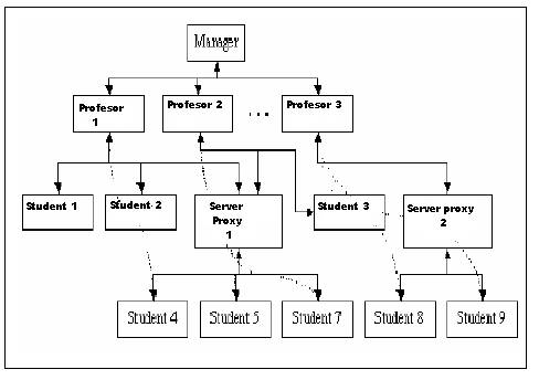
Figura 3.2 descrie structura topologica a I-MINDS. Luand in considerare ca o serie de studenti "la distanta" (si implicit,agentii lor) pot accesa Internet-ul avand o conexiune dial-up lenta, iar difuzarea multipla(multi-cast) fiind restrictionata in unele configuratii ale retelelor, s-a realizat un design al structurii topologice a I-MINDS asa cum este prezentat in figura 3.2. În varf este prezent managerul sistemului, care poseda toate informatiile referitoare la sistem, informatii ca cele despre inregistrarea studentilor, despre cursurile furnizate(disponibile) si cursurile aflate in desfasurare. Profesorii(si agentii de tip profesor corespondenti) sunt localizati in cel de-al doilea strat, ei ocupandu-se de predatul cursurilor. În afara studentilor(si a agentilor corespondenti), exista o serie de servere proxy "la distanta"(remote) pe cel de-al treilea strat, ce au ca scop realizarea unor punti(bridges) intre profesori si studenti acolo unde exista acces de viteza scazuta, sau acolo unde difuzarea multipla(multicast) este restrictionata in cadrul retelei. Functiunea indeplinita de serverele proxy "la distanta" este similara cu cea indeplinita de asa numitele "porti de acces"(gateways). Studentii acceseaza sala de clasa virtuala prin intermediul celui mai apropiat server proxy "la distanta", indirect,(exemplu, student 4) lucru descris prin intermediul liniilor curbate punctate.
Caracteristici ale designului:
portabilitateta. I-MINDS a fost implementata folosind limbajul JAVA, astfel incat sa poata fi rulat pe orice sistem de operar ce suporta o JVM(masina virtuala JAVA).
scalabilitatea. Prin folosirea serverelor proxy 'la distanta', asa cum este prezentat in figura 3.2, nu numai ca I-MINDS poate suporta conexiunea a sute de studenti, dar de asemenea ii poate sustine si pe aceia ce au o conexiune Internet lenta sau sunt situati in retele fara capabilitati in ceea ce priveste multicast-ul.
flexibilitatea.Se pot efectua cu usurinta modificari asupra serviciilor furnizate de cateva straturi din figura 3.1 fara afectarea functionalitatii celorlalte straturi. Mai mult, aceasta infrastructura poate suporta si alte tipuri de aplicatii prin inlocuirea stratului 5 cu acestea.
inteligenta. Inteligenta sistemului multiagent este angrenata in cadrul I-MINDS, fiecare utilizator(attendee) din cadrul salii de clasa fiind asociat cu un agent inteligent astfel incat sa contribuie la ajutarea procesului de predare si invatare, suplimentar, acesti agenti colaborand unul cu celalalt.
latime de banda necesara scazuta. În locul utilizarii serverului profesorului pentru a se ocupa de tot, cu ajutorul unui agent inteligent, calculatorul studentului se poate ocupa de o mare parte din ceea ce este de facut si implicit solicitarea retelei va fi redusa semnificativ. În continuare va mai fi redusa aceasta solicitare a retelei prin realizarea schitarii unui algoritm care sa urmareasca scrisul profesorului pe tabla din clasa, care sa transmita doar urma lasata de stiloul profesorului catre studenti, in locul realizarii unei capturi video, flux video intalnit in alte sisteme de educare online. Conform acestui experiment, latimea de banda necesara pentru transmiterea sunetului si a respectivei urme a scrisului de mana a profesorului pe tabla va avea dimensiunea aproximativa de 17kbps.
echipamente hardware necesare minime. Dispozitivele necesare profesorului include doar un sistem de calcul de performanta superioara si un microfon. Pentru a se obtine un impact cat mai bun, profesorul poate folosi un dispozitiv Mimio, un mouse Mimio, un proiector LCD si un dispozitiv webcam. Pe partea de student, se poate folosi un sistem de calcul echipat standard cu microfon, boxe, sistem ce poate oferi astfel toate functionalitatile si echiparile necesare pentru a se obtine acces complet la resursele I-MINDS. Datorita cerintelor minime pentru latimea de banda a retelei, nu sunt necesare retele dedicate, astfel incat atat studentii cat si profesorii pot folosi reteaua Internet.

Fig.3.2: Exemplu de infrastructura topologica a sistemului multiagent I-MINDS
(fiecarui student sau profesor sau student ii este asociat un agent)
În aceasta faza va fi descrisa configuratia sistemului, modul in care profesorii si studentii folosesc I-MINDS, modul in care agentii sprijina procesul de predare si invatare si modul in care studentii coopereaza unul cu celalalt prin intermediul agentilor inteligenti.
Mediul sistemului(system environment)
Figura 3.3 mediul de lucru al profesorului si studentului. Pe pozitia profesorului, acesta este sprijinit de un vector de componente de computatie si componente multimedia:
a) un sistem de calcul cu performante de nivel ridicat pe care ruleaza I-MINDS
b) un microfon ce realizeaza captura de sunet
c) un webcam ce realizeaza captura video
d) un sistem Mimio si un mouse Mimio ce realizeaza captura scrisului de mana al profesorului pe o suprafata plata(de exemplu, tabla din sala de clasa)
e) tabla din sala de clasa sau o suprafata plata
f) un proiector LCD cu ajutorul caruia sunt proiectate slide-urile cursului pe tabla, astfel incat acestea sa poata fi vizualizate de studenti
Observatie: Produsul software al agentilor de tip profesor transmit fluxurile video si de sunet catre agentii de tip student.
Computerul studentului
Spre deosebire de
mediul complicat specific pozitiei profesorului, pozitia studentului
necesita doar un sistem de calcul de nivel mediu pt a rula I-MINDS si
un microfon ce asigura comunicarea cu profesorul.
Fig.3.3: Mediul sistemului profesorului si studentilor
Dispozitivul Mimio este un dispozitiv de intrare alcatuit dintr-o bara ce simte si captureaza(sense-and-capture bar), instalata pe o suprafata plata, si un stylus, care atunci cand este apasat pe o suprafata, emite un semnal la o frecventa ce este detectata de catre bara de simt si captura. Mouse-ul Mimio transforma stylus-ul Mimio intr-o telecomanda, un mouse fara fir, astfel incat profesorul poate controla sistemul de calcul direct, prin apasarea asupra suprafetei plate(tablei) cu stylus-ul. În acest mod, tot ce este scris de profesor pe tabla este capturat, digitizat(digitized) automat si introdus in sistemul de calcul conectat la dispozitivul Mimio.
Prin imbinarea folosirii tehnologiei Mimio si a proiectorului LCD, s-a creat un mediu multimedia de urmatoarea maniera. Prima data, proiectorul LCD realizeaza proiectia ecranului sistemului de calcul pe tabla. Apoi, profesorul are capacitatea de controla respectivul ecran(proiectat) folosindu-se de mouse-ul Mimio, respectiv sa deschida o pagina Web noua, sa schimbe slide-ul si altele, dar si sa reuseasca sa scrie pe respectiva tabla folosindu-se de stylus-ul Mimio. Importanta acestei implementari este data de superioritatea supraimpunerii sau supraasezarii(superimposition or overlaying) a textelor scrise de mana(componente remote) cu ecranul sistemului de calcul(componente rezidente). Prin sincronizarea coordonatelor fizice ale tablei cu cele ale ecranului calculatorului, textul scris de mana este digitizat automat si integrat ca un singur obiect digital pe ecranul calculatorui care este proiectat in timp real. Aceasta tehnologie permite transmiterea acestor notatii(texte) impreuna cu slide-urile, de exemplu studentilor la 'distanta' implicati in desfasurarea cursului. În cadrul acestei implementari, ce are scopul de a micsora latimea de banda de retea folosita, agentul de tip profesor nu difuzeaza(stream) datele digitale continuu. În schimb, acesta transmite prima data componentele rezidente si abia apoi trimite componentele la 'distanta' modificabile(textul scris de mana) catre agentii de tip student.
Din figura 3.2 se poate observa ca cel ce se afla in varful infrastructurii este managerul, care detine informatiile topologice dinamice ale salilor de clasa, informatii ca inregistrarea studentilor la cursuri, datele referitoare la autentificarea studentilor si profesorilor, adresele IP si porturile folosite(listen port) de catre agentii de tip profesor dar si adresele IP ale serverelor proxy la 'distanta'. Cu ajutorul acestor informatii, profesorul si studentii sunt capabili sa creeze o sala de clasa flexibila dupa cum urmeaza:
a) Fluxul de lucru al profesorului
Atunci cand profesorul este pregatit sa inceapa un curs, el va porni produsul software ce detine interfata specifica profesorului(teacher-side interface software) si agentul de tip profesor, iar adresa IP a computerului si a portului aferent vor fi inregistrate de manager printr-un simplu proces de autentificare. Dupa aceasta, profesorul va putea sa prezinte cursul ca in salile de clasa traditionale, iar materialul video si audio, ca si tot ce este prezentat pe tabla va fi inregistrat si difuzat catre toti studentii online si catre toate serverele proxy la 'distanta', in timp real. Pe parcursul cursului, profesorul poate primi intrebari de la studenti. Cu ajutorul agentilor inteligenti de tip profesor, profesorul va selecta cele mai relevante si importante intrebari la care va raspunde. Mai mult, profesorul poate accepta si o solicitare verbala(audio) si poate comunica, astfel, direct cu studentul corespondent.
b) Suportul acordat de agentul de tip profesor:
Agentul de tip profesor are functiuni multiple care il fac capabil sa:
sa manipuleze intrebarile/exercitiile si raspunsurile de la toti studentii, intrebari adresate de studenti, regulile folosite pentru inferenta si profilele dinamice ale studentilor.
sa realizeze o clasificare a intrebarilor puse de studenti, pe baza profilului agentilor de tip student si a euristicii dependente de continut, realizand astfel o filtrare a informatiilor inteligenta, dinamica si performanta. În acest mod, agentul de tip profesor poate recomanda profesorului intrebarile cele mai importante la care poate raspunde in timpul cursului.
sa evalueze studentii pe baza raspunsurilor acestora la diferite intrebari si exercitii dar si sa monitorizeze intrebarile si actiunile agentilor de tip student.
sa comunice si sa furnizeze date si informatii agentilor de tip student.
sa genereze un set personalizat de exercitii si intrebari in functie de datele din fiecare profil al studentilor.
sa fie capabil sa se autoconfigureze si sa invete singur. De exemplu, regulile folosite pentru evaluarea calitatii intrebarilor pot fi schimbate in functie de nevoia de adaptare a acestora la diferite modele comune din cadrul profilelor dinamice ale studentilor.
c) Fluxul de lucru al studentului:
Dupa ce produsul software ce contine interfata de tip student si agentul de tip student sunt porniti, agentul de tip student va porni la randul lui un proces de autentificare. Datorita faptului ca studentul trebuie sa stie unde se afla profesorul sau, astfel incat sa stabileasca daca este nevoie de un server proxy, si, daca da, care este cel mai indicat, procesul de autentificare al studentului este mai complicat decat cel al profesorului. Scopul acestui proces de autentificare este de a permite agentului de tip student sa realizeze imediat un contact, prin transmiterea de catre acesta a adresei IP si a portului corepondent agentului de tip profesor, urmand ca apoi, cel din urma sa calculeze timpul dus-intors de transmitere a mesajelor(Round-Trip Time -RTT- ) intre cei 2 agenti.. Daca acest RTT este mai mic sau egal cu o valoare prestabilita, atunci agentul de tip profesor incadreaza acest agent de tip student in grupul sau de transmisie si confirma incadrarea catre agentul de tip student. Daca RTT este mai mare decat acea valoare prestabilita, insemnand ca viteza conexiunii dintre cei doi agenti este slaba si poate reduce calitatea transmisiei semnificant, atunci agentul de tip profesor informeaza agentul de tip student, astfel incat acesta sa selecteze un alt server proxy. În acest moment, agentul de tip student ruleaza o adevarata serie de teste in timp real asupra fiecarui server proxy din lista trimisa de manager. Selecteaza serverul care are cel mai bun RTT, in continuare, informand agentul de tip profesor de alegerea facuta. Agentul de tip profesor adauga serverul proxy in grupul listei de transmisie, tratand aceasta destinatie ca orice alta destinatie catre care trebuiesc transmise date. Dupa ce sala de clasa virtuala este intreaga, studentii pot primi cursul prin formate video, audio, imagine sau text si pot comunica cu profesorul prin voce, imagine sau text. Studentii pot iesi oricand din curs prin simpla delogare (logout
Natura distribuita a I-MINDS implica faptul ca un profesor poate preda cursul de oriunde, atat timp cat dispozitivele necesare sunt disponibile si activate iar studentii sunt capabili sa localizeze adresa IP si portul aferent salii de clasa virtuale prin contactarea managerului pentru a obtine informatiile de inregistrare aferente respectivului profesor. Prin setarea corecta a serverelor proxy la 'distanta', problemele legate de viteza scazuta de conectare la Internet si cea a restrictiei de transmitere multipla(multicast permission) este rezolvata. Studentii primesc fluxuri de date si informatii de la cel mai apropiat server proxy, nemaifiind necesara o conectare directa la serverul profesorului. Mai mult, serverul proxy poate oferi diferite niveluri de calitate a serviciilor catre diferiti studenti, in functie de conexiunea acestora. De exemplu, pe baza vitezei de conectare dintre agentul de tip student si server, se poate renunta la unele frame-uri video pentru a reduce cerintele de latime de banda la un nivel acceptabil.
d) Suportul acordat de agentul de tip student:
Agentul de tip student trebuie sa fie capabil sa realizeze urmatoarele functiuni:
sa comunice si sa primeasca date si informatii de la agentul de tip profesor.
sa realizeze profilul comportamental al studentului pe baza datelor colectate de-a lungul timpului.
sa creeze un grup de invatare colaborativ denumit 'prietenii'(buddies) dedicat studentilor.
sa filtreze si sa clasifice raspunsurile primite de la alti agenti de tip student pentru forum. Fiecare student are o fereastra de tip forum care ii permite acestuia sa trimita si sa primeasca mesaje tip text. Mesajele folositoare primite de la un student 'prieten' vor fi clasificate superior si prezentate studentului.
sa urmareasca activitatile si progresul in studiu al studentului. De exemplu, daca studentul a lipsit de la un curs, agentul student poate sa contacteze agentul profesor si sa identifice materialele prezentate la acel curs, enumerandu-i studentului lectiile pierdute.
e) Colaborarea dintre studenti prin intermediul agentilor:
Grupurile de prieteni(buddies group)
Agentul poate forma un grup de studenti fie pe baza unor nume specificate de un anumit student, fie pe baza similaritatilor din profilele studentilor pe care agentul le-a detectat. Grupul de prieteni functioneaza astfel. Atunci cand studentul pune o intrebare, agentul de tip student trimite automat intrebarea agentului de tip profesor. Totusi, nu toate raspunsurile primite de agentul de tip profesor vor fi adresate de catre profesor datorita limitei de timp. Acesta reprezinta punctul de inceput al invatarii colaborative. Agentul student trimite,de asemenea, intrebarea si celorlalti agenti de tip student din grupul de prieteni. Prietenii pot raspunde la respectiva intrebare prin intermediul componentei forum, sau pot alege sa nu raspunda. Prietenii care s-au dovedit a fi de folos vor fi clasificati superior in lista grupului de prieteni. Prietenii care nu au raspuns nici o data la o intrebare, vor fi inlaturati din grup. Aceasta caracteristica adauga inteligenta propriu-zisa in cadrul sistemului multiagent si faciliteaza colaborarea efectiva, dinamica, in timp real si ascunsa(behind-the-scene), fara ca studentilor sa li se ceara sa se identifice sau sa construiasca un astfel de grup singuri.
Tabla virtuala:
Cererea ca unii studenti sa lucreze impreuna pentru rezolvarea unor probleme, ca si cum ar fi fata in fata, a creat motivatia existentei unei table virtuale in I-MINDS. Tot ce este scris pe tabla virtuala este transmis catre ceilalti studenti ca si in cazul studiului de grup in timp real. S-a creat, totodata, si un mecanism de sincronizare si consistenta pentru a rezolva problema partajarii aceleiasi table virtuale de mai multi studenti.
Infrastructura I-MINDS are o aplicabilitate importanta in educatie, datorita capacitatii acesteia de a functiona in timp real si abordarii bazate pe agenti. Aceasta infrastructura a fost descrisa in scopul sprijinirii crearii unei sali de clasa virtuale. Ca si proiect aflat in desfasurare, un prototip I-MINDS a fost construit, prototip ce demonstreaza succesul functionarii acestuia. În cadrul acestui prototip, interfata utlizator a fost implementata complet, si, atat modulul pentru profesor cat si cel pentru student au fost realizate cu succes. De exemplu, agentul de tip profesor detine profilele tuturor studentilor si realizeaza o clasificare a intrebarilor acestora bazata pe evaluarea propriu-zisa a intrebarilor si a profilelor studentilor, acordandui-se astfel un calificativ general fiecarui student. Abilitatile de colaborare si invatare au fost si ele implementate in cadrul agentului de tip student, astfel incat grupurile de prieteni pot fi formate si rafinate pe baza observatiilor agentilor legate de mediul in timp real si de euristica incorporata. Totusi, constructia serverelor proxy la 'distanta' este inca in lucru, iar atunci cand se va reusi implementarea acestora, se va permite studentilor sa se conecteze efectiv la sistem prin intermediul unei varietati de conexiuni ale retelelor cu diferite proprietati.
Urmatorul pas este continuarea extinderii facilitatilor I-MINDS, prin terminarea realizarii componentelor ce sunt in prezent aflate in stadiu de dezvoltare. Apoi se va aborda un stadiu critic in cercetare, si anume incorporarea unor euristici pedagogice si teorii instructive in cadrul agentilor astfel incat agentii profesor sa realizeze o mai buna analiza a studentilor iar agentii student sa interactioneze unul cu celalalt mai eficient. Odata indeplinite aceste scopuri, I-MINDS va fi echipat cu o serie de cunostinte dependente de continut si diferite module, pregatindu-i astfel design-ul si metodologia pentru experimente in salile de clasa in timp real si actuale.
Aceste tip sisteme sunt practic o solutie pentru administrarea sistemelor complexe. Datorita autonomiei, ele pot actiona in numele utilizatorului, fara sa aiba doar functia unei simple interfete. De exemplu, pentru gasirea unei informatii pe Internet, utilizatorul o poate cauta singur sau poate apela la un agent care sa realizeze cautarea in locul lui si sa-i returneze apoi paginile cele mai semnificative. De asemenea, noul val de dezvoltare a tehnologiei si in special Internetul necesita posibilitatea ca diverse aplicatii sa comunice si sa interactioneze lucru realizat prin intermediul unor astfel de sisteme.
Lucrare : 'A Distributed, Multiagent Infrastructure for Real-Time, Virtual Classrooms'
Autor: Department of Computer Science and
Lucrare : ' Multiagent Systems'
Autor: Katia P. Sycara (American Association for Artificial Intelligence)
Lucrare : 'Modelarea proceselor de afaceri bazate pe managementul de cunostinte
Autor: prof. Mazilescu Vasile
Lucrare : ' Utilizarea programarii vizuale in interfete utilizator folosind modelul bazat pe agenti'
Autor: Catalin Aurel Rusu
Lucrare : ' Reprezentarea cunostintelor in Sistem Multi Agent'
Autor: https://thor.info.uaic.ro/~alaiba/club-ai/index.php?title=Reprezentarea_cuno%C5%9Ftin%C5%A3elor_%C3%AEn_Sistem_Multi_Agent&action=history
|
Politica de confidentialitate | Termeni si conditii de utilizare |
Vizualizari: 2022
Importanta: ![]()
Termeni si conditii de utilizare | Contact
© SCRIGROUP 2025 . All rights reserved