Scrigroup - Documente si articole

     

HomeDocumenteUploadResurseAlte limbi doc
AnimaleArta culturaDivertismentFilmJurnalismMuzica
PescuitPicturaVersuri

SONERIA DNS-206 Clopotel

diverse



+ Font mai mare | - Font mai mic



SONERIA DNS-206 Clopotel

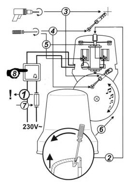
Sonerie trebuie instalata de catre un electrician autorizat



Folositi pentru legaturile electrice numai cablu de cupru izolat, cu sectiunea intre 0,5 mm si 2,5 mm

Circuitul electric pe care instalati soneria trebuie sa fie protejat de o siguranta  pentru a putea intrerupe alimentarea in cazul unei suprantensiuni.

Asigurati-va ca sursa de tensiune corespunde parametrilor necesari alimentarii soneriei , 8-230V/50 Hz.

Modul de instalare

Intrerupeti alimentarea din circuitul electric unde vreti sa montati soneria ( decuplati siguranta)

ATENTIE! Verificati cu un creion de tensiune sau un alt aparat de masura daca a fost intrerupta alimentarea in circuitul electric.

Desfaceti capacul soneriei prin ridicare, cu ajutorul unei surubelnite.

Alegeti locul de pe perete unde vreti sa montati soneria, insemnati doua puncte corespunzatoare spatelui soneriei si faceti 2 gauri in perete.

Montati diblurile in gauri.

Trageti cele doua fire de alimentare prin spatele capacului de sonerie, prin decupajul rotund prevazut acolo. Montati capacul spate al soneriei pe perete si strangeti-l in suruburile din perete.

Indepartati circa 10 mm din izolatia cablului si atasati firele la conectori prin strangerea suruburilor de prindere. Montati capacul soneriei.

Reconectati sursa de alimentare ( cuplati siguranta)

Verificati daca soneria functioneaza corect apasand butonul soneriei

Daca e necesar, reglati-va volumul prin rasucirea clopotului metalic

ATENTIE! Inainte de a detasa capacul soneriei, asigurati-va ca soneria nu este alimentata la sursa de curent. Folositi un aparat de verificat tensiunea!!!



Politica de confidentialitate | Termeni si conditii de utilizare



DISTRIBUIE DOCUMENTUL

Comentarii


Vizualizari: 2613
Importanta: rank

Comenteaza documentul:

Te rugam sa te autentifici sau sa iti faci cont pentru a putea comenta

Creaza cont nou

Termeni si conditii de utilizare | Contact
© SCRIGROUP 2025 . All rights reserved