| CATEGORII DOCUMENTE |
| Animale | Arta cultura | Divertisment | Film | Jurnalism | Muzica |
| Pescuit | Pictura | Versuri |
MASINA AUTOMATA DE TUNS IARBA
Descrierea contextului
Se cere realizarea unei masini automate de tuns iarba. Aceasta va fi folosita in curtea unor institutii. Echipamentul de tuns iarba, impreuna cu subsistemele de actionare si comanda, este imbarcat la bordul unui carucior prevazut cu doua roti motrice si doua de ghidare. Intrucat masina trebuie sa fie capabila sa taie iarba complet de pe o suprafata programabila, va trebui sa urmareasca in deplasarea sa traiectorii care sa asigure tunderea unor fasii paralele de gazon cu o
mica suprapunere intre fasiile adiacente.
La limita desemnata a terenului, masina va trebui sa intoarca, pentru a putea aborda urmatoarea fasie. De aceea, va trebui sa isi cunoasca pozitia. Aceasta se poate cunoaste prin suprapunerea
indicatiilor a doua sisteme de determinare a pozitiei: unul care functioneaza cu traductoare incrementale rotative amplasate pe axul motrice si pe axul de ghidare (v. fig, 1,a), iar celalalt care
calculeaza pozitia prin intermediul masurarii cu ultrasunete a distantei fata de 3 repere fixe (v. fig.1,b).


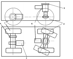
fig1. sisteme de determinare a pozitiei
1- roti motrice
2- roti de ghidare
3- sistem de actionare de tractiune
4- traductor rotativ incremental de deplasare
5- traductor rotativ incremental pentru orientare
6- sistem de actionare de orientare
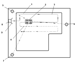
1- zona de lucru
2- carucior
3- traiecotria urmata
4- traiectoria programata
5,6,7 - tarusi activi
8- statia de andocare
9- canal de captura fig1. sisteme de determinare a pozitiei
Sistemul de determinare a pozitiei functioneaza in felul urmator:
a. Deoarece traductoarele sunt incrementale, pentru a realiza pozitia de referinta, se da o comanda speciala de aducere interna la zero in momentul cand masina ajunge la statia de andocare, a carei pozitie in sistem este cunoscuta (v. fig. 1,b). Masina este pozitionata initial manual, perpendicular in statia de andocare.
b. Pentru determinarea pozitiei cu ultrasunete, un emitator amplasat pe carucior emite succesiv scurte impulsuri formatate (care contin un cod de recunoastere), destinate celor 3 tarusi activi. Doar tarusul destinatar raspunde prin emiterea unui scurt impuls formatat deraspuns. Prin masurarea intirzierii dintre emisie si receptie si un calcul simplu, se determina distanta fata de tarusul respectiv. Prin luarea in considerare a celor 3 distante, obtinute succesiv la intervale foarte mici de timp, se obtine pozitia caruciorului.
Ambele metode au precizie relativ scazuta. De aceea, prin program trebuie luate in considerare indicatiile de la ambele sisteme si facute corectii.
Masina este prevazuta cu senzori de proximitate, pentru a preveni ciocnirea cu obstacole, precum si cu o camera video Deoarece caruciorul e autonom si are imbarcate sisteme de actionare relativ puternice, rezulta un consum energetic ridicat. Acumulatoarele imbarcate vor fi epuizate rapid si trebuie reincarcate. In aceasta situatie, ciclul de tuns iarba se intrerupe, caruciorul se deplaseaza pe drumul cel mai scurt spre statia de andocare si intra in canalul de captura din fig. 1,b, unde va fi ghidat de senzori de proximitate pana la contactul cu priza de incarcare. Dupa terminarea incarcarii, masina isi reia ciclul de tuns iarba. La terminarea ciclului de lucru, masina se va pozitiona in statia de andocare.
Sistemul de comanda al masinii este legat prin conexiune wireless la reteaua institutiei unde este
folosita.
Cerinte functionale
Prin aceasta tema se solicita realizarea proiectului partii electrice a sistemului de actionare (care, evident, are si o parte mecanica) pentru masina automata de tuns iarba, pentru tarusii activi si
pentru celelalte componente care rezulta din prezentele cerinte:
1. Masina de tuns iarba va fi capabila sa realizeze cicluri complete de tuns iarba prin parcurgerea unor traiectorii paralele, astfel incat sa acopere zone de terne de forme rectangulare sau reuniuni de forme rectangulare, cu teren plat si fara denivelari.
2. Forma zonei de lucru poate fi stabilita prin intermediul unui program special, in care prin intermediul unor facilitati de editare grafica, se traseaza forma terenului (la scara), precum si amplasarea tarusilor activi si a statiei de andocare. Traiectoria masinii va fi calculata prin program. Programul precizat va putea rula pe un calculator PC din reteaua institutiei.
3. Masina va fi capabila sa sesizeze supraincarcarea motoarelor de actionare a sistemului de tuns, a actionarii motorului aspiratorului de iarba, a actionarilor de deplasare si pozitionare.
La supraincarcare se va schimba sunetul de avertizare de la pct. 11 si se semnaleaza
acest incident si prin retea, iar masina isi va opri toate motoarele, in asteptarea unei comenzi prin retea sau a unei comenzi locale, in cazul actionarii cheii de blocare de la pct. 10.
4. Senzorii de deplasare interni genereaza un numar de 128 impulsuri/rotatie dar la subansamblu de orientare traductorul este actionat prin intermediul unui angrenaj multiplicator de 4:1. Rotile motrice au diametrul exterior de 24 cm.
5. Corecta andocare va fi indicata prin apasarea unui microintrerupator de pe masina, de catre statia de andocare, care poate fi apasat doar in situatia pozitionarii corecte.
6. Latimea fasiei abordabile este setabila prin software.
7. Obstacolele sunt sesizate de un set de 16 senzori de proximitate, amplasati pe perimetrul masinii.
8. Unghiul de orientare maxim este limitat prin software si poate fi modificat prin setari.
9. Situatia din zona de lucru poate fi vizualizata si prin INTRANET / INTERNET prin utilizarea unei camere WEB instalate pe masina.
10. Sistemul electric de comanda trebuie sa includa posibilitatea blocarii/deblocarii sale fata de orice alta posibilitate de comanda externa cu ajutorul unui subansamblu cu cheie (similar
celor de pe calculatoarele PC).
11. Pe parcursul executarii deplasarii, se emite un semnal sonor si/sau o lampa lumineaza intermitent pentru avertizare.
12. Motorul de deplasare va fi de tipul de curent continuu, cu magneti permanenti. Modelul matematic poate fi aproximat printr-un sistem de ordinul 2, cu 2 constante de timp (mecanica, electrica). Sistemul de conducere va asigura reglajul de turatie.
13. Motoarele partii de tuns iarba si de aspirator vor fi de tipul de curent continuu, cu perii.
14. Motorul de orientare va fi de tip pas cu pas, cu 4 faze. Sistemul de comanda va asigura comanda directa a fazelor.
15. Sistemul de ecolocatie va avea filtre analogice trece-banda pentru filtrarea frecventei utile.
16. In cazul defectarii sistemului de alimentare cu energie electrica (acumulatorii nu mai functioneaza sau a intervenit ceva neprevazut in ciclul de alimentare prin andocare), trebuie sa existe posibilitatea actionarii manuale pentru deplasarea caruciorului, iar la remedierea defectiunii (inlocuirea acumulatorilor) trebuie sa existe posibilitatea reluarii activitatii de unde a fost intrerupta.
17. Alimentarea echipamentului mobil (inclusiv a motoarelor de actionare) se face de la acumulatoare de curent continuu cu o tensiune de lucru de 14,4 V.
18. Gradul de protectie impus este IP56, iar dispozitivul trebuie sa functioneze la temperaturile in intervalul [-20sC, +50sC].
19. Durata de viata normata impusa partii electrice este de 10 ani, in cazul respectarii instructiunilor de exploatare si mentenanta prevazute de proiectant (cu exceptia acumulatoarelor).
20. Partea de documentatie a proiectului care va fi predata clientilor si/sau unitatilor de service trebuie sa contina, in functie de destinatia ei, scheme electrice de principiu, desene de echipare si cablare, instructiuni de instalare, utilizare, mentenanta si specificatii de
garantie.
Specificatii tehnice
1. Sistemul de comanda va avea un panou de comanda detasabil, cu un fir de legatura de 1 m, care va contine un buton de selectare a regimului, un afisaj cu cristale lichide cu 2 x 20 caractere, un joystick pentru dirijarea masinii, butoane de Start si Stop si unul de Referinta
(pozitie initiala), precum si doua taste sageti.
2. Sistemul va avea urmatoarele regimuri de lucru (comutarea intre regimuri se face cu butonul Regim, acesta fiind indicat in clar pe afisajul cu cristale lichide):
2.1. Regimul de calibrare - permite calibrarea sistemelor de masura de pozitie. Modul de calibrare va fi stabilit de catre proiectant.
2.2. Regimul de Referinta - permite stabilirea limitelor terenului de lucru, in cazul ca nu se doreste utilizarea editorului grafic. Modul de lucru va fi stabilit de catre proiectant. Atentie ! Se pot folosi strict resursele disponibile, imbarcate pe masina.
2.3. Regimul de lucru automat. In acest regim se intra la pornire, daca a fost efectuata o programare prealabila si daca sistemul sesizeaza pozitionarea in statia de andocare. In acest regim, se realizeaza activitatea de baza, intrerupta eventual de cicluri de incarcare a acumulatorilor.
2.3.1. Pornirea se face prin apasare pe butonul Start sau prin transmiterea unei comenzi prin retea.
2.3.2. In acest regim se poate selecta programul de lucru prin urmarirea pe afisajul cu cristale lichide a denumirii programului si baleierea (parcurgerea tuturor programelor de lucru) cu ajutorul tastelor sageti.
2.3.3. Oprirea se face prin terminarea ciclului complet de lucru, prin apasare pe Stop, prin incident de tipul celui de la pct. 3 sau prin comanda prin retea (daca cheia autorizeaza comenzile exterioare)
2.3.4. Regimul de jog - permite deplasarea caruciorului cu ajutorul comenzilor de pe panoul de comanda, conform pct. 10.
2.3.5. Regimul de service - care permite efectuarea unor teste, atat la producator cat si la beneficiar, in vederea identificarii elementelor componente defecte. Testele effectuate in acest regim se stabilesc de catre proiectant.tuturor functionalitatilor cerute, propunand si tehnologii de realizare pentru fiecarecomponenta.
5. Propuneti o planificare a lucrarilor de proiectare si realizare a unui prototip. Se cereestimarea resurselor necesare (umane, tehnice, timp) pentru fiecare etapa. Estimati grosiercosturile de dezvoltare (mai putin costurile materiale pentru realizarea prototipului).


|
Politica de confidentialitate | Termeni si conditii de utilizare |
Vizualizari: 2925
Importanta: ![]()
Termeni si conditii de utilizare | Contact
© SCRIGROUP 2025 . All rights reserved