| CATEGORII DOCUMENTE |
| Agricultura | Asigurari | Comert | Confectii | Contabilitate | Contracte | Economie |
| Transporturi | Turism | Zootehnie |
"Comertul reprezinta schimbul de produse prin cumpararea si vanzarea lor; ramura a economiei in cadrul careia se desfasoara circulatia marfurilor"[1]. Primele manifestari ale schimbului au aparut odata cu ideea de proprietate.Pentru satisfacerea trebuintelor existentei, oamenii au inceput sa schimbe intre ei produse agonisite din mediul inconjurator ori facute prin munca lor. Trocul reprezinta cea mai primitiva forma de schimb. Cresterea nevoilor oamenilor si amplificarea relatiilor dintre ei au impus anumite forme de organizare, prin care se asigurau conditiile pentru a se putea intalni un numar mare de indivizi la anumite perioade de timp si in locuri determinate. Asa au aparut targurile, care au jucat un rol insemnat in nasterea si imflorirea comertului.
Evolutia de ansamblu a economiei mondiale, scoate in evidenta ca, peste tot in lume, comertul, in special, a devenit, in mod progresiv, un sector economic foarte dinamic, aparatul comercial cunoscand profunde mutatii pe toate planurile: metode de vanzare, forme de distributie, repartitie geografica a managementului intreprinderilor. De asemenea, se constata ca respectiva activitate - comertul cu amanuntul - ca ultima veriga a lantului care duce pe producator spre consumatori, este foarte sensibil si vulnerabil la evolutia mediului ambiant, dovedind insa o mare capacitate de a se adapta la noile conditii ale pietei.
In cadrul circuitului comercial al produselor, un rol important revine comertului cu amanuntul, ca veriga intermediara in fluxul relatiilor producator - consumator. Cunoasterea multiplelor aspecte pe care le ridica ansamblul proceselor ce dau profilul acestei activitati, ofera atat orientarea , cat si instrumentul de actiune de care au nevoie intreprinderile din domeniul circulatiei marfurilor.
Comertul cu amanuntul reprezinta o forma a circulatiei marfurilor a carei functie consta in a cumpara marfuri pentru a le revinde consumatorilor sau utilizatorilor finali, in cantitati mici si in stare de a fi intrebuintate.
Economia moderna a generat insa noi exigente fata de comertul cu amanuntul, determinandu-l ca fata si alaturi de vanzarea propriu-zisa, sa includa in preocuparile sale ti realizarea unor servicii care sa conduca la imbunatatirea sistemului de satisfacere a nevoilor consumatorilor sau utilizatorilor finali si implicit la cresterea gradului de satisfactie a acestora. Este vorba atat de servicii pe care le pot realiza insasi comerciantii cu amanuntul, cum ar fi cele de consulting, ajustajul unor produse, cat si de o serie de servicii ce sunt asigurate impreuna cu alte unitati de specialitate cum sunt cele privind asigurarea transportului marfurilor la domiciliul consumatorului, instalarea si garantie postcumparare, asistenta sociala, diverse servicii personale.
Un studiu realizat in anul 1987, de catre o comisie de specialitate a ONU, preciza, cu privire la activitatile de comert, cateva aspecte deosebit de importante care pot reprezenta adevaratele elemente cadru pentru urmarirea evolutiei comertului cu amanuntul in preajma anilor 2000. Dintre acestea, un interes deosebit, prezinta:
recunoastere rolului comertului ca determinant in evolutia economica a diferitelor tari;
dinamizarea puternica a comertului de catre tehnica electronica si indeosebi de cea informativa, ce va favoriza modalitati rapide de informare si plata, in raporturile sale cu cumparatorii;
penetrarea informaticii va modifica gestiunea functiilor vanzarii;
cartile de credit vor modifica sistemul de raporturi atat cu cumparatorii cat si cu sistemele bancare;
comertul cu amanuntul va cunoaste puternice influente din partea unor revolutii geografice atat de ordin tehnologic cat si de ordin politic;
influente care vor modifica concomitent, circuitele economice si fluxurile de cumparatori;
formele de organizare ale ansamblului de activitati ce dau profilul de organizare ale comertului cu amanuntul se vor caracteriza prin ritmuri rapide, atat sub aspectul evolutiei, cat si sub aspectul conducerii acestora;
atributiile asa-zise "generaliste" vor cunoaste un ritm mai slab de dezvoltare.
Comertul cu amanuntul a fost puternic influentat, in ceea ce priveste evolutia sa, de o multitudine de fenomene, fiecare dintre acestea punandu-si amprenta pe anumite laturi ale acestuia. Asemenea fenomene impartite in doua categorii:
unele care tin de cumparator;
altele generate de insasi activitatea comerciala.
In ceea ce priveste influentele care vin din partea cumparatorilor, ele sunt generate de mutatiile intervenite in structura pe varste a populatiei, in cresterea puterii de cumparare si in transformarile continue care intervin in modul de viata.
Modificarea structurii pe varste a populatiei genereaza, indeosebi, prin gusturile si inovatiile fiecarei categorii de consumatori, in mod continuu, noi exigente cu privire la evolutia comertului, in sensul modernizarii sale sub toate formele.
Sporirea puterii de cumparare favorizeaza evolutia comertului cu amanuntul, atat prin redimensionarea si restructurarea nevoilor de consum ale populatiei cat si prin disponibilizarea si facilitarea unor cai de satisfacere a nevoilor respective.
In ceea ce priveste transformarile intervenite in modul de viata, acestea au la randul lor multiple influente asupra evolutiei de perspectiva a comertului cu amanuntul.
Trebuie avut in vedere:
urbanizarea crescanda a mediului rural,
aparitia unor orasele satelit in preajma marilor aglomeratii urbane etc.
fenomene care genereaza o noua orientare a relatiei comerciale stabile cat si necesitatea apelarii la noi metode de vanzare pentru acoperirea unor astfel de zone.
Referitor la fenomenele generate de insusi sistemul de distributie al marfurilor, de subliniat ca acestea pot fi grupate, la randul lor in:
fenomene de ordin managerial;
fenomene de ordin material;
fenomene de ordin comercial.
Aspectele de ordin managerial au in vedere penetrarea si extinderea continua, in cadrul comertului cu amanuntul, a unor metode moderne de gestiune a stocurilor, a noi sisteme de aprovizionare, precum si influenta puternica a informaticii de activitate manageriala.
Pe plan material, fenomenele se refera la:
imbunatatirea sistemelor si mijloacelor de transport;
mecanizarea si automatizarea manipularii de marfuri;
aparitia de noi materiale si tipuri de ambalare a marfurilor, care permit tehnologii moderne de prezentare si etalare a marfurilor si chiar de vanzare a produselor.
Fenomenele de ordin comercial, ca factor de influenta au in vedere trecerea la aplicarea pe scara larga a tehnicilor de marketing, realizarea diferitelor studii de piata si de motivatie, in vederea cunoasterii si atragerii clientilor, perfectionarea sistemului de prezentare a marfurilor, utilizarea design-ului si merchandising-ului.
Evolutia de ansamblu a activitatii comertului cu amanuntul va fi marcata de incercarile intreprinderilor de a face fata unui mediu inconjurator in continua transformare. Aceste incercari se vor materializa in dezvoltare si perfectionarea conceptelor manageriale, precum si in promovarea unor noi practici si tehnologii comerciale.
Dezvoltarea si perfectionarea conceptelor manageriale.Aceasta tendinta se va contura ca una dintre cele mai importante tendinte ale viitoarelor evolutii ale comertului cu amanuntul pe plan mondial. Fenomenul va imbraca aspectul unui proces ale carui coordonate vor fi date de diverse preocupari privind perfectionarea modalitatilor de orientare si conducere a activitatii comerciale.
Intre acestea ar putea fi avute in vedere:
concentrarea conducerii activitatii comerciale;
scaderea numarului de unitati si cresterea sensibila a suprafetei medii a acestor preocupari pentru crearea continua de noi tipuri de comert;
internationalizarea unor tipuri de comert si promovarea diferitelor forme de vanzare bazate pe acordurile de franciza.
Concentrarea activitatii comerciale trebuie avuta in vedere atat sub aspectul gradului de independenta si marime a firmelor comerciale, cat si sub forma raporturilor de marime a diferitelor tipuri de unitati gestionate de o firma comerciala. Cu privire la gradul de independenta si marimea firmelor comerciale trebuie subliniat faptul ca in majoritatea tarilor cu o economie dezvoltata, modernizarea activitatii comerciale are loc in cadrul unui proces concentrare a activitatii comerciale prin disparitia a numeroase firme comerciale mici, familiale si consolidarea unor firme comerciale care dispun de mari suprafete de vanzare sau folosesc diverse variante ale comertului fara magazine.
Comertul integrat este cel care va inregistra progresele cele mai rapide. Trebuie subliniat ca este vorba de un nou tip de comert integrat, realizat de intreprinderi ce dispun de mari suprafete comerciale si care combina diverse forme de vanzare.
Scaderea numarului de unitati si cresterea sensibila a suprafetei medii a acestora constituie o alta tendinta in evolutia comertului cu amanuntul. Atat evolutia comertului european, cat si a comertului din America de Nord, s-a caracterizat in ultimele decenii, printr-o diminuare a numarului de unitati marunte si aparitia unor mari suprafete comerciale. Fenomenul de diminuare a numarului de unitati a avut o intensitate mai mare la inceputul intervalului analizat, dupa care in ultimii ani s-a diminuat. El apare ca efect mascat al unor modificari de structura in cadrul retelei comerciale. Respectivul fenomen isi pune amprenta si pe evolutia marimii medii a unitatilor, apreciindu-seca acestea se va dubla intr-un interval de 20-25 de ani.
Promovarea unor practici si tehnologii comerciale. Desfasurandu-si activitatea in conditiile unui cadru de piata deosebit de complex si in continua schimbare, comertul cu amanuntul a fost nevoit sa-si concentreze, concomitent, cautarile si eforturile, pentru a gasi, elabora si adopta noi practici si tehnologii comerciale.
Intre practici le si tehnologiile comerciale care specialistii apreciaza ca se vor constitui in tendinte ale evolutiei comertului cu amanuntul pot fi consemnate in mod deosebit:
imbunatatirea conceptelor de distributie existente;
crearea de noi concepte de comercializare a marfurilor;
integrarea marketingului in practica comerciala cotidiana si diversificarea continua a activitatii comerciale.
Imbunatatirea conceptelor de distributie existente,ca tendinta a evolutiei comertului cu amanuntul, are in vedere cresterea nivelurilor performante ale sistemului sau practicilor existente, prin identificarea si adoptarea unor proceduri si metode care sa aduca la atragerea si permanentizarea a noi contingente de consumatori.
Cea mai importanta tendinta in evolutia practicilor comerciale cu amanuntul, care se va impune in viitor, ca raspuns al comertului la modificarile mediului economico-social, o va constitui crearea de noi concepte de distributie. Acestea au aparut si vor aparea, in continuare, fie ca tipuri derivate din formele existente, fie ca noi creatii menite sa asigure noi modalitatii de comunicare cu comunicare cu consumatorii potentiali. Vor fi create noi tipuri de magazine:
specializate pe expozitii cu vanzare a articolelor casnice,
magazine de uzina,
magazine-depozit,
drudstore, care sa practice noile sisteme cat si noile forme de discount.
S-a impus si se va impune, in continuare, ca tendinta si integrarea functionala a practicilor de marketing in activitatea comertului cu amanuntul. Procesul are in vedere, pe langa orientarea integratoare de ansamblu a comertului in evolutia mecanismului de piata si fundamentarea intregii sale dezvoltari pe baze stiintifice, si o serie de elemente specifice, generate de concurenta, care obliga la cunoasterea si satisfacerea diferentiata a fiecarui segment de cumparatori.
O latura importanta ce contribuie la conturarea noilor tendinte in evolutia comertului cu amanuntul pe plan mondial o constituie mutatiile care vor interveni in tipologia vanzarilor. Pentru a asigura o mai buna urmarire a tendintelor acestea, ele vor fi structurate cu ajutorul acelorasi grupe pe baza carora a fost analizata anterior tipologia formelor de vanzare, respectiv:
comertul stabil;
comertul mobil;
comertul fara magazine.
Comertul stabil va inregistra, potrivit unor sociologi francezi, cele mai semnificative transformari, conturand tendintele care intr-adevar, vor oglindii necesitatile timpului viitor.
Una din principalele tendinte ce vor aparea in cadrul procesului de vanzare, se refera la asigurarea unor actiuni comerciale de tipul "cumparare-spectacol". Prin asemenea actiuni firmele comerciale vor incerca sa-si transforme magazinele in centre de atractie ale populatiei, deplasarea la cumparaturi fiind determinata de noua imagine a respectivelor unitati comerciale.
O asemenea imagine va fi creata, prin procese de aclimatizare artificiala, asigurarea unei ambiante specifice sortimentelor de marfuri comercializate, jocuri de ape si lumini etc., ca la un adevarat spectacol astfel incat, cumparatorul sa resimta atmosfera folosirii reale a unui anumit produs.
O a doua tendinta o va constitui - in cadrul comertului cu amanuntul - penetrarea si conturarea unor preocupari cu privire la organizarea diferitelor tipuri de vanzari asa-zise tehnico-informatizate. In cadrul unor asemenea sisteme de comercializare a produselor, o serie de cumparatori va putea fi efectuate de acasa, cumparatorul putand consulta reteaua televiziunii de specialitate, care va asigura gama informatiilor de rigoare cu privire la marca, pret, calitate, mod de utilizare, comparatii si, la cererea cumparatorului, si unele demonstratii. Prin intermediul tehnicilor informative se va asigura preluarea comenzilor, onorarea cu maxima promptitudine a comenzilor respective, precum si plata electronica a contravalorii marfurilor prin intermediul moneticii.
Cea de-a treia tendinta se refera la promovarea unor metode de vanzare practice si rapide. Preocuparile vor consta in folosirea unor metode de vanzare care sa transforme magazinele intr-un fel de sali de expozitie, unde prezentarea produselor va fi cvasiunitara. Asemenea practici au in vedere ca solicitorul, va introduce cartea de credit int5r-unul dintre lectorii magnetici instalati in dreptul produsului expus si dorit, iar la iesirea din fluxul de cumparare se va face plata prin introducerea aceleiasi carti de credit intr-un lector optic, bancar.
Pe langa transformarile avute in vedere referitor la vanzarile din reteaua traditionala de unitati ale comertului stabil, o serie de noi metode de vanzare vor fi introduse in comertul bazat pe automate comerciale. Comertul clasic, realizat prin automate, va asimila noi metode de automate comerciale, avand domenii de exploatare necunoscute pana de curand. Vor aparea automate pentru vanzarea diferitelor articole alimentare, pentru tipuri de gustari si pentru tipuri de programe, destinate calculatoarelor personale.
Comertul mobil va cunoaste si el impactul influentelor generate de mediul inconjurator si de posibilitatile perfectionarii si modernizarii sale oferite de revolutia tehnico-stiintifica.
Intre acestea, cea mai importanta tendinta este aceea de a se trece la realizarea vanzarilor pe baza unui program bine organizat atat sub aspectul itinerarului, cat si sub aspectul orelor de oprire si a timpului de stationare in fiecare dintre punctele stabilite pentru zonele aprovizionate. Se va trece la proiectarea si realizarea unor linii de automatizare care urmeaza un parcurs calculat cu grija, care sa stationeze in locuri dinainte fixate si cu o durata de servire specifica fiecarei localitati. Automagazinele vor practica metoda autoservirii si vor avea stabilit un flux unic.
In cadrul comertului fara magazine, principalele tipuri de comercializare care vor cunoaste mutatii esentiale, sunt vanzarile prin corespondenta si vanzarile electronice. Se remarca astfel trei mari tendinte:
Prima tendinta are in vedere, pentru cele doua metode de vanzare, o modernizare mai accentuata. Intreprinzatorii incearca sa realizeze acest lucru printr-o extindere a tehnicilor computerizate in procesul de primire al comenzilor, tratarea acestora si pregatirea marfurilor pentru expediere. Se incearca perfectionarea proceselor de vanzare si prin largirea posibilitatilor lingvistice de corespondenta sau de dialog intre diversele firme de specialitate si clientela acestora.
O alta tendinta priveste incearca de a se asigura treptat o impletire intre practicile comerciale sau diversele forme de vanzare fara magazine cu sistemele, procedurile si metodelor de vanzare realizate prin intermediul marilor suprafete comerciale din cadrul comertului stabil. Astfel, vanzarea pe baza de catalog a fost introdusa ca forma activa de comercializare a marfurilor in marea majoritate a marilor magazine din Europa si din continentul nord-american.
O a treia tendinta consemneaza o intrepatrundere a insasi metodelor de vanzare caracteristice comertului fara magazine, completandu-si si potentandu-se reciproc.
Un exemplu in acest sens, il poate constitui penetrarea tot mai puternica a telematicii (ca metoda de vanzare electronica) in cadrul vanzarilor prin corespondenta, reusindu-se o crestere a operativitatii acestora din urma si o valorificare mai eficienta a valentelor moderne oferite de metoda vanzarilor electronice.
Alaturi de cele doua importante categorii de tendinte care se refera la evolutii de ansamblu a activitatii comertului cu amanuntul si la mutatiile intervenite in tipologia vanzarile, in ultimele decenii au intervenit fenomene interesante cu privire la conectarea activitatii comertului cu amanuntul din fiecare tara la circuitul comercial international, asemenea fenomene definind un pronuntat proces de internationalizare.
Se apreciaza, astfel, ca, date fiind conditiile economice si politice ce caracterizeaza evolutia lumii contemporane, tendinta de internationalizare a comertului cu amanuntul, in general, si cea a comertului specializat, in mod deosebit, se va accentua puternic in viitori ani, devenind o trasatura de profil a comertului interstatal.
Kalakota si Whinston: ". o metoda moderna de afaceri, care se adreseaza nevoilor firmelor, pietelorsi clientilor prin reducerea costurilor, concomitent cu imbunatatirea calitatii produselor si serviciilor, precum si cresterea vitezei de livrare sau prestare. Comertul electronic nu poate fi tratat fara a avea in vedere retelele de calculatoare, utile in cautarea si gasirea informatiilor necesare sprijinirii luarii diferitelor decizii atat de catre firme, cat si de catre consumatori".[2]
Kestenbaum si Straight: "Comertul electronic reprezinta o integrare a e-mailului, transferului electronic de fonduri, schimbului electronic de date si alte asemenea tehnici intr-un sistem electronic atotcuprinzator de functii economice".[3]
Dennis P. Geller: "colectia de instrumente si practici ce presupun utilizarea tehnologiilor Internet si care permit unei firme de a crea, intretine si optimiza relatiile de afaceri cu alte firme si consumatorii individuali".[4]
In Buyer's Guide to Electronic Commerce: "Comertul electronic consta in utilizarea tehnologiilor informationale pentru imbunatatirea relatiilor dintre partenerii de afaceri".[5]
Exista si alte modalitati de definire a comertului electronic, plecand de la modul in care este perceput de diferite grupuri, respectiv de utilizatori, lumea afacerilor, institutiile guvernamentale si furnizorii de tehnologie informationala (hardware si software).[6]
In Microsoft Press Computer Users' Dictionary, comertul electronic este definit ca fiind "activitatea comerciala care are loc prin intermediul calculatoarelor conectate intre ele".
O imagine generala a comertului electronic este descrisa in raportul Casei Albe din iulie 1997, intitulat "Cadrul general pentru comertul electronic global" (A Framework for Global Electronic Commerce), in care apar urmatoarele afirmatii:
"Asa dupa cum Internetul democratizeaza societatile si ofera o mai mare putere cetatenilor prin informatii, si comertul electronic impune modificari majore asupra paradigmei economice clasice cu privire la cumparatori si vanzatori. Noile modele de interactiune comerciala se dezvolta astfel incat sa permita firmelor si consumatorilor sa faca parte din piata electronica si sa obtina beneficii".
"Internetul, intraneturile si alte retele de calculatoare pot reduce substantial costurile tranzactiilor si pot facilita noi tipuri de tranzactii comerciale, precum si noi acorduri intre cumparatori si vanzatori, care sa le permita desfasurarea activitatilor de comert mult mai usor."
In ultimul deceniu , Internetul a evoluat intr-o unealta formidabila avand un impact major in toate aspectele vietii. La fiecare jumatate de an apar schimbari asa de importante incat este imposibil de prevazut unde se va ajunge in urmatorii 10 ani . In prezent , participam cu totii la o revolutie care are loc in comert si telecomunicatii .Marile companii ale secolului isi vor avea originile in aceasta decada . Conform unor statistici , utilizatorul tipic de Internet este american (84%) , alb (87%) , vorbitor de limba engleza (93%) , in varsta de 35 de ani, educat si avand un salariu bun .
Comert electronic inseamna, in acceptiune 'traditionala', utilizarea in retele cu valoare adaugata a unor aplicatii de tipul transferului electronic de documente (EDI), a comunicatilor fax, codurilor de bare, transferului de fisiere si a postei electronice. Extraordinara dezvoltare a interconectivitatii calculatoarelor in Internet, in toate segmentele societatii, a condus la o tendinta tot mai evidenta a companiilor de a folosi aceste retele in aria unui nou tip de comert, comertul electronic in Internet, care sa apeleze - pe langa vechile servicii amintite - si altele noi.
Comertul electronic (e-commerce, pe scurt EC) este acea maniera de a conduce activitatile de comert care foloseste echipamente electronice pentru a mari aria de acoperire (locul in care se pot afla potentialii clienti) si viteza cu care este livrata informatia.
EC ofera oportunitatea de a comercializa produse in intreaga lume, sporind numarul de potentiali clienti in primul rand prin eliminarea barierelor geografice dintre clienti si comercianti
Este vorba, de exemplu, de posibilitatea de a se efectua cumparaturi prin retea, consultand cataloage electronice 'on' pe Web sau cataloage 'off' pe CD-ROM si platind prin intermediul cartilor de credit sau a unor portmonee electronice.
Pentru altii, comertul Internet reprezinta relatiile de afaceri care se deruleaza prin retea intre furnizori si clienti, ca o alternativa la variantele de comunicatii 'traditionale' prin fax, linii de comunicatii dedicate sau EDI pe retele cu valoare adaugata.
In fine, o alta forma a comertului Internet implica transferul de documente - de la contracte sau comenzi, pana la imagini sau inregistrari vocale.
Chiar daca definitiile comertului electronic difera, totusi, au un element comun: efectuarea de tranzactii intr-un mediu electronic si obtinerea de avantaje de catre toti partenerii de afaceri, imbunatatirea calitatii produselor si serviciilor, precum si cresterea vitezei de realizare a tranzactiilor comerciale.
Dezvoltarea fara precedent din ultimele doua decenii a tehnologiilor informationale determinate de necesitatea stocarii si a transmiterii rapide a informatiilor cu cele mai mici costuri, a revolutionat comertul global, comertul direct sau cu amanuntul, redefinind principiile clasice ale marketingului. Astazi, termenul de comert electronic a devenit sinonim cu cresterea profitului.
Comertul electronic consta in derularea unei afaceri, ca activitate generatoare de valoare, avand ca suport reteaua Internet si utilizarea unor pachete de programe software specifice.
Comertul electronic este cheia competitivitatii intreprinderilor in era informationala, asigurand:
Pe plan mondial, comertul electronic nu mai este o simpla activitate care concentreaza doar eforturile intreprinderilor, aflate in competitia de a castiga noi clienti si de a raspunde cat mai bine exigentelor acestora. In prezent, comertul electronic a devenit o componenta principala a politicilor de dezvoltare economica ale guvernelor tarilor dezvoltate (SUA, Comunitatea Europeana, Japonia, etc.).
Prin masurile luate la nivel guvernamental de catre tarile puternic industrializate in vederea stabilirii unor reglementari unice in ceia ce priveste realizarea tranzactiilor comerciale pe suport electronic, Comertul Electronic a devenit o componenta fundamentala a comertului mondial.
Accesibilitatea tehnologiilor informationale legate de Internet, costul scazut al acestora, precum si relativa independenta de tehnologiile clasice, toate acestea permit economiilor tarilor mai putin dezvoltate si agentilor economici din aceste tari o integrare rapida in acest nou domeniu de activitate.
Din pozitia cumparatorului avantajele sunt legate de:
Din punctul de vedere al companiilor ce utilizeaza comertul electronic ,se disting urmatoarele avantaje:
monitorizarea comportamentului consumatorului prin verificarea paginii si a optiunilor pe care a mers acesta;
evaluarea corecta a campaniilor de promovare, ceea ce implica dezvoltarea unui plan efectiv si receptiv al comunicarii promotionale;
actualizarea online a informatiilor despre produse si preturi
scurtarea perioadei de timp necesara pentru lansarea pe piata a unui nou produs.
Dezavantajele comertului electronic:
Principalele bariere de utilizare a Internetului pentru comertul electronic sunt:
costuri de conectare la Internet;
costurile cu achizitia/upgrade-ul hardware-ului si software-ului;
costurile pe care le presupune numarul de ore lucrate pentru instalarea sistemului;
costurile cu intretinerea sistemului.
Pentru a elimina aceste neajunsuri in utilizarea Internetului pentru comertul electronic pot fi respectate urmatoarele recomandari:[8]
depistarea riscurilor securitatii asociate Internetului;
identificarea mijloacelor si tehnicilor pentru eliminarea riscurilor depistate;
cunoasterea legislatiei specifice tranzactiilor pe Internet;
Pentru a construi un sistem de e-commerce, din punct de vedere arhitectural este nevoie de colaborarea a patru componente (subsisteme electonice/informatice) corespunzatoare urmatoarelor roluri:
Client. Un echipament, clasic un PC, conectat direct prin intermediul uniu furnizor de internet(ISP) sau indirect, clientul facand parte dintr-o retea a unei corporatii cu acces la internet. Clientul foloseste acest echipament pentru a naviga si a face cumparaturi. Pentru o mai usoara cautare a unui magazin virtual ,clientul, foloseste Browser-ul. Cumparatorul poate primi mesaje pentru comfirmarea incheierii tranzactiei sau a unor informatii suplimentare prin intermediul postei electronice
Comerciant. Sistem informatic (hard & soft), situat de regula la sediul comerciantului, care gazduieste si actualizeaza catalogul electronic de produse disponibile a fi comandate on-line pe Internet.
Sistemul tranzactional. Sistemul informatic (hard & soft) responsabil cu procesarea comenzilor, initierea platilor, evidenta inregistrarilor si a altor aspecte de business implicate in procesul de tranzactionare
Dispecer plati. (Payment Gateway). Sistem informatic responsabil cu rutarea instructiunilor de plata in interiorul retelelor financiar-bancare, cu verificarea cartilor de credit si autorizarea platilor; acest sistem joaca rolul unei porti care face legatura dintre reteaua globala Internet si subreteaua financiar-bancara (supusa unor cerinte de securitate sporite), poarta prin care accesul este controlat de un 'portar' (gatekeeper); pe baza informatiilor specifice cartii de credit (tip_card, nr_card) din instructiunile de plata 'portarul' redirecteaza informatia catre un centru de carduri (CC - un server certificat in acest scop si agreat de banca emitenta); in acest loc este identificata banca care a emis cardul iar instructiunile de plata sunt trimise mai departe catre serverul acestei banci conectat in reteaua interbancara; odata informatiile ajunse in reteaua bancii cu care lucreaza cumparatorul, sunt efectuate (automat) o serie de verificari privind autenticitatea si soldul disponibil in contul cardului implicat in tranzactie; in functie de rezultatul acestor verificari, banca decide fie efectuarea platii (transfer bancar - catre contul comerciantului care poate fi deschis la orice alta banca), fie refuza sa faca aceasta plata. In ambele cazuri, rezultatul deciziei (confimare plata sau refuz) este trimis in timp real, parcurgand acest lant de servere in sens invers, catre client. Cu alte cuvinte, in cateva secunde cumparatorul afla daca banca sa a operat plata sau nu. '
Transmiterea si primirea mesajelor si a datelor
Datele transferate prin Internet sunt divizate in parti numite pachete, transmise unul cate unul si reasamblate la destinatar. Sarcina de reasamblare revine receptorului, cu ajutorul unor aplicatii specializate. Fiecare pachet include un header cu metadate, cum ar fi:
Transmiterea si receptionarea mesajului in aceasta forma sunt redate in fig.1.1

Fig. 1.1 Transferul datelor pe Internet
Exista doua forme de interactiune pe Internet:
Formularea cererilor si primirea raspunsurilor
Exista doua modalitati de interactiune pentru a formula cereri si a primi raspunsuri:
apeland la un browser Web pentru transmiterea cererilor si primirea raspunsurilor de la un server Web, sub forma unor copii ale unor fisiere (pagini Web) existente pe server.
apeland la o aplicatie de baze de date, cererea se poate concretiza intr-o interogare pentru obtinerea unor date din baza de date, in functie de anumite criterii de selectie. Serverul de baze de date raspunde printr-o copie a datelor ce raspund parametrilor specificati in cererea de interogare.
Responsabilitatea modului de formulare a cererii si de afisare a rezultatelor obtinute de serverul Web sau de baze de date revine browser-ului sau aplicatiei ce lucreaza cu baza de date.
Tranzactiile
Din punct de vedere al interactiunii pe Internet, tranzactia este un set de operatiuni care modifica continutul unui fisier sau fisiere si/sau date.
Fiecare tranzactie trebuie sa aiba proprietatile ACID, adica sa fie:
Pentru a finaliza o tranzactie, fie intregul set de operatiuni care sta la baza ei trebuie executat, fie nici una din ele nu trebuie realizate. In terminologia bazelor de date, o tranzactie este setul de operatiuni care, in final, fie este comisa (commit), fie anulata (roll back).
Exemplu:
Transferul bancar. Banii se scad din soldul unui cont si sunt adaugati in altul.
Daca scaderea da gres, atunci valoarea nu trebuie adaugata nici in celalalt cont. Sau invers, daca adaugarea unei sume intr-un cont esueaza, deducerea nu trebuie sa aiba loc.
Transferul bancar, ca set de operatiuni, poate arata astfel:
Begin Transaction
Deduct from account #1
If Error Then
Rollback Transaction
Else
Add to account #2
If Error Then
Rollback Transaction
Else
Commit Transaction
End If
Internet, Intranet, Extanet
Internetul este o retea formata din mii de LAN-uri, WAN-uri si noduri de retele (calculatoare si alte dispozitive atasate retelelor).
Un Intranet este un Internet privat ce apartine unei organizatii sau firme. Foloseste standardele tehnologiei Internet pentru a oferi o larga varietate de informatii salariatilor.
Un Intranet este alcatuit dintr-un LAN al firmei, protejat de lumea exterioara printr-un firewall. In figura 1.2 este prezentata configuratia tipica pentru un Intranet.

Fig1.2 Configuratia Intranetului
Extranetul este un Intranet extins. El ofera posibilitatea accesarii externe a Intranetului. Astfel, folosind un browser Web, angajatii, partenerii de afaceri pot sa obtina accesul la datele si aplicatiile interne ale unei organizatii, pe baza unui protocol stabilit intre cei care au nevoie de mpartirea informatiilor.Configuratia uzuala pentru un Extranet este redata in figura 1.3

Fig. 1.3 Configuratia Extranetului
Arhitectura client/server
Client/server este conceptul de baza ce face posibila functionarea Web-ului pe Internet. In figura 1.4 este prezentata arhitectura de baza client/server.
In sistemele client/server, un client transmite o cerere si parametrii acesteia catre server.
Serverul proceseaza cererea si o satisface, daca este posibil, transmitand raspunsul la client.
In mod obisnuit, clientul este cel care afiseaza si prelucreaza local datele, aduse si manipulate prin intermediul serverului.

Fig. 1.4 Arhitectura client/server
Clientul este un program ce solicita servicii de la un alt program (serverul). Platforma client pe care ruleaza programul este, de obicei, un dispozitiv de tip desktop. Softul de tip browser Web este un program client ce ruleaza pe o platforma client. Browserul interpreteaza limbajul HTML si afiseaza textul sau graficele care rezulta in cadrul ferestrei browserului.
Serverul este un program care ofera servicii clientilor ca raspuns la solicitarile lor.
Platformele server variaza foarte mult, cum ar fi Win NT, Unix si platforme proprietare (OS/390). Software-ul de server Web are nevoie de spatiu suficient pentru memorarea paginilor Web.
Provideri de servicii Internet si tipuri de servicii
Toate site-urile Web sunt sprijinite printr-un numar variat de servicii. Totul pleaca chiar de la primul pas al dezvoltarii unei pagini Web, respectiv faptul ca aceasta poate fi implementata de catre proprietarul site-ului sau un provider de servicii.
ISPs (Internet Service Providers)
Providerii de Servicii Internet sunt firme ale caror principal obiect de activitate il constituie oferirea accesului la Internet. Pentru aceste servicii, providerii percep tarife, care apar, de obicei, sub forma subscriptiilor lunare si variaza in functie de tipul serviciului oferit.
Serviciile de baza pe care le pot oferi providerii de Internet sunt:
Dar, o data cu noile tendinte aparute in zona afacerilor electronice, providerii au inceput sa ofere si alte servicii specifice, cum ar fi:
Accesul la Internet
Exista patru modalitati de baza pentru accesarea Internetului, fiecare avand costuri si performante diferite, dupa cum urmeaza:
Acestea sunt fie conectate direct la Internet, fie printr-un provider. Calculatoarele au acces constant la Internet, cu performante foarte bune.
Conectarea la Internet
Exista trei mijloace de obtinere a conexiunii pentru Internet, si anume:
Serviciile Internet
Asa cum am observat, sunt mai multe servicii Internet, ele diferentiindu-se in functie de tipul conexiunii existente, de nevoile utilizatorilor, precum si de resursele disponibile. Pentru a sti cum lucreaza fiecare serviciu este necesar sa se cunoasca posibilitatile de implementare ale acestora.
Implementarea serviciilor Internet
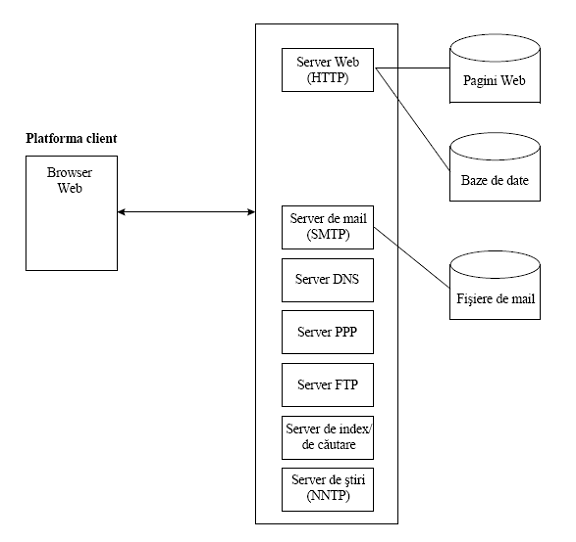
Cele mai importante si mai utilizate servicii ale Internetului sunt e-mailul si Web-ul. Fiecare serviciu este implementat prin unul sau mai multe programe. Toate serviciile pot fi alocate unei singure platforme Web (calculatorul), asa cum rezulta si din figura1.5, sau mai multor platforme.

Fig1.5 Implementarea unui serviciu Internet
Desi in figura apare doar o singura platforma client, exista posibilitatea existentei mai multor platforme client care sa transmita sute de solicitari concurente (paralele, in acelasi timp). Serverul Web le receptioneaza si le acceseaza de pe discul pe care au fost memorate. Accesul se face in functie de solicitarea primita, fie de pe discul ce contine baza de date, fie de pe discul cu paginile Web.
In mod similar, serverul de posta citeste si scrie fisierele de mesaje de pe si pe disc. Bineinteles, poate fi un singur disc care sa pastreze paginile Web, bazele de date si fisierele sau pot fi discuri multiple pentru fiecare tip, in functie de cantitatea de informatii ce trebuie memorata si vehiculata si de capacitatea discurilor de stocare
Descrierea serviciilor Internet
Posta electronica.Serverul de e-mail este folosit pentru pastrarea conturilor de e-mail ale utilizatorilor. El poate fi un server dedicat pentru acest serviciu sau un nod al retelei locale. Posta electronica functioneaza in conformitate cu protocolul SMTP (Simple Mail Transfer Protocol), care reglementeaza modul de transport al mesajelor intre sursa si destinatie. Functionarea postei electronice presupune existenta urmatoarele entitati:
Sistemul de transfer al fisierelor
Sistemul de transfer al fisierelor permite copierea fisierelor intre doua noduri ale unei retele, vizualizarea continutului directoarelor existente pe nodurile aflate la distanta, stergerea unor fisiere s.a. Fisierele pot sa contina programe sursa, date, texte informative s.a. Programul care realizeaza aceasta functie este FTP File Transfer Protocol), destinat transferului de fisiere de pe un calculator pe altul, indiferent de locul de dispunere al acestora, de modul de conectare sau de sistemul de operare cu care se lucreaza, ca si in cazul e-mailului. FTP transfera doua categorii de fisiere:
Exista mai multe categorii de transferuri prin FTP, si anume:
Serverele HTTP (HyperText Transfer Protocol)
Serverele HTTP sunt utilizate pentru site-urile Internet si Intranet in vederea afisarii documentelor HTML, a fisierelor asociate si a scripturilor, cand sunt solicitate de client. Mai sunt cunoscute si sub numele de servere Web.
De fapt, World Wide Web-ul se bazeaza pe servere HTTP. Termenul WWW este utilizat gresit cu sensul de Internet. WWW are doua mari semnificatii:
USENET, Gopher si alte instrumente asemanatoare;
clipurilor audio, imaginilor s.a.
Cu alte cuvinte, este vorba despre un serviciu care ofera posibilitatea cautarii informatiei in intregul spatiu Internet (World Wide) si folosirea tehnicilor hypertext in organizarea informatiei pentru navigarea cu usurinta de la un obiect la altul. Hypertextul este o metoda de organizare a informatiei in care anumite cuvinte dintr-un document sunt marcate pentru a fi legate de alte documente, ce contin informatii suplimentare. In hypermedia, legaturile se pot face si la grafice, imagini, clipuri audio si video. Metoda este asociata cu un mod specific de prezentare a informatiei, in care cuvintele marcate sunt evidentiate printr-un format de afisare diferit de restul documentului. Selectia unui astfel de cuvant are ca efect afisarea documentului care a fost legat de el. Arhitectura serviciului WWW se bazeaza pe modelul client/server. Clientul permite utilizatorului sa navigheze (browsing) documente locale sau situate pe alte noduri de pe Internet. De aceea, el este denumit si program de explorare sau, pe scurt, de navigare (browser). Clientii WWW dialogheaza cu serverele Web prin protocolul HTTP (HyperText Transfer Protocol). HTTP este protocolul folosit pentru transferul documentelor hypertext intre serverul Web (pe care sunt plasate documentele) si client. El are o functionare destul de simpla. Ca urmare a selectarii de catre utilizator a unui cuvant marcat, clientul determina adresa documentului, stabileste o conexiune cu un server Web si ii transmite o cerere in care specifica adresa identificata. Serverul, la randul sau, transmite continutul documentului solicitat, dupa care inchide conexiunea.
Pentru crearea si recunoasterea documentelor, WWW foloseste un limbaj specific, HTML (HyperText Markup Language), DHTML (Dynamic HyperText Markup Language), care stabilesc modul de afisare a elementelor de tip text, cum ar fi paragrafe, liste s.a., sau XML (eXtensible Language Markup) pentru crearea legaturilor cu bazele de date.
Alte tipuri de servicii
De mare utilitate sunt si urmatoarele servicii:
Componentele de baza ale Internetului pentru comertul electronic
Componentele esentiale pentru comertul electronic pe Internet sunt: retelele; programele de e-mail; browserele Web; serverele Web.
Retelele
Platformele client si server trebuie sa fie conectate la o retea care suporta protocolul TCP/IP. Majoritatea sistemelor de operare vin cu TCP/IP-ul instalat.
Interfetele de retea trebuie sa fie instalate atat pe server, cat si pe client. De obicei, acestea sunt cartele de retea Ethernet, huburi, switch-uri si routere. Sunt echipamentele pentru conexiuni directe. In cazul utilizarii conexiunii de tip dial-up, softul PPP este folosit pentru a transforma portul serial al calculatorului si modemul intr-o interfata de retea. Important pentru retele si pentru viteza de transmisie sunt tipurile de conexiuni si latimea de banda, diferentiate in functie de modul de conectare la Internet, de provider si de serviciile solicitate acestuia.
Alaturi de retea, ca si configuratie de calculatoare, principala componenta a Internetului prin care se administreaza traficul poarta numele de backbone, care utilizeaza cai multiple de transmisie, cu viteze diferite si tipuri de conexiuni variate, in functie de marimea retelei care se leaga la el. Backbone-ul este, de fapt, o linie sau o serie de conexiuni care formeaza canalul principal de transmisie al retelei.
Programele de e-mail
Sunt instrumente folosite pentru citirea, transmiterea si gestiunea mesajelor electronice. Cele mai utilizate sunt Microsoft Outlook, Netscape Navigator si Eudora Mail. Posta electronica presupune utilizarea unui server de e-mail si a unui client. De obicei, utilizatorul va scrie un mesaj apeland la un client de mail si apoi il va trimite catre receptor. Mesajul va ajunge initial la server, care este capabil sa acceseze resursele Internet pentru a directiona mesajul catre destinatar. In cele mai multe cazuri, serverul si clientii de mail folosesc protocolul SMTP (Simple Mail Transfer Protocol) pentru transfer. Multe protocoale de mail pe Internet au o serie de trasaturi de baza folosite la transmiterea mesajelor, dar care sacrifica viteza de transmisie sau alte avantaje oferite de sistemul de mesaje al unei retele obisnuite si chiar ale Internetului. Una din aceste trasaturi o constituie criptarea informatiilor, cum ar fi numele utilizatorului si a parolei de autentificare.
Browserele Web
Utilizatorii pot localiza informatiile pe Internet prin doua modalitati:
1. scrierea URL-ului paginii de baza de pe Internet, care contine legaturi hypertext cu alte informatii de pe Internet;
2. utilizarea unui motor de cautare pentru gasirea informatiilor folosind cuvinte cheie.
Browserele Web trimit solicitari serverului Web ce contine URL-ul paginii cerute. Serverul pune la dispozitia browserului pagina, supusa unei interpretari a HTML-ului primit, pentru a-i afisa continutul. Cel care trebuie sa conceapa continutul unei pagini Web va crea un fisier HTML, in diferite moduri si anume:
Paginile Web sunt fisiere de tip text, scrise in html, ce contin etichete prin care se defineste continutul ce va fi afisat, respectiv text, imagine, tabele s.a. In tabelul 2.1 sunt prezentate etichetele HTML cele mai utilizate.
Serverele Web
Serverul Web raspunde solicitarilor URL-ului si localizeaza pagina Web, iar in functie de solicitare ofera ca raspuns pagini Web statice sau dinamice.
Pagini Web statice
Aceasta categorie de pagini Web este o metoda traditionala de interactiune pe Web. Utilizatorul selecteaza un URL si face click pe hyperlink-ul afisat pe pagina Web pentru a incarca o noua pagina. Pagina Web solicitata este un fisier de pe discul serverului. Serverul incarca in memorie pagina, o codeaza pentru a putea fi transmisa prin HTTP si o trimite clientului. La client, pagina solicitata este afisata exact cum este memorat fisierul pe server.
Pagini Web dinamice
Continutul dinamic al unei pagini presupune existenta scripturilor sau unor programe oferite de providerul Internet. Mecanismele comune de realizare a scripturilor sunt Common Gateway Interface (CGI), Java servlets, Microsoft Active Server Pages (ASP).
Pasii parcursi in aceste conditii sunt:
1. utilizatorul invoca o pagina Web de la server, ce contine un form;
2. utilizatorul completeaza form-ul si il transmite, moment in care informatiile sunt trimise serverului, apeland la protocolul HTTP;
3. serverul Web apeleaza la scriptul CGI sau Java servlet, care se executa pe o platforma
server;
4. scriptul sau servletul prelucreaza datele din form si transmite rezultatele serverului Web, care, la randul lui, le returneaza browserului Web pentru a fi afisate.
Scriptul sau servletul poate avea nevoie sa acceseze o baza de date pentru a scrie date din
formular sau pentru a citi date, in functie de elementele solicitate prin form. Rezultatele se constituie intr-o pagina Web dinamica, ce nu poate fi anticipata, pentru ca depinde de rezultatele obtinute in urma executarii scriptului sau servletului.
Cele mai utilizate produse server Web sunt:
Servere de aplicatii pentru Web
In loc de a dezvolta scripturi CGI sau servleturi necesare accesarii unei baze de date se pot folosi servere dedicate de aplicatii. Aplicatiile ruleaza pe o platforma server si comunica cu serverul Web.
Pasii care se parcurg in aceste conditii sunt:
1. browserul client transmite o cerere catre serverul Web;
2. serverul Web invoca serverul de aplicatii si transmite datele din form;
3. serverul de aplicatii citeste datele primite si interogheaza baza de date;
4. rezultatele obtinute sunt formatate in HTML si returnate clientului. Exista, de obicei, un template preconfigurat care defineste formatul pentru rezultate.
Concluzii cu privire la infrastructura comertului electronic
Aplicatiile care fac parte din comertul electronic depind de insfrastructura, in special de retelele disponibile, asa cum rezulta din fig. 1.6.

Fig 1.6 Aplicatiile si infrastructura comertului electronic
Principala componenta o constituie infrastructura de retea, care cuprinde mijloacele necesare transferului de informatii, adica Internet, televiziune prin cablu, retele de telecomunicatii si retele private ale firmelor. Insa, sunt necesare si alte elemente de infrastructura, asigurate in interiorul firmelor, si anume:
Pe langa infrastructura fizica, comertul electronic are nevoie de componente software atat la dispozitia furnizorului, cat si a clientului. Astfel, facand o sinteza a aspectelor prezentate anterior, in arhitectura software se regasesc urmatoarele componente, redate si in figura 1.7

Fig. 1.7 Arhitectura software a comertului electronic
Consideratii privind securitatea infrastructurii comertului electronic
O data cu utilizarea exploziva a Internetului si cu utilizarea din ce in ce mai mult a comertului electronic, securitatea a devenit unul din aspectele cele mai importante. Mass media a constientizat publicul asupra existentei utilizatorilor rau voitori care intra pe retelele guvernamentale si ale firmelor, furand sau modificand datele.
Amenintarile securitatii
Exista mai multe surse care se constituie in amenintari ale securitatii. Metodele de atac sunt:
Asupra datelor rezidente intr-o retea interna trebuie sa li se asigure urmatoarele trei elemente de securitate:
Se intalnesc doua categorii mari de atacuri:
1. externe care pot sa apara sub diverse forme, si anume:
2. interne, care pot lua multe din aceleasi forme ale atacurilor externe. Totusi, ele sunt mai putin puternice din moment ce este mult mai usor sa se ia masuri punitive impotriva
salariatilor care le cauzeaza.
Mecanisme de securitate
Exista mai multe modalitati de asigurare a securitatii retelelor interne si, implicit, a datelor, respectiv:
Controlul accesului
Controlul accesului poate fi realizat prin urmatoarele modalitati:
Securitatea in HTTP
Protocolul HTTP ofera cateva niveluri minime de control al accesului la resursele unui server Web. Utilizatorii sunt asignati unor niveluri de securitate care au acces diferit la resursele serverului. Serverul Web intretine o baza de date cu aceste privilegii. Cand un utilizator solicita o informatie din zone restrictionate ale serverului, serverul va initia un dialog pentru client. Browserul client afiseaza acest dialog, sub forma unui prompter pentru un User ID si pentru o parola. Dupa ce utilizatorul introduce aceste informatii, ele sunt transmise la server, care verifica validitatea informatiilor, comparandu-le cu cele existente in baza de date. Daca in urma dialogului rezulta ca informatiile sunt reale, serverul ofera serviciile solicitate de client.
Pentru a asigura integritatea User ID si a parolei transmise, raspunsurile fizice sunt descompuse in mai multe parti reasamblate la destinatie. Cu ajutorul acestora, campul parola este criptat. Criptarea converteste datele intr-un format ilizibil, folosind un algoritm de criptare matematic. Procesul invers, decriptarea, returneaza datele in formatul lor original la destinatie.
Criptarea
Criptarea ofera doua garantii deosebit de utile pentru continutul mesajelor transmise: protectia si autentificarea. Din punct de vedere al transmiterii, datele sunt codificate folosind un algoritm matematic, bazat pe o valoare a unei anume chei. Mesajul criptat nu este reasamblat in forma originala a datelor in orice mod. Din punct de vedere al receptorului, mesajul este decodificat in formatul original, folosind din nou un algoritm matematic si o cheie.
Exista doua tipuri de criptare: cu cheie privata si cu cheie publica.
Atunci cand se foloseste o cheie privata, expeditorul si receptorul folosesc aceeasi cheie
secreta pentru a cripta si decripta mesajul. Este imposibil sa se trimita un mesaj secret unei persoane daca acea persoana nu detine cheia, cu alte cuvinte comunicarea trebuie sa aiba loc pe baza unor intelegeri prealabile intre expeditor si receptor.
Criptarea cu cheie privata a inceput sa-si faca aparitia in anii '70. Cu acest sistem, un proces matematic genereaza doua chei legate intre ele. Daca un mesaj este criptat cu prima cheie, cheia publica poate fi decriptata numai cu a doua cheie, care este o cheie privata. Astfel, mesajul este criptat folosind cheia publica, stiuta de receptor, decriptandul cu ajutorul propriei chei private. Avantajul acestei metode decurge din faptul ca orice cheie publica poate fi facuta disponibila oricui, din moment ce orice mesaj criptat cu ea poate fi decriptat numai cu o cheie privata. Criptografia cu ajutorul cheii publice ofera si posibilitatea de a semna mesajele sub forma semnaturilor digitale.
Cheile publice sunt, in general, actualizate de catre o autoritate de certificare, care verifica identitatea fiecarui utilizator cand are loc o tranzactie. Criptografia cu cheie publica a devenit foarte importanta pentru Web, ca si controalele care sunt parte a paginilor Web ce pot fi semnate pentru a verifica sursa de origine si validitatea codului. Acest lucru inseamna ca site-urile pot respinge controalele nesemnate in momentul in care se incearca realizarea de download-uri, pentru ca ele nu pot fi verificate si pot contine virusi sau alte amenintari.
Algoritmi de criptare cu cheie privata
Security si permit chei cu lungimi de la 1 la 1024 biti;
Algoritmi de criptare cu cheie publica
decriptarea informatiilor numai prin cunoasterea cheii private. Este adesea folosit pentru
semnaturile digitale si este una din cele mai puternice forme de criptografiere cu cheie
publica a datelor calendaristice.
Optiuni de criptare
Implementarea criptarii intr-un Intranet poate sa solicite ajutorul unui expert in securitate.Daca site-ul urmeaza sa fie implicat in comertul electronic, atunci se impune sa se foloseasca una sau mai multe optiuni de criptare pentru asigurarea securitatii informatiilor clientilor, cum ar numerele de la credit carduri. Aceste optiuni includ:
proiectat initial de Netscape, inclus acum, sub diferite forme, de majoritatea serverelor si
browserelor Web;
Distributed Computing Environment (DCE). Kerberos a fost proiectat pentru a oferi autentificarea si criptarea asupra modificarilor efectuate de clienti si servere. El asigura o puternica autentificare intr-un mediu distribuit;
autentificare folosit pentru a verifica utilizatorii de pe Internet. El sprijina cateva
implementari ale tenhologiei smart cardurilor;
Kestenboum, M.I,. Srtaight, RL. - "Papperless grants via the internet", in Public Administration Revew, 1996 56(1), pp. 114 - 120.
Nath, R, Akmanligil, M, Hjelm, K, Sakaguchi, T, Shultz, M, - "Electronic commerce and the Internet : Issues, Problems and Perspectives", in InternationalJournal of Information Management,vol.18, No.2, 1998, pp.91-101
Firewall-ul asigura controlul accesului bazat pe pachete de date care sunt transmise intre doua parti sau dispozitive ale retelei. Prin asigurarea unui singur punct de control pentru securitatea uni retele, firewall-ul poate asigura protectia importiva atacurilor asupra aplicatiilor sau protocoalelor individuale sau a demascarii celor care intra pe retea sub acoperirea cuiva care are acces. In schimb, firewallul nu ofera posibilitati de autentificare si nici de protejare a retelei impotriva virusilor.
|
Politica de confidentialitate | Termeni si conditii de utilizare |
Vizualizari: 4463
Importanta: ![]()
Termeni si conditii de utilizare | Contact
© SCRIGROUP 2025 . All rights reserved